电脑桌面
添加小米粒文库到电脑桌面
安装后可以在桌面快捷访问

投标服务方案模版

投标服务方案模版_第1页
1/9
投标服务方案模版_第2页
2/9
投标服务方案模版_第3页
3/9
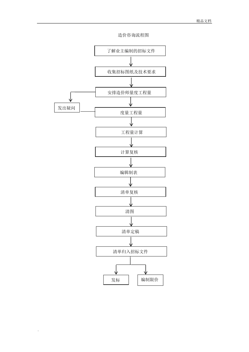
精品文档 . 一、总体服务方案 1.造价咨询流程 造价咨询服务工作的一般程序可划分为工作前期准备、工作开展、提交成果文件三个阶段: 1.1 工作前期准备 (1)接受委托中介机构与委托方签订协议或合同,接受委托。 (2)认真研究项目的相关资料在合同签订之后,中介机构应尽快认真而详尽地研究有关资料,包括项目的背景材料、国家的相关法规、项目的有关文件、以及与项目相关的其他情况资料。 (3)建立咨询项目组中介机构及时构建“咨询项目部”,并进行团队工作职责任务分工。 1.2 组织工作开展 (1)组织实施项目组成员根据大纲的要求,按照各自分工,完成相关的工作任务并认真进行组织与协调工作。在各相关部分工作完成的基础上,造价工程师进行必要的系统性的组合与优化工作,并对出现的差异部分进行修正,以此作为基本工作成果。 (2)沟通与调整为使造价咨询成果较好地符合委托方的要求,满足委托方的需要,在工作开展过程中,项目组必须与委托方经 常 进行必要的沟通。在沟通中重 点 解 决 以下 二 方面的问 题 : (a)原 委托合同签订过程中委托方提供 的情况与企 业 实际 情况的差异,为此造价工程师采 取 的措 施及工作安 排 和 工作量 变 化,以及可能 产 生 的时间 变 化等 ; (b)造价咨询工作成果与委托方期望 结 果之间 存 在的差异,差异产 生 的原 因 等 ; (c)造价工程师将 造价咨询成果的主 要依 据、问 题 、基本意 见 等 与委托方等 相关单 位进行交流,听 取 相关各方有无 不 同意 见 ,并根据具 体情况,决 定 是 否 对造价咨询意 见 进行必要的补 充 和 调整。 1.3 提交造价咨询成果 (1) 交付 项目成果在以上工作的基础上,造价机构按双 方协议好的方式 ,将 造价成果文件正式 交予 委托方,委托方对成果文件进行签收 。对于 全 过程造价工作,造价工程师应当 在造价造价工作结 束 时完成全 面 的总结 报 告 ,按规定 报 送 有关方面 。 精品文档 . (2) 总结性工作造价成果交付委托方后,造价造价机构要进行必要的造价咨询工作总结,包括工作经验和教训等。同时对一些资料、文本等进行归档。 (3) 回访造价机构在适当的时候,对委托方要进行必要的回访,一方面了解造价咨询成果的实际效果,同时也是听取委托方对造价咨询工作的意见,以利于今后造价咨询工作的开展。 造价工程师的上述工作内容是相互关联的,...

1、当您付费下载文档后,您只拥有了使用权限,并不意味着购买了版权,文档只能用于自身使用,不得用于其他商业用途(如 [转卖]进行直接盈利或[编辑后售卖]进行间接盈利)。
2、本站所有内容均由合作方或网友上传,本站不对文档的完整性、权威性及其观点立场正确性做任何保证或承诺!文档内容仅供研究参考,付费前请自行鉴别。
3、如文档内容存在违规,或者侵犯商业秘密、侵犯著作权等,请点击“违规举报”。

碎片内容

投标服务方案模版

您可能关注的文档

确认删除?
VIP
微信客服
  • 扫码咨询
会员Q群
  • 会员专属群点击这里加入QQ群
客服邮箱
回到顶部