电脑桌面
添加小米粒文库到电脑桌面
安装后可以在桌面快捷访问

机械制图第10章装配图

机械制图第10章装配图_第1页
1/15
机械制图第10章装配图_第2页
2/15
机械制图第10章装配图_第3页
3/15
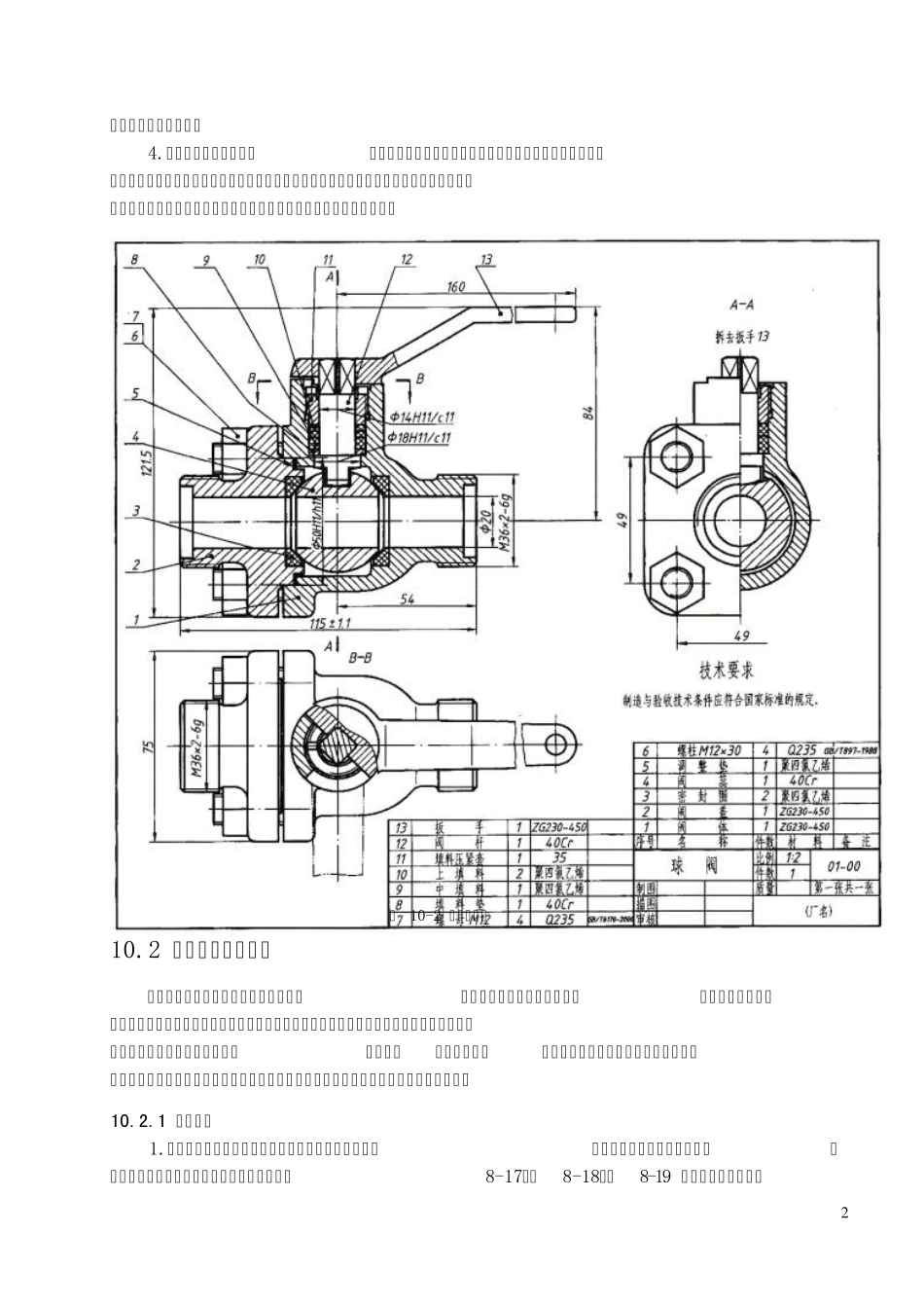
1 第10章 装配图 10.1 装配图概述 任何机器都是由若干个零件按一定的装配关系和技术要求装配起来的。图10-1 是球阀的轴测装配图,由13 个零件组成。图10-2 是表示球阀的装配图,这种用来表达机器或部件的图样,称为装配图。 10.1.1 装配图的作用 装配图主要表达机器或部件的结构形状、装配关系、工作原理和技术要求等内容。设计时,一般先画出装配图,再根据装配图绘制零件图;装配时,则根据装配图把各零件装配成部件或机器;同时,装配图又是安装、调试、操作和检验机器或部件的重要参考资料。由此可见,装配图是生产中主要的技术文件之一。 图 10-1 球阀的轴测装配图 1—阀体 2—阀盖 3—密封圈 4—阀芯 5—调整垫 6—螺杆 7—螺母 8—填料垫 9—中填料 10—上填料 11—填料压紧套 12—阀杆 13—扳手 10.1.2 装配图的内容 1.一组视图 用一组视图表达机器或部件的工作原理、零件间的装配关系、连接方式,以及主要零件的结构形状。如图10-2 球阀装配图中的主视图采用全剖视,表达球阀的工作原理和各主要零件间的装配关系;俯视图表达主要零件的外形,并采用局部剖视表达扳手与阀体的连接关系;左视图采用半剖视,表达阀盖的外形以及阀体、阀杆、阀芯间的装配关系。 2.必要的尺寸 用来标注机器或部件的规格尺寸、零件之间的配合或相对位置尺寸、机器或部件的外形尺寸、安装尺寸以及设计时确定的其它重要尺寸等。 3.技术要求 说明机器或部件的装配、安装、调试、检验、使用与维护等方面的技术要 2 求,一般用文字写出。 4.序号、明细栏和标题栏 在装配图中,为了便于迅速、准确地查找每一零件,对每一零件编写序号,并在明细栏中依次列出零件序号、名称、数量、材料等。在标题栏中写明装配体的名称、图号、比例以及设计、制图、审核人员的签名和日期等。 图 10-2 球阀装配图 10.2 装配图的表达方法 第九章中介绍的机件的各种表达方法,在装配图的表达中同样适用。但由于机器或部件是由若干个零件组成,装配图重点表达零件之间的装配关系、零件的主要形状结构、装配体的内外结构形状和工作原理等。国家标准《机械制图》对装配体的表达方法作了相应的规定,画装配图时应将机件的表达方法与装配体的表达方法结合起来,共同完成装配体的表达。 10.2.1 规定画法 1.相邻两零件的接触面或基本尺寸相同的轴孔配合面,只画出一条线表示公共轮廓。间隙配合即使间隙较大也必须画出一条线。如图8-17、图8-18、...

1、当您付费下载文档后,您只拥有了使用权限,并不意味着购买了版权,文档只能用于自身使用,不得用于其他商业用途(如 [转卖]进行直接盈利或[编辑后售卖]进行间接盈利)。
2、本站所有内容均由合作方或网友上传,本站不对文档的完整性、权威性及其观点立场正确性做任何保证或承诺!文档内容仅供研究参考,付费前请自行鉴别。
3、如文档内容存在违规,或者侵犯商业秘密、侵犯著作权等,请点击“违规举报”。

碎片内容

机械制图第10章装配图

小辰+ 关注
实名认证
内容提供者

出售各种文档和资料

确认删除?
VIP
微信客服
  • 扫码咨询
会员Q群
  • 会员专属群点击这里加入QQ群
客服邮箱
回到顶部