电脑桌面
添加小米粒文库到电脑桌面
安装后可以在桌面快捷访问

校园安全维稳工作领导小组

校园安全维稳工作领导小组_第1页
1/32
校园安全维稳工作领导小组_第2页
2/32
校园安全维稳工作领导小组_第3页
3/32
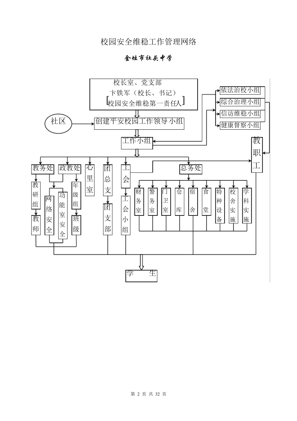
第 1 页 共 3 2 页 校园安全维稳工作领导小组 金 坛 市 社 头 中 学 组 长:卞铁军(校园安全维稳第一责任人) 副组长:吴志远(具体负责依法治校、综合治理、健康督察的工作) 滕为青(具体负责创建平安校园、信访维稳的工作) 组 员:王月平 秦国荣 戴建民 孔建忠 于 辉 陈云岗 华永俊 各班主任 各学科教研组组长 创建平安校园工作领导小组 组 长:卞铁军 副组长:吴志远 滕为青 组 员:王月平 秦国荣 戴建民 孔建忠 于 辉 陈云岗 华永俊 各班主任 各学科教研组组长 下设四个工作领导小组 一、依法治校小组: 组 长:卞铁军 副组长:吴志远 滕为青 组 员:王月平 秦国荣 孔建忠 各班主任 各学科教研组组长 二、综合治理小组: 组 长:卞铁军 副组长:吴志远 滕为青 组 员:王月平 秦国荣 孔建忠 于 辉 陈云岗 各班主任 各学科教研组组长 三、信访维稳小组: 组 长:滕为青 副组长:华永俊 组 员:王月平 陈云岗 陈荣华 黄凤英 四、健康督察小组: 组 长:吴志远 副组长:孔建忠 组 员:陈云岗 华永俊 各班主任 各学科教研组组长 第 2 页 共 3 2 页 校园安全维稳工作管理网络 金 坛 市 社 头 中 学 人校园安全维稳第一责任铁军(校长、书记)卞校长室、党支部小组创建平安校园工作领导社区工作小组依法治校小组综合治理小组信访维稳小组健康督察小组教务处政教处总务处组研教组级年师教级班部支团组小会工室里心支总团会工室务财室务警室卫门库仓舍宿堂食生学工职教全安络网全安室能功备设种特施实舍校施实科学 第 3 页 共 3 2 页 学校安全工作管理制度 为保证学校正常教学秩序,保护学生健康成长,确保校产不受损失,杜绝或尽量减少安全责任事故的发生,遵循“注意防范、自救互救、确保平安、减少损失”的原则,制订本管理制度。 1 .校长是学校安全工作的第一责任人,学校安全工作由校长领导下的安全工作领导小组负责。各处、室向领导小组负责,实行责任追究制。 2 .学校每月要对学生进行有关安全方面的知识教育,教育形式应多样化;每班每周应有针对性的对学生进行安全教育。要对学生进行紧急突发问题处理方法、自救互救常识的教育。紧急电话(如 1 1 0 、1 1 9 、1 2 2 、1 2 0 等)使用常识的教育。 3 .建立重大事故报告制度。校内外学生出现的重大伤亡事故一小时以内报告教育局;学生出走、...

1、当您付费下载文档后,您只拥有了使用权限,并不意味着购买了版权,文档只能用于自身使用,不得用于其他商业用途(如 [转卖]进行直接盈利或[编辑后售卖]进行间接盈利)。
2、本站所有内容均由合作方或网友上传,本站不对文档的完整性、权威性及其观点立场正确性做任何保证或承诺!文档内容仅供研究参考,付费前请自行鉴别。
3、如文档内容存在违规,或者侵犯商业秘密、侵犯著作权等,请点击“违规举报”。

碎片内容

校园安全维稳工作领导小组

确认删除?
VIP
微信客服
  • 扫码咨询
会员Q群
  • 会员专属群点击这里加入QQ群
客服邮箱
回到顶部