电脑桌面
添加小米粒文库到电脑桌面
安装后可以在桌面快捷访问

电力拖动教案接触器

电力拖动教案接触器_第1页
1/13
电力拖动教案接触器_第2页
2/13
电力拖动教案接触器_第3页
3/13
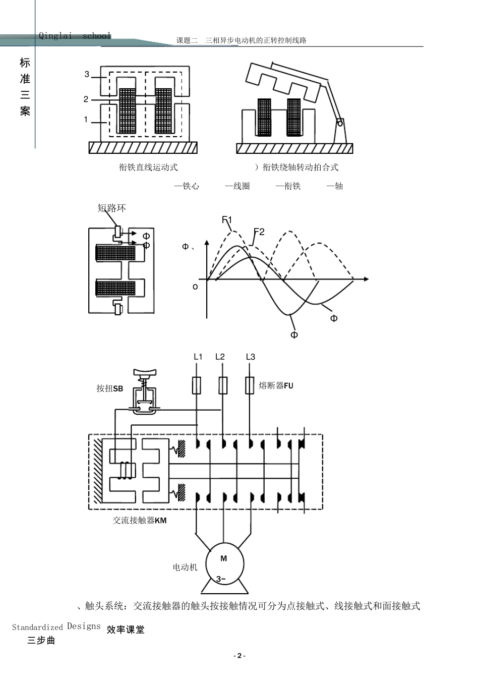
电力拖动控制线路与技能训练 - 1 - 效 率 课 堂 标准三案 Qinglai school 三步曲 Standardized Designs 课题四 接触器 一、教 案 【学习概要】 1、掌握接触器的用途、型号规格、文字与图形符号。 2、熟悉接触器的结构和工作原理。 3、掌握接触器的选用、安装和拆装维修方法。 【内容解析】 1、接触器概念 接触器是一种自动的电磁开关。 概念的理解:从特点、作用方面理解 特点:它能实现远距离自动操作和欠电压释放保护功能,而且具有控制容量大,工作可靠、操作频率高、使用寿命长等优点。 作用:适用于频繁地接通或断开交直主电路及大容量控制电路。 其主要对象是电动机,也可用于控制其他负载。 分类:按主触头通过的电流种类,分为交流接触器和直流接触器两种。 交流接触器型号及含义,文字与图形符号。 交流接触器的型号及含义、文字与图形符号CJ □□ — □□ /□接触器交流设计序号额定电流(A )线圈主触头 辅助常开、常闭触头KMKMKM 2、交流接触器的结构和工作原理 2.1、交流接触器的结构 交流接触器主要由电磁系统、触头系统、灭弧装置及辅助部件等组成(主电路部分和控制电路部分)。 A、电磁系统:主要由线圈、铁心(静铁心)和衔铁(动铁心)三部分组成。其作用是利用电磁线圈的通电或断电,将电能转换成机械能,使衔铁和铁心吸合或释放,从而带动动触头与静触头闭合或分断,实现接通或断开电路的目的。 课题二 三相异步电动机的正转控制线路 - 2 - 标准三案 Qinglai school Standardized Designs 效率课堂 三步曲 a)衔铁直线运动式 b)衔铁绕轴转动拍合式 1—铁心 2—线圈 3—衔铁 4—轴 B、触头系统:交流接触器的触头按接触情况可分为点接触式、线接触式和面接触式短路环 Φ 、F o F1 F2 Φ 2 Φ 1 Φ 2 Φ 1 熔断器FU 交流接触器KM 按扭SB M 3~ 电动机 3 2 1 L1 L2 L3 电力拖动控制线路与技能训练 - 3 - 效 率 课 堂 标准三案 Qinglai school 三步曲 Standardized Designs 三种,按触头的结构形式划分,有桥式触头和指形触头两种,按通断能力划分,可分为主触头和辅助触头。 C、灭弧装置:交流接触器在断开大电流或高电压电路时,在动、静触头之间会产生很强的电弧。电弧是触头间气体在强电场作用下产生的放电现象,电弧的产生,一方面会灼伤触头,减少触头的使用寿命;另一方面会使电路切断时间延长,甚至造成弧光短路或...

1、当您付费下载文档后,您只拥有了使用权限,并不意味着购买了版权,文档只能用于自身使用,不得用于其他商业用途(如 [转卖]进行直接盈利或[编辑后售卖]进行间接盈利)。
2、本站所有内容均由合作方或网友上传,本站不对文档的完整性、权威性及其观点立场正确性做任何保证或承诺!文档内容仅供研究参考,付费前请自行鉴别。
3、如文档内容存在违规,或者侵犯商业秘密、侵犯著作权等,请点击“违规举报”。

碎片内容

电力拖动教案接触器

您可能关注的文档

确认删除?
VIP
微信客服
  • 扫码咨询
会员Q群
  • 会员专属群点击这里加入QQ群
客服邮箱
回到顶部