电脑桌面
添加小米粒文库到电脑桌面
安装后可以在桌面快捷访问

建筑主体结构质量保证措施

建筑主体结构质量保证措施_第1页
1/25
建筑主体结构质量保证措施_第2页
2/25
建筑主体结构质量保证措施_第3页
3/25
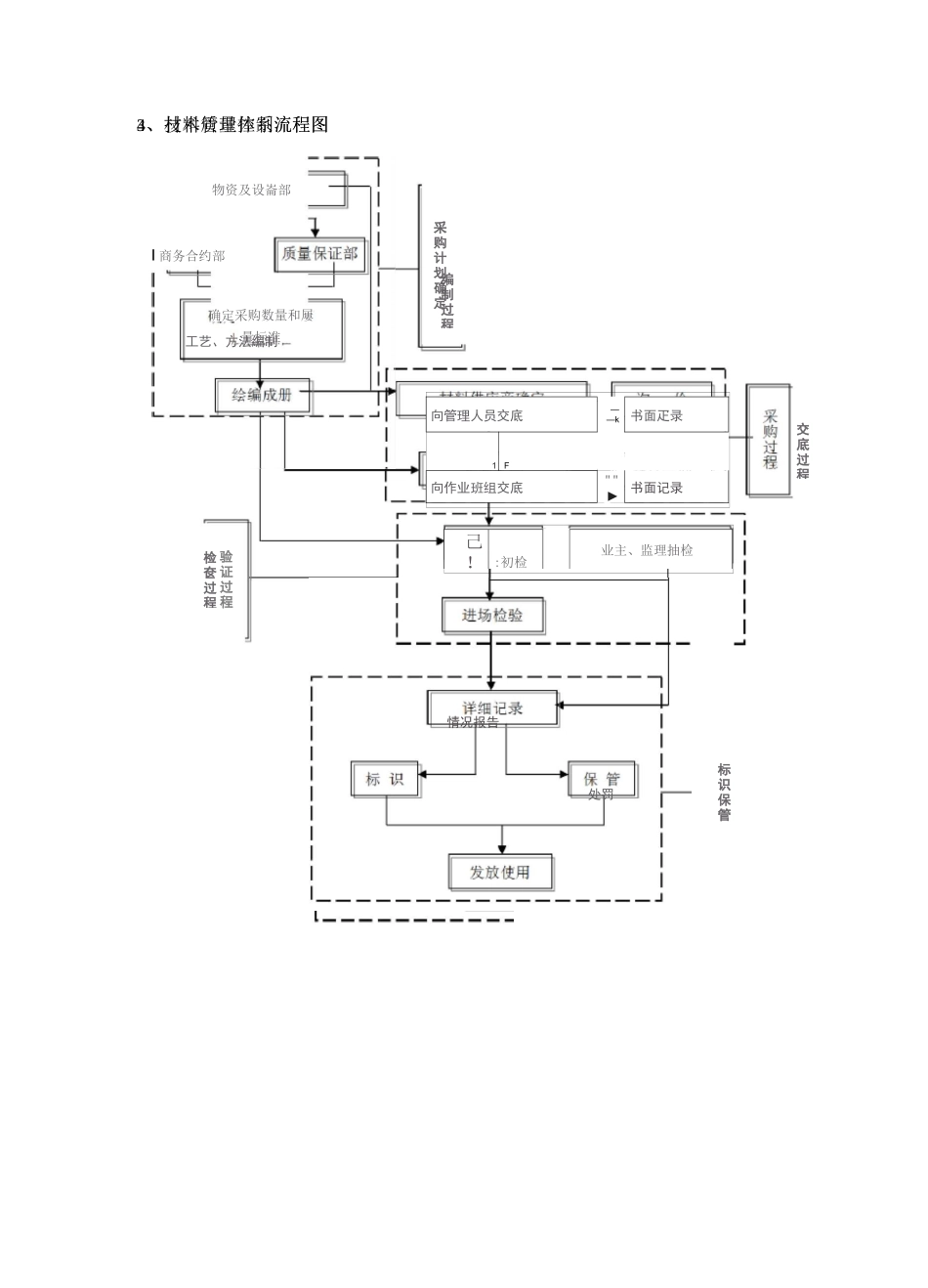
第一节建筑主体结构质量保证措施一、保证工程质量的项目管理制度一)质量管理体系运行1、质量管理体系图2、施工过程质量控制程W工序质量检验是否合格分项、分部工程质量检查是否合格是否关缝、特殊工序申请开工技术交底.明确质量要求及施工操作规程实现单位工程质量方针、目标对施工过程连续监控,及时反馈材料,半成品到场、验收合格•机械设备运转王常制定施工作业指导书+并组织施工按质量要求纠织施工业务培训,持证二岗工序完工返工或■返工或整修3、技术管理体系流程图编制过程工艺、方法編制情况报告检奁过程向管理人员交底——k书面疋录1F向作业班组交底""►书面记录处罚交底过程4、材料质量控制流程图I 商务合约部确定采购数量和屢量标准验证过程采购计划确定物资及设崙部己!:初检业主、监理抽检标识保管5、施工测量管理图项目总工程师「妒业测鱼工程师E禺包监专〔1 测呈队丄建施工测呈队施工馭测竝员6、成品保护流程图施工操矗「人认宾拘疔施工班组的成■殆保护方棄,对自己完成的产品进行成品保护.同时不破坏他人的成品=项趨理审批项冃部成品保护方気并提供人、材、物以保证威品保护措旌的顺利执右质鱼保证他制宦成品保护摘施对相关的人员进行指导和齬训技术部趣级落实成品棵护措施(成晶保护小组谴隹工程购烦甘 Jt 他部门根期 T 作内容配含成詁保在施工安全技术交底同时进疔成品保护方案、把施的交底,井在施工过程中随时检査执仃惰况°掖品保护巡视员协助成品保护技术措施、方案的編制;成品 f 呆护遇査工作;检杳成7、工程验收流程图二)总则<1>以满足工程施工技术标准和建设单位的要求为目标进行质量控制。<2>坚持“质量第一,预防为主”的方针和“计划、执行、检查、处理”循环工作方法,不断改进过程控制。<3>项目质量控制实行样板制。施工过程均进行自检、互检和交接检。隐蔽工程、指定部位和分项工程未经检验或已经检验定为不合格的,严禁转入下道工序。<4>分项工程完成后,须经监理工程师检验和认可。<5>质量控制按下列程序实施:确定项目质量目标一编制项目质量计划一实施项目质量计划。(三)编制质量计划<1>由项目经理主持编制项目质量计划。<2>质量计划体现从工序、分项工程、分部工程到单位工程的全过程控制。<3>质量计划为对外质量保证和对内质量控制的依据。<4>质量计划包括下列内容:<4.1>编制依据、项目概况、质量目标、组织机构<4.2>各施工过程质量控制措施及管理组织协调系统<4.3>检验和试验程序<4.4>对重复...

1、当您付费下载文档后,您只拥有了使用权限,并不意味着购买了版权,文档只能用于自身使用,不得用于其他商业用途(如 [转卖]进行直接盈利或[编辑后售卖]进行间接盈利)。
2、本站所有内容均由合作方或网友上传,本站不对文档的完整性、权威性及其观点立场正确性做任何保证或承诺!文档内容仅供研究参考,付费前请自行鉴别。
3、如文档内容存在违规,或者侵犯商业秘密、侵犯著作权等,请点击“违规举报”。

碎片内容

建筑主体结构质量保证措施

wxg+ 关注
实名认证
内容提供者

该用户很懒,什么也没介绍

确认删除?
VIP
微信客服
  • 扫码咨询
会员Q群
  • 会员专属群点击这里加入QQ群
客服邮箱
回到顶部