电脑桌面
添加小米粒文库到电脑桌面
安装后可以在桌面快捷访问

医疗技术损害处置预案与流程VIP免费

医疗技术损害处置预案与流程_第1页
1/3
医疗技术损害处置预案与流程_第2页
2/3
医疗技术损害处置预案与流程_第3页
3/3
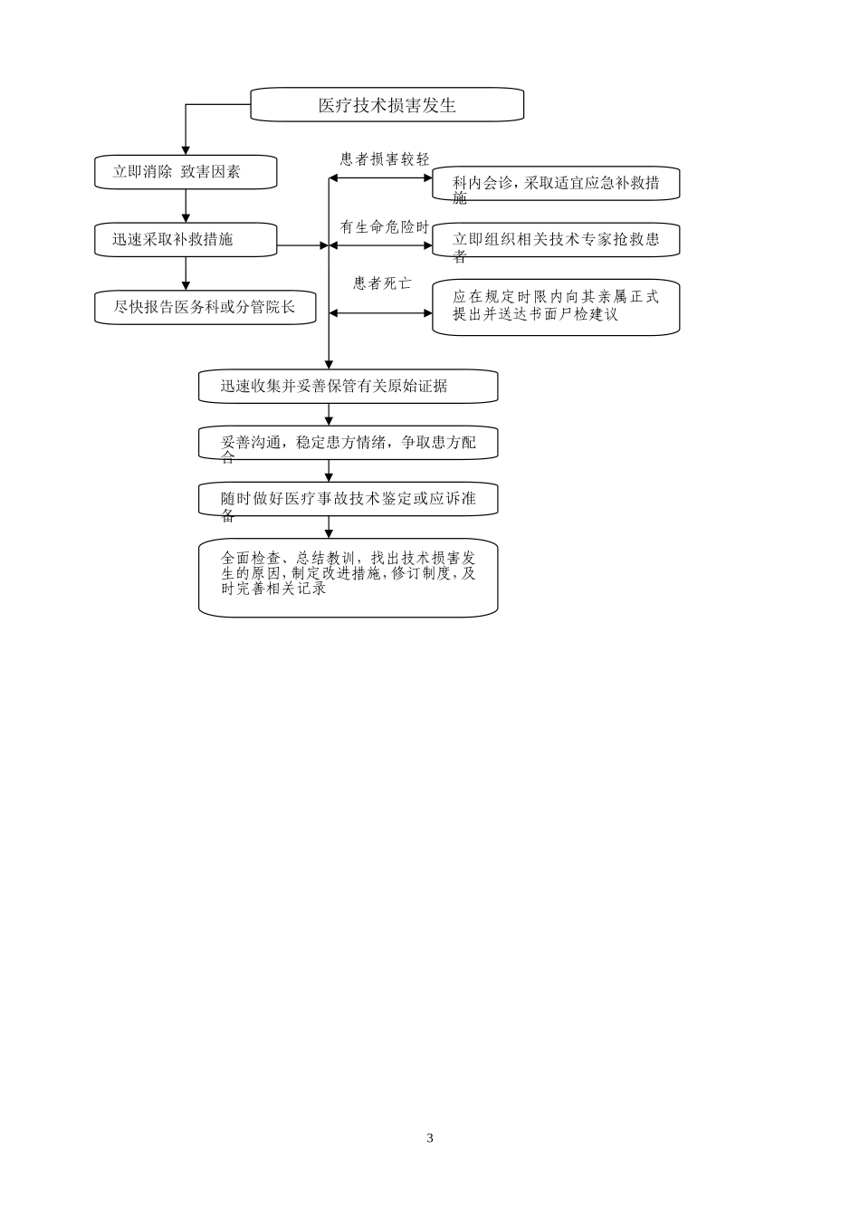
医疗技术风险与损害处置预案为加强医疗技术管理,不断促进医疗技术操作的安全性建设,一旦发生的医疗技术损害可以得到迅速、有序、妥善的处理,最大限度降低损害程度,保护患者生命健康,减轻医患双方损失,防止严重后果发生,构建和谐的医患关系和优良的执业环境,特制定本预案。一、建立健全医疗技术准入制度。二、建立医疗技术档案。对开展的技术或项目定期质控。当技术力量、设备和设施发生改变,可能影响到医疗技术的安全和质量时,应当中止该技术。按规定进行评估后,符合规定的,方可重新开展。三、对新开展的医疗技术的安全、质量、疗效、费用等情况进行全程追踪管理和评价,及时发现医疗技术风险,并采取相应措施,以避免医疗技术风险或将其降到最低限度。四、加强对临床科室技术操作者资质的管理,加强对全院的医疗技术操作规范、操作技能的培训。五、出现医疗技术损害时应按以下原则处置:1、立即消除致害因素技术损害一旦发生,首先发现者应当立即设法终止致害因素;当致害因素的识别和判定有困难时,应当立即通知上级医护人员指导处理,不可迟疑拖延。2、迅速采取补救措施密切注意患者生命体征和病情变化,千方百计采取有效补救措施,降低技术损害后果,保护患者生命健康。3、尽快报告有关领导技术损害一旦发生,必须立即如实报告。首先报告上级医师和科主任,情节严重者应当同时报告医务部、主管院领导或者总值班,医务部或主管院长或总值班接到报告后10分钟到达现场进行调查核实,重大技术损害必须同时报告院长,任何人不得隐瞒或瞒报。4、组织会诊协同抢救损害较轻、不致造成严重后果者,当事科室要酌情组织科内会诊,妥善处理(由科主任或高年资医师主持);对于情节严重的技术损害,应当根据需要邀请院内相关专科会诊,共同抢救(科主任主持),必要时由医务部邀请上级医院专家会诊指导(医务部或主管院长主持),要及时把握“最佳时机”进行救治,避免或者减轻对患者身体健康的损害,防止损害扩大,把医疗损失弥补到最低限度。5、迅速收集并妥善保管有关原始证据实物、标本、手术切除组织器官、剩余药品、材料、试剂、摄像和录音资料、各种原始记录等应妥1善保管。疑似输液、输血、注射、手术等引起医疗技术损害后果的,应当对实物或现场进行封存6、加强沟通,及时反馈加强与病人及家属的沟通,稳定患方情绪,争取患方配合,防止干扰抢救和发生冲突。如患者已经死亡,必要时应在规定时限内向其亲属正式提出并送达书面尸检建议,并力争得到患方书面答复。7、积极配合,听从指挥,统一协调对发生重大医疗技术损害的,由主管院长和医务部统一协调指挥,全院车辆、药品、设备、人员必须统一听从院内指挥和调度,任何科室和个人不得无故违抗或懈怠。8、及时报告卫生行政主管部门对重大医疗损害技术行为,可能引起医疗事故的,应当在12小时内向市卫生局医政科报告,在调查,核实后派专人向患者家属通报、解释。9、全面检查、总结教训如属医疗过失,应当区分直接责任和间接责任,依照法律法规和相关规章制度对责任者做出合理处理。找出技术损害发生的原因,制定改进措施,修订制度及时完善相关记录。10、做好医疗事故技术鉴定或应诉准备因技术损害构成医疗事故者,按照我院医疗事故处理及相关规定程序处理。11、维护医疗秩序,保护医院设施患方以不正当手段过度维权、聚众滋事、扰乱医疗秩序时,在耐心劝导和向当地卫生行政部门公安部门报警的同时,组织力量,维护医疗秩序,保护医院设施。12、加强药品等器材的评估当发现技术损害与技术或药品器材本身缺陷有关,或同类损害重复出现或反复出现时,暂停使用该项技术或有关药品器材,并对其认真地进行研讨和重新评估,必要时报告当地卫生行政部门。医疗技术损害处置流程2患者死亡有生命危险时患者损害较轻医疗技术损害发生立即消除致害因素科内会诊,采取适宜应急补救措施迅速采取补救措施立即组织相关技术专家抢救患者应在规定时限内向其亲属正式提出并送达书面尸检建议尽快报告医务科或分管院长迅速收集并妥善保管有关原始证据妥善沟通,稳定患方情绪,争取患方配合全面检查、总结教训,找出技术损害发生的原因,制定...

1、当您付费下载文档后,您只拥有了使用权限,并不意味着购买了版权,文档只能用于自身使用,不得用于其他商业用途(如 [转卖]进行直接盈利或[编辑后售卖]进行间接盈利)。
2、本站所有内容均由合作方或网友上传,本站不对文档的完整性、权威性及其观点立场正确性做任何保证或承诺!文档内容仅供研究参考,付费前请自行鉴别。
3、如文档内容存在违规,或者侵犯商业秘密、侵犯著作权等,请点击“违规举报”。

碎片内容

医疗技术损害处置预案与流程

确认删除?
VIP
微信客服
  • 扫码咨询
会员Q群
  • 会员专属群点击这里加入QQ群
客服邮箱
回到顶部