电脑桌面
添加小米粒文库到电脑桌面
安装后可以在桌面快捷访问

临床用血管理制度及流程

临床用血管理制度及流程_第1页
1/8
临床用血管理制度及流程_第2页
2/8
临床用血管理制度及流程_第3页
3/8
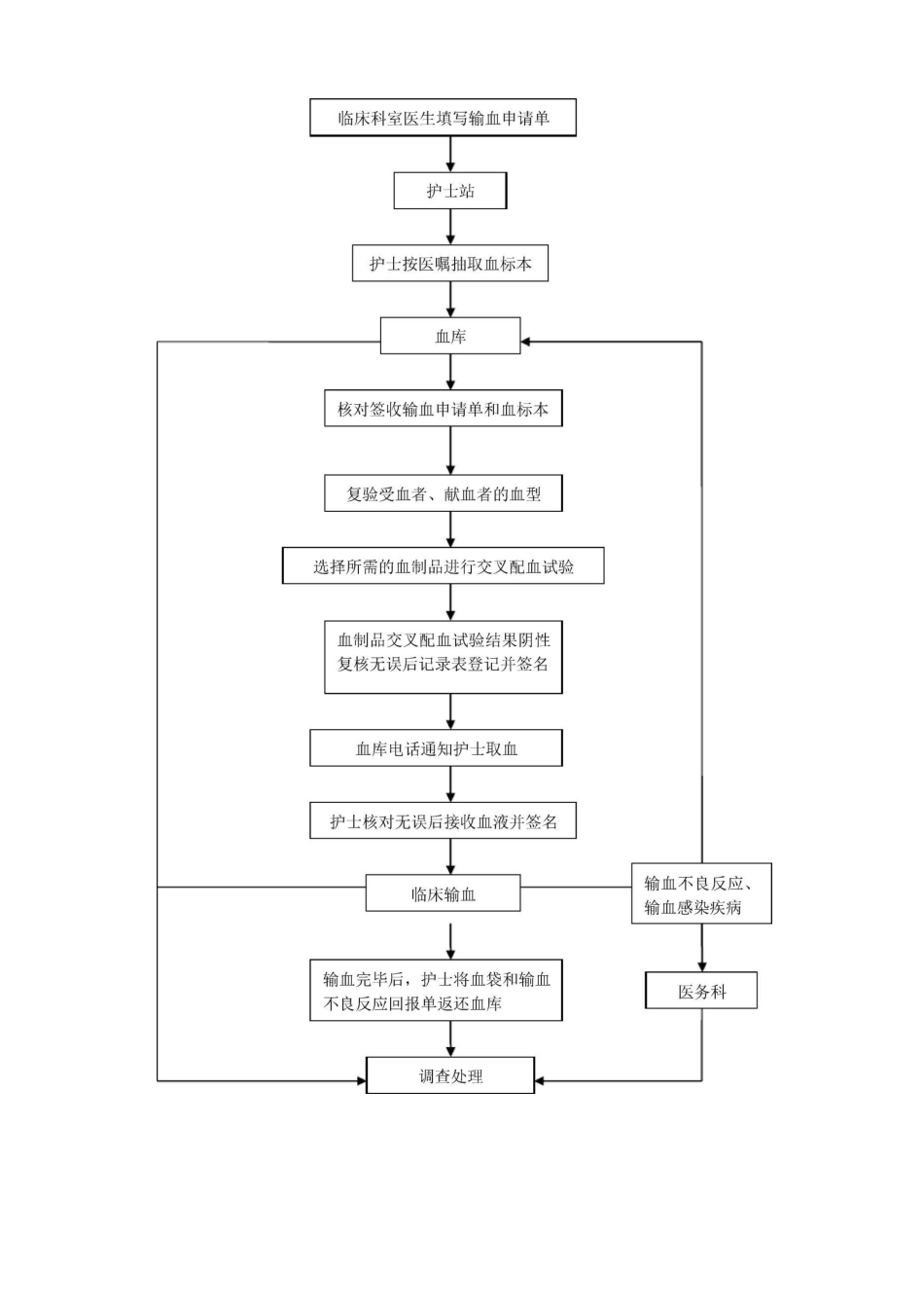
临床用血管理制度及流程1、临床用血应严格执行《医疗机构用血管理办法》和《临床输血技术规范》有关规定,提倡科学、合理用血,杜绝浪费、滥用血液,确保临床用血的质量和安全。2、医院输血科在输血管理委员会的领导下,负责临床用血的规范管理和技术指导、临床用血的计划申报、储存血液、对本单位临床用血制度执行情况进行检查,并参与临床有关疾病的诊断、治疗与科硏。3、临床用血前,应当向患者或其家属告之输血目的、可能发生的输血反应和经血液途径感染疾病的可能性,根据输血技术规范进行相关项目的检验,由医患双方共同签署用血志愿书或输血治疗同意书并存入病历。无家属签字的无自主意识患者的紧急输血,经医务科或者总值班同意、备案,并记入病历。4、临床用血适应症根据《输血技术规范》执行。一次用血、备血量超过 2000 毫升时要履行报批手续,需经输血科(血库)医师会诊,由科室主任签名后报医务科批准。急诊、抢救用血经主管医师以上同意后可随时向输血科申请、但事后应当按照以上要求补办手续。5、术前自身储血由输血科负责采血和储血,经治医师负责输血过程的医疗监护。亲友互助献血应在输血科填写登记表,到血站进行无偿献血。严禁自采供血或者自行通过其他途径取得血源。6、临床用血应严格执行查对制度。输血时发现不良反应,立即根据输血技术规范进行处理并填写《输血不良反应回报单》。7、临床输血完毕后,应将输血记录单(交叉配血报告单)贴在病历中,并将血袋送回输血科保存和处理。8 成分输血具有疗效好、副作用小、节约血液资源以及便于保存和运输等优点,应积极推广,成分输血率应高于 90%。输血质量管理持续改进(PDCA)一、策划1.实施背景 2012 年 8 月 1 日起正式实施《医疗机构临床用血管理办法》,为提高我院医务人员对临床用血安全管理知识的认识,培养科学合理用血的理念,医务科对既往临床用血管理及实施中存在问题进行了梳理,发现存在的困难与不足。2.临床用血中存在的问题⑴ 输血质量管理中各部门职责范围不够明确,输血风险控制不到位。临床用血管理委员会不能真正履行其职责,没有很好地行使监督管理职能。由于缺乏强有力的监管机制,临床输血工作不够规范,对临床科室的输血管理督导不到位。实际工作中,少部分临床医生对输血风险认识不足,没有严格把握输血指征和正确选择血液成分,出现了输“保险血”、“营养血”和“人情血”等不恰当的输血现象;⑵ 输血管理人员的素质不高。临床输血质量...

1、当您付费下载文档后,您只拥有了使用权限,并不意味着购买了版权,文档只能用于自身使用,不得用于其他商业用途(如 [转卖]进行直接盈利或[编辑后售卖]进行间接盈利)。
2、本站所有内容均由合作方或网友上传,本站不对文档的完整性、权威性及其观点立场正确性做任何保证或承诺!文档内容仅供研究参考,付费前请自行鉴别。
3、如文档内容存在违规,或者侵犯商业秘密、侵犯著作权等,请点击“违规举报”。

碎片内容

临床用血管理制度及流程

您可能关注的文档

确认删除?
VIP
微信客服
  • 扫码咨询
会员Q群
  • 会员专属群点击这里加入QQ群
客服邮箱
回到顶部