电脑桌面
添加小米粒文库到电脑桌面
安装后可以在桌面快捷访问

外墙一体板技术交底

外墙一体板技术交底_第1页
1/7
外墙一体板技术交底_第2页
2/7
外墙一体板技术交底_第3页
3/7
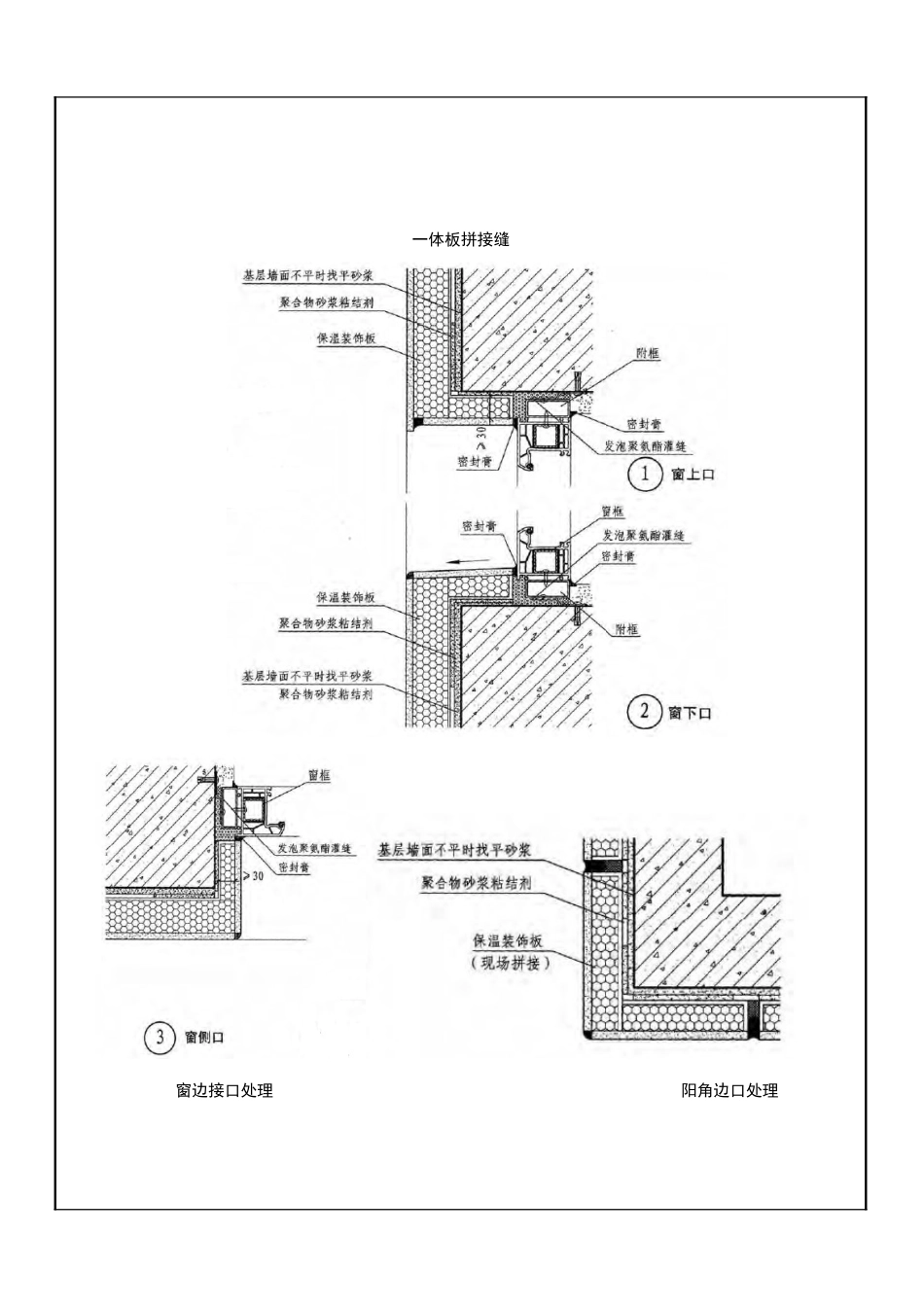
技术交底记录 工程名称连云港徐圩新区 G3 商业楼施工单位江苏中粟建设工程有限公司分项工程名称一体板施工交底部位一体板施工安装交底内容交底内容: 一、施工准备、主材:保温装饰板。 、辅材:胶粘剂、扣件。 、配件:高耐候硅酮胶、泡沫棒、美纹纸等。二、操作工艺1、对基层墙体的检查和处理:、基层抹灰表面平整度偏差不应大于 5mm,竖向垂直偏差不应大于5mm,未达到标准的严禁盲目开始施工。、基层抹灰墙面以 10M 长为检测尺寸段,阳角和装饰带均要在 10M 以上拉线检查,大平面还须在对角线拉线检查,再通过对高处进行凿平,低处采纳抹灰找平的方法使墙面平整度达到允许偏差要求。、用 1:3 水泥砂浆填充找平,并将墙面上的灰尘、污垢、已粉化的涂料和腻子层等阻碍粘贴质量的物质清除洁净。、基层墙面采纳以上的方法处理后,必须粘贴小样进行检验,其规格不得小于 300mm×200mm,现场检验方法如下:、保温装饰板粘贴 24 小时以后形成初粘,取消定位件后不会自行产生位移。、保温装饰板粘贴 5~7 天后,检验人员徒手用力不能将样板从墙面上拉掉,可视为胶粘剂调配合格并且基层强度可以满足施工要求。、保温装饰板粘贴 28 天后,用拉拔仪检测,抗拉强度应≥,并且破坏部位是保温层,即为合格。假如是墙体基层破坏,则必须对墙体基层重新进行处理。(保温装饰板粘贴 28 天后,粘结层粘结强度达到设计要求)。2、基层分格弹线。、应按设计及建设单位要求进行排板,并确定分格缝的宽度。、从门窗或阳角处开始弹出基准控制线,作出标记。、弹线工作应由施工人员完成,若条件不允许则弹线人员必须与施工人员完成交接。、弹线时应将缝线弹出,以便在安装板材时核对尺寸和位置,减少误差。3、墙体表面洒水润湿。当天气较热,墙面干燥时,施工前应用清水先将墙面适当润湿,以保证不会因胶粘剂中的水分过快蒸发而影响粘接质量。4、板背面点式布胶、粘接砂浆的使用、选用适当的容器(18L 手提铁桶或塑料桶)先将粘接砂浆倒入容器内,然后将清水倒入容器,一边倒一边搅拌,充分搅拌均匀。再根据现场气温高低适当增减清水的添加量(以刮涂流畅,不流坠为宜)。、粘接砂浆应随用随搅拌,已搅拌好的粘接砂浆必须在 2-4 小时内用完。、粘结点分布图及要求如下:根据点粘分布图把胶粘剂点涂在背板面上,粘结面积不得小于 60%。5、安装固定。、面板扣件安装一般来说,保温装饰板外墙外保温系统的锚栓在基层墙体中的有效锚固深度参照常规...

1、当您付费下载文档后,您只拥有了使用权限,并不意味着购买了版权,文档只能用于自身使用,不得用于其他商业用途(如 [转卖]进行直接盈利或[编辑后售卖]进行间接盈利)。
2、本站所有内容均由合作方或网友上传,本站不对文档的完整性、权威性及其观点立场正确性做任何保证或承诺!文档内容仅供研究参考,付费前请自行鉴别。
3、如文档内容存在违规,或者侵犯商业秘密、侵犯著作权等,请点击“违规举报”。

碎片内容

外墙一体板技术交底

确认删除?
VIP
微信客服
  • 扫码咨询
会员Q群
  • 会员专属群点击这里加入QQ群
客服邮箱
回到顶部