电脑桌面
添加小米粒文库到电脑桌面
安装后可以在桌面快捷访问

工程质量管理组织机构

工程质量管理组织机构_第1页
1/3
工程质量管理组织机构_第2页
2/3
工程质量管理组织机构_第3页
3/3
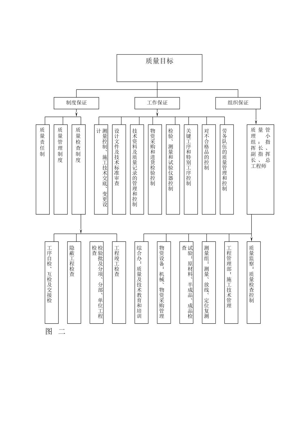
工程质量管理组织机构⒈ 质量管理领导小组指挥部成立质量管理领导小组,对项目的质量全权负责,履行项目质量的管理职责,质量管理领导小组组成为:项目指挥长为组长,副指挥长和项目总工程师为副组长,指挥部各职能部门负责人以及各分部项目经理、总工程师为组员.指挥部质量管理小组人员组成为:组长:副组长:、组员:、、、、、、 、、、、质量管理领导小组负责定期质量检查、召开质量分析会议分析质量保证计划的执行情况,及时发现问题,讨论改进措施,积极推动全面质量管理工作的深化开展.质量管理领导小组下设办公室,办公室主任,负责日常的质量管理工作。质量管理的组织体系图和工作机构图如下:⒉ 组织体系图 (见图一)⒊ 工作机构图 (见图二)图 一组 织 体 系 图图 二质量目标制度保证工作保证组织保证质 量 管理小组 : 指挥 长 、副 指 挥长 、 总工程师测量控制、施工技术交底、变更设计设计文件及技术标准审查技术资料及质量记录的管理和控制物资采购和进货检验控制检验、测量和试验仪器控制关键工序和特别工序控制对不合格品的控制劳务队伍的质量管理和控制质量检查制度质量管理制度质量责任制工程管理部:施工技术管理质量监察:质量检查控制测量组:测量、放线、定位复测试验:原材料、半成品、成品检查物资设备:机械、物资采购管理综合办:质量及技术教育和培训工序自检、互检及交接检隐蔽工程检查检验批及分项、分部、单位工程检查工程竣工检查工 作 机 构 图指挥长副指挥长总工程师工程管理部安全质量部综合办公室中心试验室计划财务部项目经理部一项目经理项目经理部二项目经理项目经理部……项目经理技术部(含施工场地试验)安质部办公室物设部财务室副经理总工程师作业队长一队长作业队长二队长作业队长……队长技术主管领工员工班长一工班长二

1、当您付费下载文档后,您只拥有了使用权限,并不意味着购买了版权,文档只能用于自身使用,不得用于其他商业用途(如 [转卖]进行直接盈利或[编辑后售卖]进行间接盈利)。
2、本站所有内容均由合作方或网友上传,本站不对文档的完整性、权威性及其观点立场正确性做任何保证或承诺!文档内容仅供研究参考,付费前请自行鉴别。
3、如文档内容存在违规,或者侵犯商业秘密、侵犯著作权等,请点击“违规举报”。

碎片内容

工程质量管理组织机构

您可能关注的文档

确认删除?
VIP
微信客服
  • 扫码咨询
会员Q群
  • 会员专属群点击这里加入QQ群
客服邮箱
回到顶部