电脑桌面
添加小米粒文库到电脑桌面
安装后可以在桌面快捷访问

工程进度款支付规程

工程进度款支付规程_第1页
1/2
工程进度款支付规程_第2页
2/2
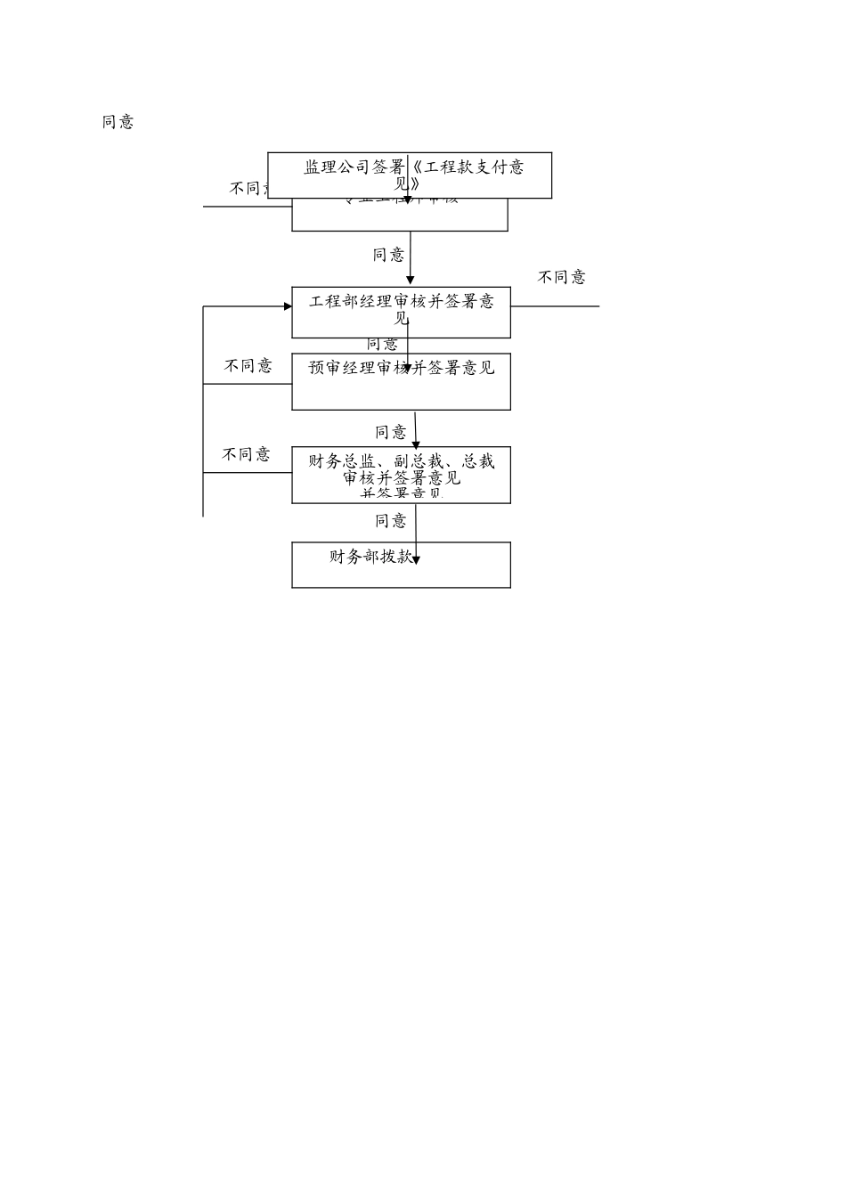
工程进度款的支付规程一、工程进度款的支付标准1.严格根据合同约定的工程款支付方式进行工程款的支付。2.根据合同约定、工程实际情况和施工单位投标书,施工单位报送付款节点描述及节点预算书。3.施工完成一个付款节点后,施工单位报工程款支付申请表.监理公司审核是否完成付款节点描述工程量并签署工程款支付意见,工程部应付款节点描述工程量进行复核并签署工程款支付意见后报预审部,预审部应应付款节点进行核实签认并报上级领导最终审核。二、施工过程中进度款支付类型及要求1。若双方签订的《建设工程施工合同》为暂定总造价合同,可依据合同根据节点付款,按节点实际完工的合格工程量的%付款(其中对已发生的甲供材料款在当期工程进度款中全额扣除);2。若双方签订的《建设工程施工合同》为“固定总价+变更+签证”合同,可依据合同付款条件在满足付款条件的前提下,按节点付款;3.对于分包工程、零星工程,根据行业规定情况,在依照合同前提下,计付工程进度款;4。对设备、材料采购的付款,要有材料合格验收单和交验清单;如商家施工时,还必须要有施工合格验收单。否则不予审核和付款。5.所有工程进度款必须附有相应的预算书支持,否则视为申请付款手续不全不予支付工程款;6.严格根据公司程序要求付款。如特别情况下未按程序申请付款,则必须经副总裁及以上领导特批。7。工程最后一笔款(或视合同情况而定)的支付,必须纳入工程结算程序。三、控制程序不同意承包单位填写《付款申请表》并附预算书监理公司审核同意不同意同意 不同意同意不同意同意不同意 同意工程签证单办理预审经理审核并签署意见 工程部经理审核并签署意见财务总监、副总裁、总裁审核并签署意见并签署意见专业工程师审核财务部拨款监理公司签署《工程款支付意见》

1、当您付费下载文档后,您只拥有了使用权限,并不意味着购买了版权,文档只能用于自身使用,不得用于其他商业用途(如 [转卖]进行直接盈利或[编辑后售卖]进行间接盈利)。
2、本站所有内容均由合作方或网友上传,本站不对文档的完整性、权威性及其观点立场正确性做任何保证或承诺!文档内容仅供研究参考,付费前请自行鉴别。
3、如文档内容存在违规,或者侵犯商业秘密、侵犯著作权等,请点击“违规举报”。

碎片内容

工程进度款支付规程

您可能关注的文档

确认删除?
VIP
微信客服
  • 扫码咨询
会员Q群
  • 会员专属群点击这里加入QQ群
客服邮箱
回到顶部