电脑桌面
添加小米粒文库到电脑桌面
安装后可以在桌面快捷访问

新建厂房流程

新建厂房流程_第1页
1/6
新建厂房流程_第2页
2/6
新建厂房流程_第3页
3/6
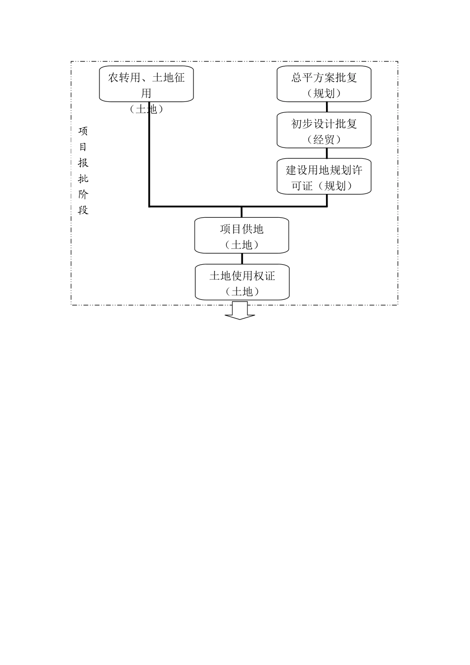
1。选择厂址:按你生产的产品的相关要求选厂址,要考虑生产对周围环境可能导致的污染。2.准备公司章程,到工商局申办营业执照。3。按所生产的产品的相关要求,准备厂房与车间,在水质、环保、环境等方面应符合要求.4.到当地标准计量局申办企业产品标准,申办每个产品条形码。5。到广告公司定制商标样稿。到商标事务所申办商标注册。6。安装调试设备,试产样品.7.到税务部门申办税务事项。8.包装与原料进货、制定内部规章制度、批量生产。9. 企业 IC 策划、产品广告宣传。钢结构新厂房建造流程:一、要有一片土地,依实际面积做个规划.二、根据规划设计厂房图纸,上报规划局。三、申请土地,土地部门准建并给出用地红线。四、根据规划设计厂房施工图纸。五、以施工图找施工单位。六、选择施工单位与设计单位沟通。七、施工单位依据规划图放线并按施工图施工。找有资质做“在建项目环境影响评价报告表(或登记表、报告书)”的机构做,然后交当地的环保局审批,然后再去工商局登记申请领营业执照.之后的事再提问我再回答房地产申请建设的程序/步骤1、到工商局注册公司,注意注册资金量问题。2、到建委、建设厅申请房地产资质。3、到国土局收储中心,找一块招、拍、挂的净地。假如没有别人应标,或者别人的价格比你低,就是你的了。这类土地一般都是规划条件齐全了,4、中标后,根据要求缴纳出让金,也就是地钱,买了东西要付钱。5、然后办理《土地证》,你是地主了.6、进行设计招标,进行建筑设计。进行图纸审查。7、在到规划局申办《规划许可证》,8、进行队伍招标,到建委办理《施工许可证》,9、交纳相关保险金、费用等,规划局验线后,开工吧。老板!!!开发的程序前期工作阶段:1、场地的工程勘测(确认勘测单位对场地的地质进行勘测)2、猎取土地使用权3、征地、拆迁、安置4、规划设计5、落实开发资金6、制定建设施工方案(建设施工方案包括:施工组织与协调计划,建材与设备供应计划,施工图设计方案、基础设施配套的接洽与协商计划、工程清单与工程进度时间表、现金流量表、与承包商谈判与签约计划等)7、施工现场的三通一平建设阶段1、项目发包2、施工组织管理3、项目控制与监理4、项目竣工验收另外开发报建程序大体如下: 1、取得国有土地使用证 2、规划方案审批 3、办理选址意见书 4、立项审批 5、办理建设用地规划许可证 6、准建证(准建项目开发手册) 7、建筑设计方案申报 8、建设工程规划许可证 9、施工图送审附 4温州市标准厂房建设审批...

1、当您付费下载文档后,您只拥有了使用权限,并不意味着购买了版权,文档只能用于自身使用,不得用于其他商业用途(如 [转卖]进行直接盈利或[编辑后售卖]进行间接盈利)。
2、本站所有内容均由合作方或网友上传,本站不对文档的完整性、权威性及其观点立场正确性做任何保证或承诺!文档内容仅供研究参考,付费前请自行鉴别。
3、如文档内容存在违规,或者侵犯商业秘密、侵犯著作权等,请点击“违规举报”。

碎片内容

新建厂房流程

您可能关注的文档

确认删除?
VIP
微信客服
  • 扫码咨询
会员Q群
  • 会员专属群点击这里加入QQ群
客服邮箱
回到顶部