电脑桌面
添加小米粒文库到电脑桌面
安装后可以在桌面快捷访问

监理机构安全生产管理制度

监理机构安全生产管理制度_第1页
1/11
监理机构安全生产管理制度_第2页
2/11
监理机构安全生产管理制度_第3页
3/11
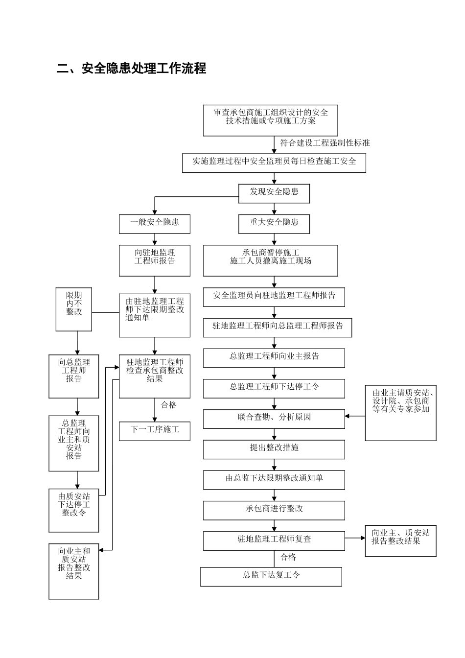
一、安全监理工作程序1.项目监理部根据《建设工程监理法律规范》和相关监理法律规范要求,编制安全监理细则.2.建立安全生产监理责任制,完善监理部安全生产管理制度,提高监理人员素养。3.在施工准备阶段项目监理部要做到如下工作:①审批承包商提交的施工组织设计和各专项技术方案及应急预案,由驻地监理工程师在相关文件报审表上签署意见,审查未通过的技术文件不得实施。②检查施工机械、起重机械的安全性和年检合格证;参加脚手架、临时用电等的验收;检查特别工种人员的上岗证。③检查施工单位安全生产管理机构、安全生产许可证,审查项目经理证件。④安全监管重点放在专项技术方案的审查。4.在施工阶段,项目监理部要做到如下工作:①检查承包商是否按批准的施工组织设计和各专项技术方案施工,重点放在检查施工过程中隐患较大的工程措施的落实.②检查安全标志.③督促承包商的安全自检。项目监理部定期参加项目部的施工安全评分,并由驻地高监签署意见。④项目监理部每日对承包商的安全生产进行检查,并作记录。发现隐患,立即制止,书面通知限期整改,承包商在限期内没整改好或拒改,应立即向业主及质安站汇报.对较大的安全隐患必须要求承包商停工整改,并向业主、质安站汇报。5.工程竣工后,监理总结中应对工程的安全作评价。6.安全监理工作流程图:安全巡视、检查各类安全隐患一般安全隐患、问题严重安全隐患口头指令或开具整改通知单下达工程暂停令报告建设单位监督检查整改结果签署复查或复工意见向有关行政主管部门报告整改完毕拒绝整改符合建设工程强制性标准合格合格二、安全隐患处理工作流程2.审查承包商施工组织设计的安全技术措施或专项施工方案实施监理过程中安全监理员每日检查施工安全发现安全隐患重大安全隐患一般安全隐患承包商暂停施工施工人员撤离施工现场安全监理员向驻地监理工程师报告驻地监理工程师向总监理工程师报告总监理工程师向业主报告总监理工程师下达停工令联合查勘、分析原因由业主请质安站、设计院、承包商等有关专家参加提出整改措施由总监下达限期整改通知单承包商进行整改驻地监理工程师复查向业主、质安站报告整改结果总监下达复工令向驻地监理工程师报告由驻地监理工程师下达限期整改通知单驻地监理工程师检查承包商整改结果下一工序施工限期内不整改向总监理工程师报告总监理工程师向业主和质安站报告由质安站下达停工整改令向业主和质安站报告整改结果三、重大安全隐患报告制度1、项目监理部成立安全生...

1、当您付费下载文档后,您只拥有了使用权限,并不意味着购买了版权,文档只能用于自身使用,不得用于其他商业用途(如 [转卖]进行直接盈利或[编辑后售卖]进行间接盈利)。
2、本站所有内容均由合作方或网友上传,本站不对文档的完整性、权威性及其观点立场正确性做任何保证或承诺!文档内容仅供研究参考,付费前请自行鉴别。
3、如文档内容存在违规,或者侵犯商业秘密、侵犯著作权等,请点击“违规举报”。

碎片内容

监理机构安全生产管理制度

确认删除?
VIP
微信客服
  • 扫码咨询
会员Q群
  • 会员专属群点击这里加入QQ群
客服邮箱
回到顶部