电脑桌面
添加小米粒文库到电脑桌面
安装后可以在桌面快捷访问

away财务管理制度流程说明

away财务管理制度流程说明_第1页
1/7
away财务管理制度流程说明_第2页
2/7
away财务管理制度流程说明_第3页
3/7
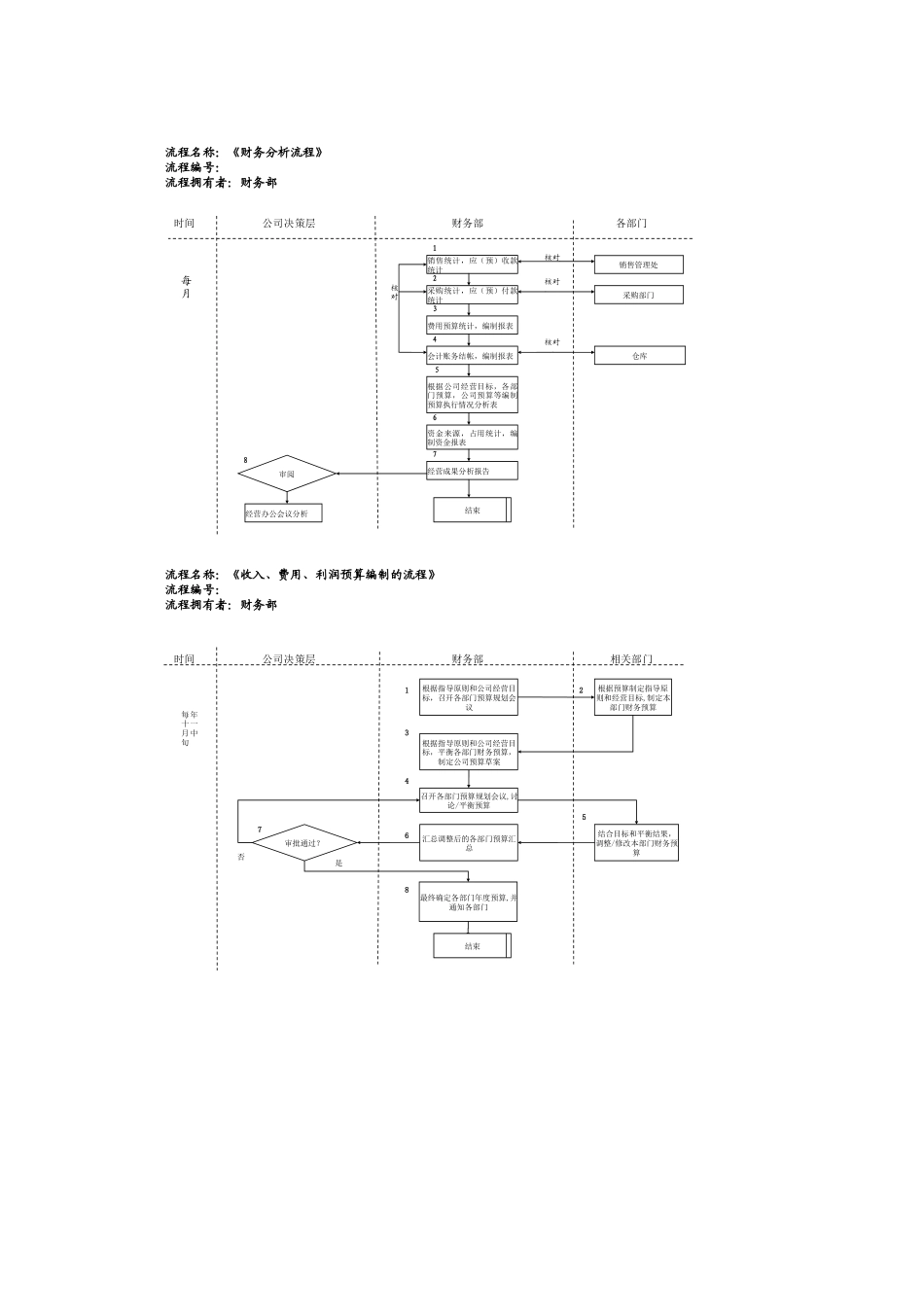
任何一个好的作品,都只是作者在讲一个故事。任何一部被后来者冠上伟大的作品,都是一群好事者在挖掘作者自己都不懂的东西财务管理流程说明第一章 总则第一条 为了加强财务管理过程的法律规范化运作,有效实施相关财务制度,特制定本流程及说明。1. 第二条 本流程说明适用于 YLZG 预算编制管理、销售出库管理、业务员销售结算管理、费用审核审批管理、通讯费管理、业务招待费管理、员工出差及旅差费管理、资金审核审批管理和财务分析管理等。 第二章 预借款管理1. 第三条 因公务需要借款的,借款人(或经办人)应开具《借款凭证》,办理借款审核审批手续。 《借款凭证》应明确借款用途、还款日期。还款期限一般不超过 90 天,属于备用金的最长不得超过会计核算年度的最后一天。 2. 第四条 财务部费用审核员负责暂借款的催收工作。暂借款到期前 5 天,财务部费用审核员应发书面通知给借款人,否则,责任由费用审核员承担。暂借款人接到还款通知后,逾期未归还的,按“未还款金额×每日5%0 ×逾期天数”计算罚息。 3. 第五条 预借款还款期限届满,因特别情况未能归还时,借款人应办理延期还款手续,并注明还款期限。 4. 第六条 预借款人因公务在外出差而无法亲自办理借款手续,应由暂借款人的本部门人员代办,代办人则作为经办人,并提供暂借款人的委托书的传真复印件。 第三章 财务报支1.第七条 填写《费用报支单》的经办人应为该项业务的经办者,不可由他人代办,经办人必须在原始凭证上签字。 2. 第八条 《费用报支单》所附发票的要求: 1)不得取得虚假发票,内容填写必须真实、准确;2)不得取得不填写客户的发票或与客户名称不符的发票;3)不得取得大、小金额不符或错误涂改的发票;4)不得取得收据或白条,必须取得合理、合法的发票;5)福建省内服务行业发票必须为“刮刮卡”方为有效。1. 第九条 报销车辆加油费时必须附上行政科专人开具的《加油验收单》。 2. 第十条 报支办公用品及办公设备时,需依照采购、进仓流程,并将《请购单》、《进仓验收单》及发票附在《费用报支单》后,方可报支。 3. 第十一条当费用的权限审批人与部门主管为同一人时,权限人可以只签审批栏。 4. 第十二条根据审批和经办分离的原则,除执行总裁外,所有审批人不得审批自己经办的业务。 5. 第十三条费用报销手续办理必需是公司岗位设定相关人员,禁止外部人员自行持单据办理审核、审批或请款、催款。 第四章 预算...

1、当您付费下载文档后,您只拥有了使用权限,并不意味着购买了版权,文档只能用于自身使用,不得用于其他商业用途(如 [转卖]进行直接盈利或[编辑后售卖]进行间接盈利)。
2、本站所有内容均由合作方或网友上传,本站不对文档的完整性、权威性及其观点立场正确性做任何保证或承诺!文档内容仅供研究参考,付费前请自行鉴别。
3、如文档内容存在违规,或者侵犯商业秘密、侵犯著作权等,请点击“违规举报”。

碎片内容

away财务管理制度流程说明

您可能关注的文档

确认删除?
VIP
微信客服
  • 扫码咨询
会员Q群
  • 会员专属群点击这里加入QQ群
客服邮箱
回到顶部