电脑桌面
添加小米粒文库到电脑桌面
安装后可以在桌面快捷访问

LED数码管知识介绍

LED数码管知识介绍_第1页
1/6
LED数码管知识介绍_第2页
2/6
LED数码管知识介绍_第3页
3/6
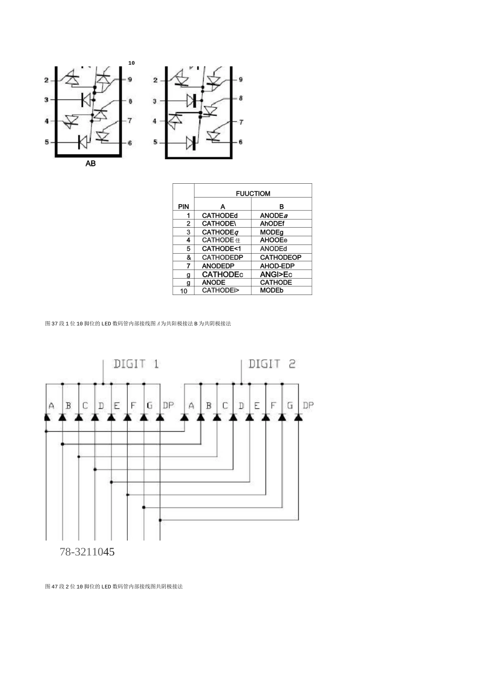
LED 数码管知识介绍什么是 led 数码管LED 数码管(LEDSegmentDisplays)是由多个发光二极管封在在一起组成“8”字型的器件,引线已在内部连接完成,只需引出它们的各个笔划,公共电极。LED 数码管常用段数一般为 7 段有的另加一个小数点,还有一种是类似于 3 位“+1”型。位数有半位,1,2,3,4,5,6,8,10 位等等••••,LED 数码管根据 LED 的接法不同分为共阴和共阳两类,了解 LED 的这些特性,对编程是很重要的,因为不同类型的数码管,除了它们的硬件电路有差异外,编程方法也是不同的。右图是共阴和共阳极数码管的内部电路,它们的发光原理是一样的,只是它们的电源极性不同而已。颜色有红,绿,蓝,黄等几种。LED 数码管广泛用于仪表,时钟,车站,家电等场合。选用时要注意产品尺寸颜色,功耗,亮度,波长等。下页将介绍常用 LED 数码管内部引脚图片图 1 这是一个 7 段两位带小数点 10 引脚的 LED 数码管图 2 引脚定义每一笔划都是对应一个字母表示 DP 是小数点LED 数码管要正常显示,就要用驱动电路来驱动数码管的各个段码,从而显示出我们要的数位,因此根据 LED 数码管的驱动方式的不同,可以分为静态式和动态式两类。A、静态显示驱动:静态驱动也称直流驱动。静态驱动是指每个数码管的每一个段码都由一个单片机的 I/O 埠进行驱动,或者使用如 BCD 码二-十进位解码器解码进行驱动。静态驱动的优点是编程简单,显示亮度高,缺点是占用 I/O 埠多,如驱动 5 个数码管静态显示则需要 5x8=40 根 I/O 埠来驱动,要知道一个 89S51 单片机可用的 I/O 埠才 32 个呢。故实际应用时必须增加解码驱动器进行驱动,增加了硬体电路的复杂性。B、动态显示驱动:数码管动态显示介面是单片机中应用最为广泛的一种显示方式之一,动态驱动是将所有数码管的 8 个显示笔划"a,b,c,d,e,f,g,dp"的同名端连在一起,另外为每个数码管的公共极 COM 增加位元选通控制电路,位元选通由各自独立的I/O 线控制,当单片机输出字形码时,所有数码管都接收到相同的字形码,但究竟是那个数码管会显示出字形,取决于单片机对位元选通 COM 端电路的控制,所以我们只要将需要显示的数码管的选通控制打开,该位元就显示出字形,没有选通的数码管就不会亮。透过分时轮流控制各个 LED 数码管的 COM 端,就使各个数码管轮流受控显示,这就是动态驱动。在轮流显示过程中,每位元数码管的点亮时间为 1〜2ms,由于人的...

1、当您付费下载文档后,您只拥有了使用权限,并不意味着购买了版权,文档只能用于自身使用,不得用于其他商业用途(如 [转卖]进行直接盈利或[编辑后售卖]进行间接盈利)。
2、本站所有内容均由合作方或网友上传,本站不对文档的完整性、权威性及其观点立场正确性做任何保证或承诺!文档内容仅供研究参考,付费前请自行鉴别。
3、如文档内容存在违规,或者侵犯商业秘密、侵犯著作权等,请点击“违规举报”。

碎片内容

LED数码管知识介绍

您可能关注的文档

wxg+ 关注
实名认证
内容提供者

该用户很懒,什么也没介绍

确认删除?
VIP
微信客服
  • 扫码咨询
会员Q群
  • 会员专属群点击这里加入QQ群
客服邮箱
回到顶部