电脑桌面
添加小米粒文库到电脑桌面
安装后可以在桌面快捷访问

机械制图选择题库带答案

机械制图选择题库带答案_第1页
1/12
机械制图选择题库带答案_第2页
2/12
机械制图选择题库带答案_第3页
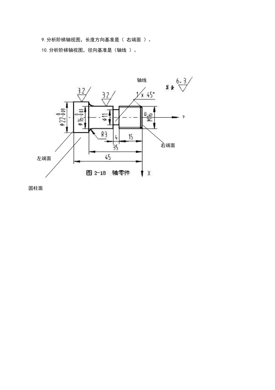
3/12
机械制图选择题库第五章零件图的表达与识读1.一张完整的零件图应包括:一组图形、完整的尺寸、技术要求和(B )。A 明细栏 B 标题栏 C 零件序号 D 总体尺寸2.一张完整的零件图应包括:一组图形、完整的尺寸、(D)和标题栏。A 明细栏 B 总体尺寸 C 零件序号 D 技术要求 3.基本视图配置中,俯视图在主视图的( D)方。A 上 B 左 C 后 D 下4.基本视图配置中,右视图在主视图的( B)方。A 上 B 左 C 后 D 下5.六个基本视图仍然保持“长对正、高平齐、(A)”的“三等”投影关系。A 宽相等 B 左 右等高 C 前 后一致 D 上 下对齐6.六个基本视图仍然保持“(C)、高平齐、宽相等”的“三等”投影关系。A 上 下对齐 B 左 右等高 C 长对正 D 前 后一致7.分析轴承座三视图,高度方向基准是 A、B、C、D 中的( C )。8.分析轴承座三视图,长度方向基准是 A、B、C、D 中的( D )。ACDB9.分析阶梯轴视图,长度方向基准是( 右端面 )。10.分析阶梯轴视图,径向基准是(轴线 )。 左端面圆柱面轴线右端面11.分析标准直齿圆柱齿轮的图形,选出符号 d代表的结构名称。(D)A 分度圆直径 B 齿厚 C 齿根圆直径 D 齿顶圆直径12. 分析标准直齿圆柱齿轮的图形,选出符号 d代表的结构名称。(C)A 分度圆直径 B 齿厚 C 齿根圆直径 D 齿顶圆直径13. 分析标准直齿圆柱齿轮的图形,选出符号 d 代表的结构名称。(A)A 分度圆直径 B 齿厚 C 齿根圆直径 D 齿顶圆直径14.分析标准直齿圆柱齿轮的图形,选出符号 h 代表的结构名称。(A)A 全齿高 B 齿厚 C 齿根高 D 齿顶高15.分析标准直齿圆柱齿轮的图形,选出符号 h代表的结构名称。(D)A 全齿高 B 齿厚 C 齿根高 D 齿顶高16.分析标准直齿圆柱齿轮的图形,选出符号 h代表的结构名称。(C)A 全齿高 B 齿厚 C 齿根高 D 齿顶高17.分析标准直齿圆柱齿轮的图形,选出符号 p 代表的结构名称。(C)A 全齿高 B 齿厚 C 齿距 D 齿顶高18.分析标准直齿圆柱齿轮的图形,选出符号 e 代表的结构名称。(D)A 全齿高 B 齿厚 C 齿距 D 齿槽宽19.分析标准直齿圆柱齿轮的图形,选出符号 s 代表的结构名称。(B)A 全齿高 B 齿厚 C 齿距 D 齿顶高20. 齿轮是机械传动中应用最广泛的一种传动件,它不仅可以用来传递动力,而且可以用来改变轴的转速和旋转(D)。A 大小 B 动力 C 速度 D...

1、当您付费下载文档后,您只拥有了使用权限,并不意味着购买了版权,文档只能用于自身使用,不得用于其他商业用途(如 [转卖]进行直接盈利或[编辑后售卖]进行间接盈利)。
2、本站所有内容均由合作方或网友上传,本站不对文档的完整性、权威性及其观点立场正确性做任何保证或承诺!文档内容仅供研究参考,付费前请自行鉴别。
3、如文档内容存在违规,或者侵犯商业秘密、侵犯著作权等,请点击“违规举报”。

碎片内容

机械制图选择题库带答案

您可能关注的文档

确认删除?
VIP
微信客服
  • 扫码咨询
会员Q群
  • 会员专属群点击这里加入QQ群
客服邮箱
回到顶部