电脑桌面
添加小米粒文库到电脑桌面
安装后可以在桌面快捷访问

湿式气柜结构图

湿式气柜结构图_第1页
1/8
湿式气柜结构图_第2页
2/8
湿式气柜结构图_第3页
3/8
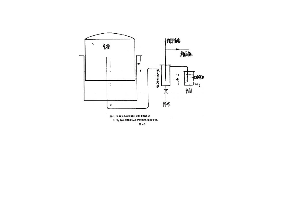
湿式气柜结构图湿式气柜主要由立式圆筒形水槽、一个或数个圆筒塔节、钟罩及导向装置组成。钟罩是一个有拱顶的底面敞开的圆筒结构。在水槽和钟罩之间是圆筒状的活动塔节。气体管道穿过水槽底板和水槽中的水进入钟罩,实现气体的输入或排出。上下相连的塔节间用水封挂圈连接并实现密封:当向气柜压送气体时,钟罩上升,其下部挂圈从水槽中取水;钟罩升至一定高度时,钟罩下挂圈与塔节上挂圈连接,第二塔节上挂圈立板插入钟罩下挂圈水封,第二塔节即被提起,如此依次提起各塔节。在输出气体时,钟罩和塔节的动作过程相反。钟罩及塔节依靠导轨和导轮保证升降平稳。按导轨形式分为直升式和螺旋导轨式两类。

1、当您付费下载文档后,您只拥有了使用权限,并不意味着购买了版权,文档只能用于自身使用,不得用于其他商业用途(如 [转卖]进行直接盈利或[编辑后售卖]进行间接盈利)。
2、本站所有内容均由合作方或网友上传,本站不对文档的完整性、权威性及其观点立场正确性做任何保证或承诺!文档内容仅供研究参考,付费前请自行鉴别。
3、如文档内容存在违规,或者侵犯商业秘密、侵犯著作权等,请点击“违规举报”。

碎片内容

湿式气柜结构图

您可能关注的文档

确认删除?
VIP
微信客服
  • 扫码咨询
会员Q群
  • 会员专属群点击这里加入QQ群
客服邮箱
回到顶部