电脑桌面
添加小米粒文库到电脑桌面
安装后可以在桌面快捷访问

企业财务管理流程制度设计方案

企业财务管理流程制度设计方案_第1页
1/13
企业财务管理流程制度设计方案_第2页
2/13
企业财务管理流程制度设计方案_第3页
3/13
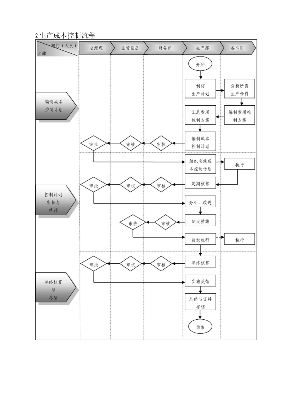
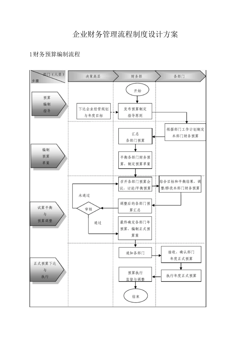
企业财务管理流程制度设计方案1 财务预算编制流程2 生产成本控制流程3 固定资产管理流程4 存货管理工作流程5 投资决策管理流程6 融资管理工作流程7 财务分析工作流程8 税务筹划流程9 报税工作流程10 货币资金管理规定制度名称 ~! 1货币资金管理规定1编号受控状态执行部门监督部门考证部门第 1 章总则第 1 条为加强公司对库存现金、银行存款、支票的控制与管理,维护公司财产安全,避开造成不必要的 损失,根据国家相关法律法规,结合公司的实际情况,特制定本规定。第 2 条本规定适用于公司的库存现金、银行存款、支票等相关工作事项。第 3 条相关定义库存现金限额是指为保证日常零星支付按规定允许留存的现金的最高数额。第 2 章库存现金管理第 4 条 公司实行钱账分管制度,专职出纳人员负责办理现金收付和现金保管业务,非出纳人员不得经管 现金收付和现金保管业务。第 5 条出纳人员不得兼管稽核会计档案保管和收入、费用、债权、债务账目的登记工作,但应负责登记 现金日记账和银行存款日记账,并与会计登记的现金银行存款总账相互核对。第 6 条出纳人员办理现金出纳业务,必须做到按日清理、按日结账,结出库存现金账面余额,并与库存 现金实地盘点数核对相符,如有长款、短款,应查明原因,属于账务的错误需及时更正,属于出纳人员工作 疏忽或业务水平问题,一般应由过失人赔偿。第 7 条公司规定库存现金限额,实际库存现金超过库存限额时,出纳人员应将超过部分及时送存银行, 如实际库存现金低于库存限额,应及时补提。第 8 条库存现金收取范围1. 个人购买公司的物品或接受劳务。2. 个人还款、赔偿款、罚款及备用金退回款。3. 无法办理转账的销售收入。4. 不足转账起点的小额收入。5. 其他必须收取现金的事宜。第 9 条现金使用范围1.出差人员必须随身携带的差旅费。现金日常收支申请审批程序2.票据结算起点(10 元)以下的零星支出。3.银行确定需要现金支付的其他支出。第 10 条现金日常收支申请审批控制公司的现金管理必须遵照国家规定,具体操作如下图所示。匕入土 士收支申请时,需注明送存现金的来源和支取的用途,同时取得或填制原始1.收支申请凭证,作为收付款项的书面证明,如发票、领款单、支票存根等收支审批财务部审批人根据其职责、权限和相应程序对收支申请进行审批,拒绝不符合规定的库存现金收支申请3.收支复核财务部复核人员复核库存现金收支申请,包括批准范围、权限、...

1、当您付费下载文档后,您只拥有了使用权限,并不意味着购买了版权,文档只能用于自身使用,不得用于其他商业用途(如 [转卖]进行直接盈利或[编辑后售卖]进行间接盈利)。
2、本站所有内容均由合作方或网友上传,本站不对文档的完整性、权威性及其观点立场正确性做任何保证或承诺!文档内容仅供研究参考,付费前请自行鉴别。
3、如文档内容存在违规,或者侵犯商业秘密、侵犯著作权等,请点击“违规举报”。

碎片内容

企业财务管理流程制度设计方案

您可能关注的文档

确认删除?
VIP
微信客服
  • 扫码咨询
会员Q群
  • 会员专属群点击这里加入QQ群
客服邮箱
回到顶部