电脑桌面
添加小米粒文库到电脑桌面
安装后可以在桌面快捷访问

台背回填施工工艺

台背回填施工工艺_第1页
1/12
台背回填施工工艺_第2页
2/12
台背回填施工工艺_第3页
3/12
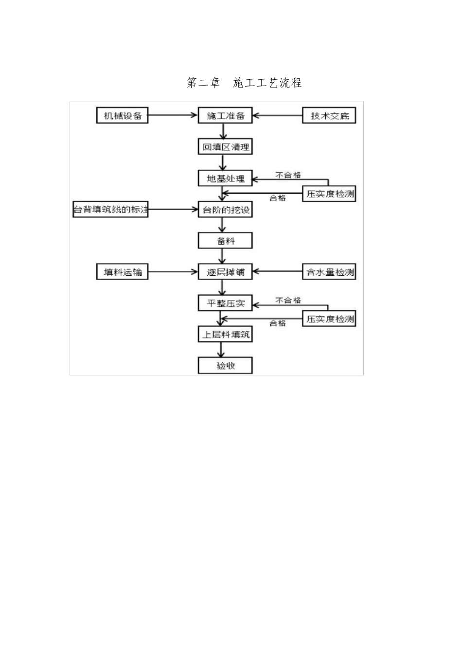
台背回填标准化施工工艺工法 第二章 施工工艺流程 第三章 施工准备 3.1 施工人员准备 成立桥(涵)台背回填专业作业队伍,明确对应责任人和职责范围,对工程质量层层严格把关,并对各管理专班全部些人员相关资料信息上报驻地办及总监办存档立案。 3.2 施工技术准备 熟悉相关设计图纸及法律规范要求,制订台背回填技术方案,项目部(项目各分部 )组织各作业班组施工人员进行全方面施工技术交底工作,明确职责,使全部作业人员都明确每道工序操作关键点和工艺流程。 3.3 施工机械准备 配置专用成套回填设备,包含挖掘机、压路机、推土机、小型压实机具等。 因为作业场地狭小,所配置机械设备性能要良好,压路机提议通常实行 16T~22T 振动压路机为宜,碾压遍数可参考首件工程总结数据确定。 3.4 填料准备 根据设计图纸和法律规范要求,依照一个结构物所需填筑量,分一次或数次在需填筑结构物附近预先平整场地上提前备料,回填材料须经过检验,检验合格后,经驻地办、总监办专班责任人现场认可后方可使用。 3.5 施工现场准备 现场设置安全警戒线和安全警示牌,禁止无关人员进入施工现场。平整出必要填料堆放场地,架设施工用电所需电力设施并做好施工用电安全工作。填料运输通道保持通畅,以确保填料供给满足回填要求。在桥(涵)台背墙面上显著位置用油漆标明分层标识以及层数编号。 3.6 建立填筑台账 驻地办、总监办及施工单位应对每座桥(涵)台背回填建立逐层填筑台账,做到“一物一档”:填前准备、每层填筑、回填完成整个施工过程应拍摄彩色照片留档,照片内容必须分别反应出一个结构物桥(涵)台背回填全貌,并注明结构物桩号、回填范围,回填总厚度、分层厚度、回填材料及相关检测资料等。 第四章 工艺施工关键点 4.1 台(涵)隐蔽工程验收 回填前,在现场监理人员监督下施工项目部对确定回填台(涵)隐蔽工程进行验收,重点检验涵管接头处理、沉降缝处理、基坑积水及淤泥去除等相 关隐蔽工程质量,检验处理合格经监理工程师同意后,方可进行台背回填施工。 4.2 首件工程 严格执行工程首件制,在每种类型结构物桥(涵)台背回填施工前,必须先做试验工程,经过试验工程准确摸清和掌握施工压实工艺主要参数(包含机械组合、压路机规格、松铺厚度、碾压遍数、最好含水率等),形成总结汇报后用以指导同类型后续工程规模化施工。试验工程施作时,驻地办监理工程师要全过程监控和旁站。 首件工程完成后,要...

1、当您付费下载文档后,您只拥有了使用权限,并不意味着购买了版权,文档只能用于自身使用,不得用于其他商业用途(如 [转卖]进行直接盈利或[编辑后售卖]进行间接盈利)。
2、本站所有内容均由合作方或网友上传,本站不对文档的完整性、权威性及其观点立场正确性做任何保证或承诺!文档内容仅供研究参考,付费前请自行鉴别。
3、如文档内容存在违规,或者侵犯商业秘密、侵犯著作权等,请点击“违规举报”。

碎片内容

台背回填施工工艺

确认删除?
VIP
微信客服
  • 扫码咨询
会员Q群
  • 会员专属群点击这里加入QQ群
客服邮箱
回到顶部