电脑桌面
添加小米粒文库到电脑桌面
安装后可以在桌面快捷访问

基于51单片机的音乐播放器

基于51单片机的音乐播放器_第1页
1/4
基于51单片机的音乐播放器_第2页
2/4
基于51单片机的音乐播放器_第3页
3/4
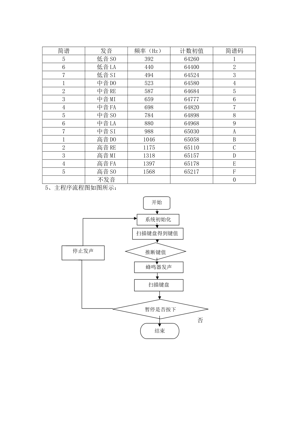
基于 51 单片机的音乐播放器制作一、设计原理乐曲中有不音符,实质就是不同频率的声音。通过单片机产生不同的频率的脉冲信号,经过放大电路,由蜂鸣器放出,就产生了美妙和谐的乐曲。二、AT89C51 简介AT89C51:是一种 4K 字节 FLASH 存储器的低电压、高性能 CMOS 8 位微处理器,俗称单片机。AT89C2051 是一种带 2K 字节闪存可编程可擦除只读存储器的单片机。单片机的可擦除只读存储器可反复擦除 1000 次。该器件采纳 ATMEL 高密度非易失存储器制造技术制造,与工业标准的 MCS-51 指令集和输出管脚相兼容。由于将多功能 8 位 CPU 和闪耀存储器组合在单个芯片中,ATMEL 的 AT89C51 是一种高效微控制器,AAT89C2051 是它的一种精简版本。AT89C51 单片机为很多嵌入式控制系统提供了一种灵活性高且价廉的方案。 主要功能特性:1)与 MCS-51 兼容;2)4K 字节可编程 FLASH 存储器;3)全静态工作:0Hz-24MHz;4)128×8 位内部 RAM;5)两个 16 位定时器/计数器;6)5 个中断源;7)可编程串行通道;8)低功耗的闲置和掉电模式;9)片内振荡器和时钟电路。三、硬件结构下图是以 AT89C51 单片机为核心的音乐播放器系统硬件设计结构图。该系统主要是由复位电路、按键电路、时钟电路、中心模块、扬声器驱动等组成。其工作原理为:此音乐播放器,有三个按键及控制按钮:播放/暂停、下一曲、上一曲;通过控制按钮控制单片机,播放所要求的音乐,并通过放大电路和喇叭输出声音。复位电路按键电路RESETP1.0-P1.5AT89C51P2.7XTAL1XTAL2晶振扬声器驱动三、简易仿真原理图四、音乐发声设计原理4.1 发声原理一首乐曲是由多个音符构成的。每个音符都对应着一个确定的频率,乐曲中不同的音符,实质就是不同频率的声音;另外每个音符会根据乐曲的要求设定一个确定的节拍。可以控制单片机不同频率不同节拍的脉冲信号,蜂鸣器发出就产生了美妙和谐的乐曲。4.2 单片机产生不同频率脉冲信号的原理1、要产生音频脉冲,只要算出来某一个音频的脉冲(1/频率),然后将此周期除以 2,即为半周期的时间,利用定时器计时这半周期的时间,每当计时到后就降输出脉冲 I/O 反相,然后重复计时此半周期的时间再对 I/O 反相,就可以在 I/O 脚上得到此频率的脉冲。2、计算脉冲值与频率的关系公式如下:N=Fi/2/Fr其中 N 表示计数值;Fi 表示内部计时一次为 1uS,故其频率为 1MHz;Fr 表示要产生的频率。3、其计数值的求法如下:T...

1、当您付费下载文档后,您只拥有了使用权限,并不意味着购买了版权,文档只能用于自身使用,不得用于其他商业用途(如 [转卖]进行直接盈利或[编辑后售卖]进行间接盈利)。
2、本站所有内容均由合作方或网友上传,本站不对文档的完整性、权威性及其观点立场正确性做任何保证或承诺!文档内容仅供研究参考,付费前请自行鉴别。
3、如文档内容存在违规,或者侵犯商业秘密、侵犯著作权等,请点击“违规举报”。

碎片内容

基于51单片机的音乐播放器

您可能关注的文档

文森传品+ 关注
实名认证
内容提供者

一家传播文化教育的小店,资料丰富,随意挑选。

确认删除?
VIP
微信客服
  • 扫码咨询
会员Q群
  • 会员专属群点击这里加入QQ群
客服邮箱
回到顶部