电脑桌面
添加小米粒文库到电脑桌面
安装后可以在桌面快捷访问

基于单片机的智能路灯控制系统外文文献样本

基于单片机的智能路灯控制系统外文文献样本_第1页
1/11
基于单片机的智能路灯控制系统外文文献样本_第2页
2/11
基于单片机的智能路灯控制系统外文文献样本_第3页
3/11
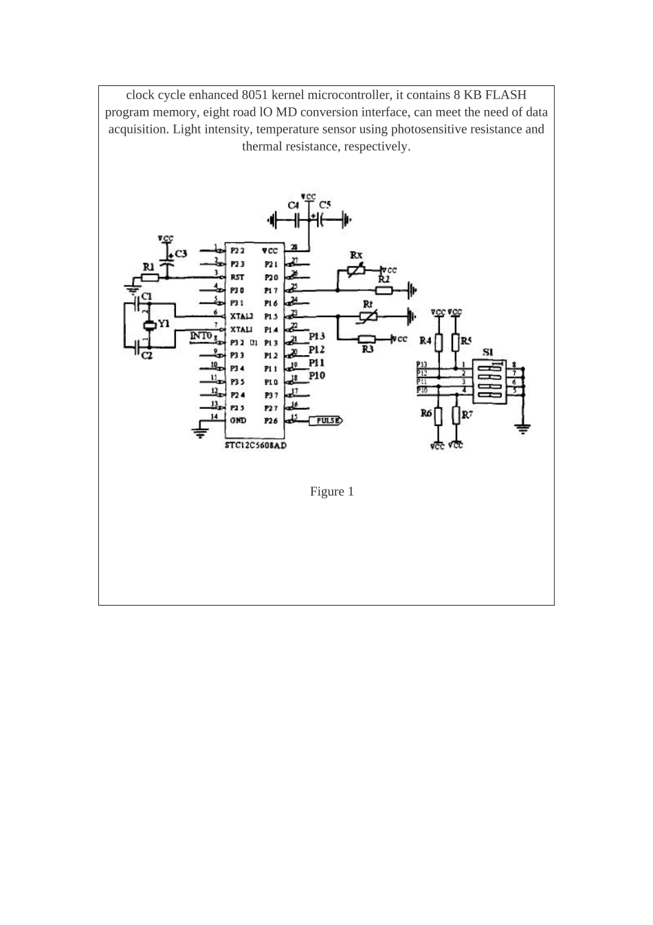
毕业设计(论文)外文资料翻译系 别 光电信息系 专 业 测控技术与仪器 班 级 B090102 姓 名 马丽娜 学 号 36 外文出处 Spriger Link 附 件 1. 原文 ; 2. 译文 3 月Based on single chip microcomputer intelligent street light control system【 abstract 】 A street light automatic control system design, combined with the control, electric lamp switch control function; And street lamp fault detection and fault street lamp according to the function of the number. Use on STC 89C51 as the core Control unit; Using DS1302 clock chip to control the point open to turn off the lights when street lamps; By a photosensor complete collection of ambient light and street light fault detection, so as to realize the number of optically controlled open to turn off the lights and fault street lamp display. This system Can through the RS - 232 communication port with the street light control room of the upper machine communication.【key words】STC 89C51; Clock chip DS1302; photosensorIntroductionFor the most part at present domestic cities and regions of the street lamp Lighting adopts electric control, time control and single point of electrons Control, maintenance management and manual inspections and the masses The traditional way, because of the lack of scientific and effective monitoring Means, large area lighting during the day, night not large area Light phenomenon occurs frequently, often can't find and in a timely manner Processing, not only caused power resources, human resources Cost, improve the operating costs of the system and to citizens Life bring inconvenience.Intelligent road lighting system can according to different area Domain of different functional requirements, at different times and different every day Natural li...

1、当您付费下载文档后,您只拥有了使用权限,并不意味着购买了版权,文档只能用于自身使用,不得用于其他商业用途(如 [转卖]进行直接盈利或[编辑后售卖]进行间接盈利)。
2、本站所有内容均由合作方或网友上传,本站不对文档的完整性、权威性及其观点立场正确性做任何保证或承诺!文档内容仅供研究参考,付费前请自行鉴别。
3、如文档内容存在违规,或者侵犯商业秘密、侵犯著作权等,请点击“违规举报”。

碎片内容

基于单片机的智能路灯控制系统外文文献样本

您可能关注的文档

一帆文传+ 关注
实名认证
内容提供者

欢迎光临店铺,各类公文供您挑选。

确认删除?
VIP
微信客服
  • 扫码咨询
会员Q群
  • 会员专属群点击这里加入QQ群
客服邮箱
回到顶部