电脑桌面
添加小米粒文库到电脑桌面
安装后可以在桌面快捷访问

钢结构监理实施细则4

钢结构监理实施细则4_第1页
1/7
钢结构监理实施细则4_第2页
2/7
钢结构监理实施细则4_第3页
3/7
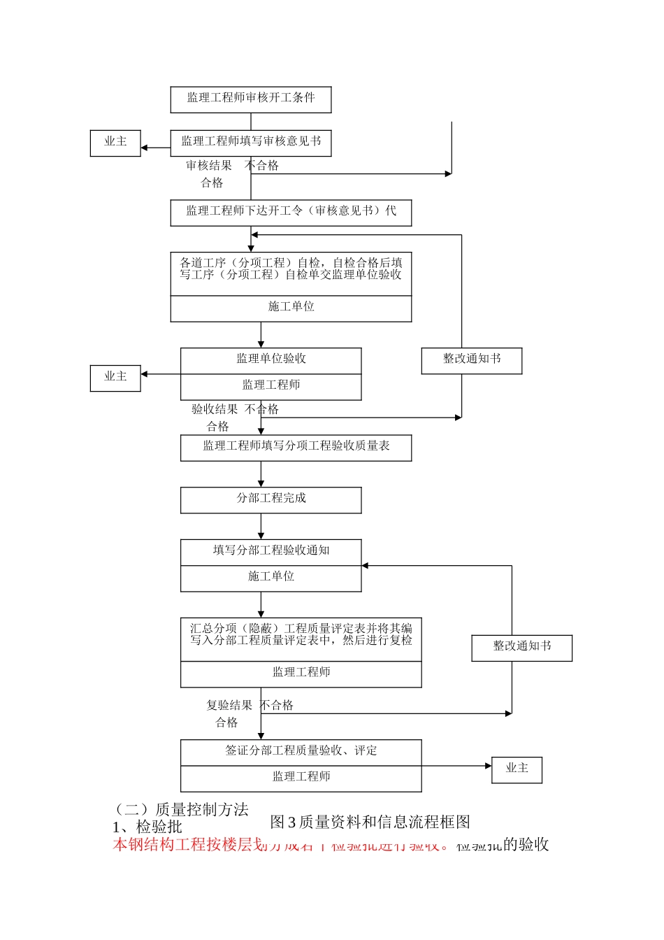
一、工程概况二、监理内容及依据1、已批准的杭州市城建设计院、设计文件、设计图纸。2、已批准的浙江省工程咨询有限公司编制的监理规划。3、已批准的中国二局(沪)公司施工组织设计方案。4、《建筑工程施工质量验收统一标准》GB50300-2001; 《钢结构工程施工质量验收法律规范》GB50205-2001;以上设计中采纳的国家及行业有关技术法律规范标准。三、施工阶段的质量控制系统与方法 (一)质量控制内容、控制系统、流程、质量资料流程1、施工阶段的质量控制是由投入的原、辅材料的质量控制开始,直到完成工程质量检验为止的系统控制过程,本工程施工质量控制按施工准备,施工进行,施工验收三阶段进行,详见控制图 1。图 1 施工阶段质量控制的系统过程框图2、按上述质量控制内容和系统,监理工程师和施工承包单位在施工阶段对质量控制的工作流程如图 2 所示。 准备内容 施工阶段质量控制施工准备阶段控制施工进行阶段控制施工验收阶段控制施工准备阶段开工报告审核施工过程中设计及图纸审查施工组装工艺流程中间产品质量控制成品质量检验工程质量检验资料施工人员质量控制施工方法检验方法质量控制施工所需设备检验设备质量措施施工现场、技术、管理、环境质量控制工序控制工序交接间控制开工准备 填写开工申请单审核开工条件整改施工单位 企业资格证书复印件材料试验资格证书复印件施工组织计划准备人员到场情况材料到场情况和材料试验报告施工单位检查结果 不合格 审核 结果 不合格 合格 自检结果 不合格 合格 合格 图 2 施工阶段质量控制流程图3、监理工程师应按施工顺序、进度和监理计划及时审核签署有关质量文件、报表,其流程如图 3 所示:下达开工令准备工序(分项工程)各分项(隐蔽)工程自检填写分项(隐蔽)工程自检单通知监理单位验收现场检查填写分项(隐蔽)工程质量评定表分部工程完成整改监理工程师监理工程师施工单位施工单位施工单位监理工程师测试中心抽检监理工程师监理工程师施工单位填写开工申请单整改通知书审核意见书代 审核结果 不合格 合格 验收结果 不合格 合格 复验结果 不合格 合格 (二)质量控制方法 1、检验批 本钢结构工程按楼层划分成若干检验批进行验收。检验批的验收监理工程师审核开工条件监理工程师填写审核意见书业主监理工程师下达开工令(审核意见书)代各道工序(分项工程)自检,自检合格后填写工序(分项工程)自检单交监理单位验收施工单位监理单位验收监理工程...

1、当您付费下载文档后,您只拥有了使用权限,并不意味着购买了版权,文档只能用于自身使用,不得用于其他商业用途(如 [转卖]进行直接盈利或[编辑后售卖]进行间接盈利)。
2、本站所有内容均由合作方或网友上传,本站不对文档的完整性、权威性及其观点立场正确性做任何保证或承诺!文档内容仅供研究参考,付费前请自行鉴别。
3、如文档内容存在违规,或者侵犯商业秘密、侵犯著作权等,请点击“违规举报”。

碎片内容

钢结构监理实施细则4

确认删除?
VIP
微信客服
  • 扫码咨询
会员Q群
  • 会员专属群点击这里加入QQ群
客服邮箱
回到顶部