电脑桌面
添加小米粒文库到电脑桌面
安装后可以在桌面快捷访问

钢结构监理实施细则2

钢结构监理实施细则2_第1页
1/15
钢结构监理实施细则2_第2页
2/15
钢结构监理实施细则2_第3页
3/15
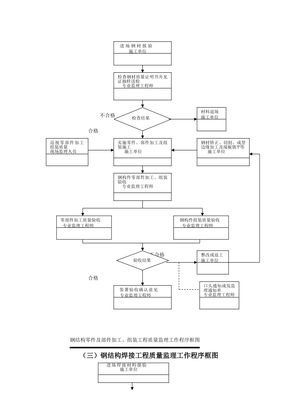
目 录一、编制依据二、钢结构分部工程概述三、钢结构分部的监理工作流程四、钢结构分部工程监理工作控制要点和目标值(一)、原材料及成品进场验收(二)、钢结构焊接工程(三)、紧固件连接(四)、钢结构零、部件加工(五)、钢结构预拼装工程(六)、单层钢结构安装工程(七)、钢结构涂装工程五、钢结构分部工程监理工作的方法和措施(一)、施工单位资质审查(二)、焊工素养的审查(三)、图纸会审及技术准备(四)、施工组织设计方案审查(五)、例会制度(六)、施工管理质量监理(七)、质量要素监理(八)、质量检验和见证检测计划为了有计划、有步骤、有目标地对“三万锭精品纱生产线工程”钢结构部分实施监理,指导监理部开展监理工作,结合本工程特点及实际情况制定钢结构分部监理实施细则。一、编制依据1.建筑工程监理法律规范 GB50319—20002.建筑工程施工质量验收法律规范 GB50300—20013.钢结构工程施工质量验收法律规范 GB50205—20254.建筑钢结构焊接技术规程 JGJ81—20255.冷弯薄壁型钢结构技术法律规范 JGJ18—20256.门式钢架轻型房屋钢结构技术规程 CECS102—20257.钢结构高强度螺栓连接的设计、施工及验收规程 JGJ82—19918.本工程的《监理规划》9.怀化市鹤城区建筑设计院设计的钢结构图纸10.经审批的本工程施工组织设计二、钢结构概述本工程为三万锭精品生产线,由 24 榀钢架组成,跨度 31.2m,钢柱最高8.77m,最低处 6.6m,钢柱的断面 H400~900×300×6×12,框架梁断面 H750~900×250×6×10,檩条采纳 C250×70×20×2.5,屋面板采纳 0.4mm 厚 820 型镀锌彩钢板(暗扣板)。三、钢结构分部监理工作流程 (一)单层钢结构工程施工质量监理工作总程序框图 不合格 合格品 不合格 合格 不合格 合格 品 不合格 单层钢结构工程施工质量监理工作总程序框图 (二)钢结构零件及部件加工、组装工程质量监理工作程序框图原材料及半成品进场报验施工单位现场检查外观质量并见证抽样送检专业监理工程师零、部件加工(焊接)组装施工单位 实施单层钢结构吊装 施工单位实 施 钢 结 构 涂 装 工 程施工单位单层钢结构分部验收总监理工程师平行或巡视检查 现场监理人员 旁站监督或平行检现场监理人员平行检验或巡视抽检现场监理人员材料退场施工单位整改或返施工单位口头通知或发监理通知单专业监理工程师口头通知或发监理通知单专业监理工程师 不合格 合格 不合格 合格 钢结...

1、当您付费下载文档后,您只拥有了使用权限,并不意味着购买了版权,文档只能用于自身使用,不得用于其他商业用途(如 [转卖]进行直接盈利或[编辑后售卖]进行间接盈利)。
2、本站所有内容均由合作方或网友上传,本站不对文档的完整性、权威性及其观点立场正确性做任何保证或承诺!文档内容仅供研究参考,付费前请自行鉴别。
3、如文档内容存在违规,或者侵犯商业秘密、侵犯著作权等,请点击“违规举报”。

碎片内容

钢结构监理实施细则2

确认删除?
VIP
微信客服
  • 扫码咨询
会员Q群
  • 会员专属群点击这里加入QQ群
客服邮箱
回到顶部