电脑桌面
添加小米粒文库到电脑桌面
安装后可以在桌面快捷访问

017质量控制流程-建筑采暖卫生与煤气工程质量控制流程a

017质量控制流程-建筑采暖卫生与煤气工程质量控制流程a_第1页
1/3
017质量控制流程-建筑采暖卫生与煤气工程质量控制流程a_第2页
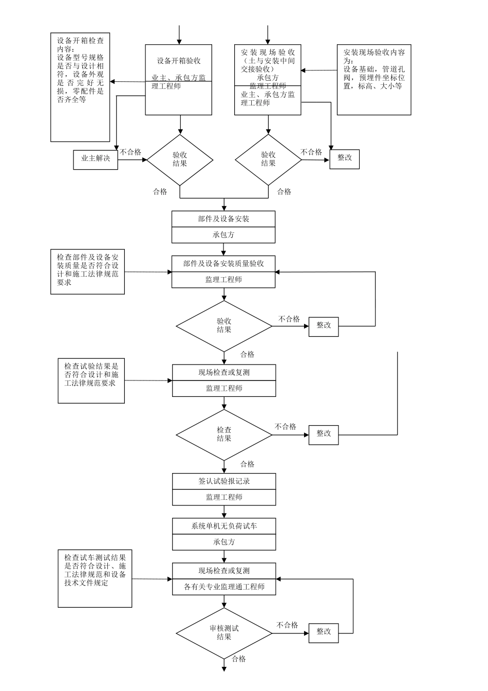
2/3
017质量控制流程-建筑采暖卫生与煤气工程质量控制流程a_第3页
3/3
017 质量控制流程-建筑采暖卫生与煤气工程质量控制流程 a不合格同意不同意熟悉图纸将工艺图与土建图对比,核查有无矛盾或参加图纸会审监理工程师填写开工申请承包方审核开工申请监理工程师制作零部件,预埋件及隐藏工程监理工程师审 核结 果按设计要求验收施工材料或器材,必要时作材性试验监理工程师或监理试验工程师审 批结 果现场验收制作的零部件预埋件及隐藏工程监理工程师签字零部件制作质量验收单或隐藏工程验收单监理工程师部件及设备预备安装审核内容包括:· 承包方分包方的资质证件;· 有关工种操作人员的上岗证书;· 施工组织设计施工方案等;按要求填写各栏目:· 施工组织设计,施工方案· 工人,技术人员数量· 机械品种,数量· 承包方,分包方资质证件承包方修改完善整改检查器材规格型号是否与设计相符,质 保 文 件 是 否 齐全,外观有无质量咨询题检查零部件制作和隐藏工程是否符合设计要求不合格合格不合格合格合格不合格合格不合格不合格设备开箱验收业主、承包方监理工程师安 装 现 场 验 收(土与安装中间交接验收)承包方监理工程师业主、承包方监理工程师安装现场验收内容为:设备基础,管道孔阀,预埋件坐标位置,标高、大小等设备开箱检查内容:设备型号规格是否与设计相符,设备外观是 否 完 好 无损,零配件是否齐全等验收结果验收结果整改业主解决合格部件及设备安装承包方现场检查或复测各有关专业监理通工程师系统单机无负荷试车承包方签认试验报记录监理工程师现场检查或复测监理工程师部件及设备安装质量验收监理工程师验收结果整改检查结果整改检查试验结果是否符合设计和施工法律规范要求检查试车测试结果是否符合设计、施工法律规范和设备技术文件规定审核测试结果整改检查部件及设备安装质量是否符合设计和施工法律规范要求合格不合格签认单机试运转记录监理工程师由业主负责,对系统进行负荷试验测定与调整业主、设计单位、承包方、监理工程师测试结果整改审核竣工资料监理工程师签认测定数量与调整报告业主、承包方、监理工程师审核该单项所有质量检验评定表及评定等级监理工程师竣工交付使用审查质量检验评定是 否 符 合 GBJ302- 88 评 定 标 准 要求

1、当您付费下载文档后,您只拥有了使用权限,并不意味着购买了版权,文档只能用于自身使用,不得用于其他商业用途(如 [转卖]进行直接盈利或[编辑后售卖]进行间接盈利)。
2、本站所有内容均由合作方或网友上传,本站不对文档的完整性、权威性及其观点立场正确性做任何保证或承诺!文档内容仅供研究参考,付费前请自行鉴别。
3、如文档内容存在违规,或者侵犯商业秘密、侵犯著作权等,请点击“违规举报”。

碎片内容

017质量控制流程-建筑采暖卫生与煤气工程质量控制流程a

一帆文传+ 关注
实名认证
内容提供者

欢迎光临店铺,各类公文供您挑选。

确认删除?
VIP
微信客服
  • 扫码咨询
会员Q群
  • 会员专属群点击这里加入QQ群
客服邮箱
回到顶部