电脑桌面
添加小米粒文库到电脑桌面
安装后可以在桌面快捷访问

住宅工程设计若干技术规定2025版

住宅工程设计若干技术规定2025版_第1页
1/12
住宅工程设计若干技术规定2025版_第2页
2/12
住宅工程设计若干技术规定2025版_第3页
3/12
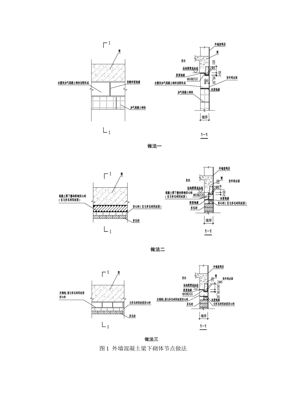
福建省住宅工程设计若干技术规定福建省住房和城乡建设厅2025 年 01 月一 建筑专业第一条高层住宅电梯设置应严格执行《福建省住房和城乡建设厅关于加强高层住宅电梯设计管理的通知》(闽建设[2025]10 号)的规定。第二条设电梯的住宅每单元至少应设置一台可容纳担架的电梯,候梯厅深度不应小于多台电梯中最大轿厢深度,且不应小于 1。8m,候梯厅应设置设扶手。[条文说明]:为实现在宅高龄老人或其他重症患者紧急送医的便利性,做出本条规定.第三条外墙防渗漏技术措施应符合下列规定:1 外墙填充墙应严格执行《非承重砌块墙体裂缝控制技术导则》(闽建科[2025]50 号)的技术要求。2 外墙应进行墙面整体防水,满足《建筑外墙防水工程技术规程》(JGJ/T 235-2025)的相关要求。3 凸出于建筑外墙的水平构件(空调板、自由排水的雨披等)均应在与外墙交接处设高度不小于 100mm 的混凝土反口。4 迎水面外墙混凝土梁的下端应做企口型止水带(详见图 1),企口高度不少于 50mm。图 1 外墙混凝土梁下砌体节点做法5 迎水面外窗洞口四周应采纳现浇钢筋混凝土浇筑成封闭式企口型止水带,企口高度宜为 40—60mm,若因窗框宽度较大等原因造成无法做成企口型的,外窗附框应与洞口现浇混凝土同时成型(详见图 2)。[条文说明]:(1)福建省《非承重砌块墙体裂缝控制技术导则》详细规定了我省外墙常用非承重砌块的材料性能、设计施工技术要点,是防止外墙渗漏的基本保证,应严格执行.(2)根据《建筑外墙防水工程技术规程》(JGJ/T235—2025)附录 A,福建省各地市年降雨量均为 800mm 以上,且基本风压值均为0。3kN/m2及以上,台风暴雨中住宅建筑外墙出现渗漏的情况屡见不鲜,因此本条规定住宅外墙应进行墙面整体防水,具体做法满足《建筑外墙防水工程技术规程》的相关要求。图 2 外窗窗洞防渗漏做法第四条内墙面、楼地面防渗漏技术措施应符合下列规定:1 卫生间墙面防水层应沿其内侧墙面设至距楼地面不小于 2.0m 处,以上至楼板底部分应设防潮层,与楼地面防水层应形成整体,满足《住宅室内防水工程技术法律规范》(JGJ 298-2025)的相关规定。2 排气(烟)道预留洞口应按设计要求设置加强筋,且洞口周边必须上翻不小于 120㎜高 50㎜宽的现浇钢筋混凝土挡水带。3 厕浴间等有防水要求的房间,穿楼板管道应预埋成品止水节(详见图3)。图 3 卫生间、屋面成品止水节预埋示意图[条文说明]:(1)为满足住户采纳非封闭式洗浴设施时卫生间内墙面...

1、当您付费下载文档后,您只拥有了使用权限,并不意味着购买了版权,文档只能用于自身使用,不得用于其他商业用途(如 [转卖]进行直接盈利或[编辑后售卖]进行间接盈利)。
2、本站所有内容均由合作方或网友上传,本站不对文档的完整性、权威性及其观点立场正确性做任何保证或承诺!文档内容仅供研究参考,付费前请自行鉴别。
3、如文档内容存在违规,或者侵犯商业秘密、侵犯著作权等,请点击“违规举报”。

碎片内容

住宅工程设计若干技术规定2025版

您可能关注的文档

确认删除?
VIP
微信客服
  • 扫码咨询
会员Q群
  • 会员专属群点击这里加入QQ群
客服邮箱
回到顶部