电脑桌面
添加小米粒文库到电脑桌面
安装后可以在桌面快捷访问

冲击碾压施工工艺

冲击碾压施工工艺_第1页
1/8
冲击碾压施工工艺_第2页
2/8
冲击碾压施工工艺_第3页
3/8
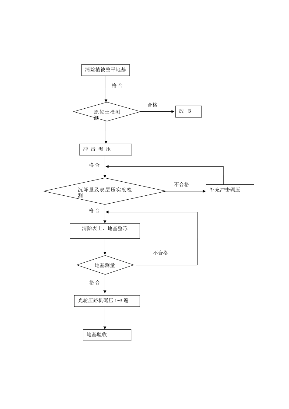
3 冲击碾压地基处理3。1 冲击碾压地基处理机理及技术要求3.1.1 冲击碾压地基处理机理1 冲击碾压是岩土工程压实技术的最新进展。冲击压路机由牵引车带动非圆形轮滚动,多变形滚轮的大小半径产生位能落差与行驶的动能相结合沿地面对土石材料进行静压、搓揉、冲击的连续冲击碾压作业,其高振幅、低频率的冲击碾压使工作面下深层土石的密实度不断增加.与一般压路机相比,其压实土石的效率提高了 3~4 倍(考虑上料、摊铺、平整的工序)。2 冲碾压适用于处理碎石土、砂土、低饱和度的粉土与黏性土、深陷性黄土、素填土和杂填土等地基的填前碾压,填方达到标高后的追密压实,土石混填、填石路堤分层夯实等。3 冲击压实也称非圆碾压是将传统振动压实的高频率小振幅改为低频率大振幅,是一种冲击和揉搓作用相结合的全新压实方法,能在压实作业中较大地增加对土石的压实能量。冲击压实机适合深层岩土及含水量较高的黏性土体压实。它将能量以冲击波方式传递于路基土体,改善土体的原状结构,使土体孔隙率减小,土的黏聚力 c 和内摩擦角值¢增大,抗剪能力提高,将土体未来的沉降量在冲击、振动、压实过程中提前实现,达到土体加固的效果。3.1。2 冲击碾压地基处理技术要求1 冲击碾压的设备为冲击压路机,是由 3~5 瓣的凸轮构成的轮式压路机,由配套的重型工业拖车牵引。2 冲击碾压之前,应进行碾压工艺性试验,取得碾压的深度、遍数、速度等施工参数,同时应考虑冲击可能对相邻建筑物带来的影响,并实行相应的隔振预防措施。 3。2。冲击碾压地基处理施工3.2。1 冲击压路机以非圆形轮进行原为静压、搓揉、冲击的周期性连续作业,产生强烈的冲击波,对地基进行冲击碾压。冲击压实工艺参数一般为冲击压路机工作质量 15600kg、冲击轮质量 2×5680kg;冲击轮形式为三边形凸轮、最大瞬间冲击力大于 250t、最佳工作速度为 10~15km/h、冲击能量 25Kj、压实宽度 2×900mm、牵引车功率不小于 225kW、冲击频率 60~110 次/min、填土层厚 40~60cm、最大爬坡坡度 25°.一次往返碾压后完成一遍压实,压实宽度为 4m.3.2。2 冲击碾压地基施工工艺1 采纳冲击碾压工艺对地基进行原位压实处理,施工工艺流程见图 3。2。22 工艺要点1)人工配合机械清除地基范围内的植被、种植土等.2)检测地基土各项指标是否满足设计要求,不满足必须进行换填或改良,满足要求则按试验确定的施工工艺和方法施工. 3)按工艺试验确定的碾压遍数碾压结束后,测量地基...

1、当您付费下载文档后,您只拥有了使用权限,并不意味着购买了版权,文档只能用于自身使用,不得用于其他商业用途(如 [转卖]进行直接盈利或[编辑后售卖]进行间接盈利)。
2、本站所有内容均由合作方或网友上传,本站不对文档的完整性、权威性及其观点立场正确性做任何保证或承诺!文档内容仅供研究参考,付费前请自行鉴别。
3、如文档内容存在违规,或者侵犯商业秘密、侵犯著作权等,请点击“违规举报”。

碎片内容

冲击碾压施工工艺

您可能关注的文档

一二三四传媒+ 关注
实名认证
内容提供者

大量资料供您选择,没有合适的可以联系小二。

确认删除?
VIP
微信客服
  • 扫码咨询
会员Q群
  • 会员专属群点击这里加入QQ群
客服邮箱
回到顶部