电脑桌面
添加小米粒文库到电脑桌面
安装后可以在桌面快捷访问

TBM-设备组装调试工艺作业指导书

TBM-设备组装调试工艺作业指导书_第1页
1/29
TBM-设备组装调试工艺作业指导书_第2页
2/29
TBM-设备组装调试工艺作业指导书_第3页
3/29
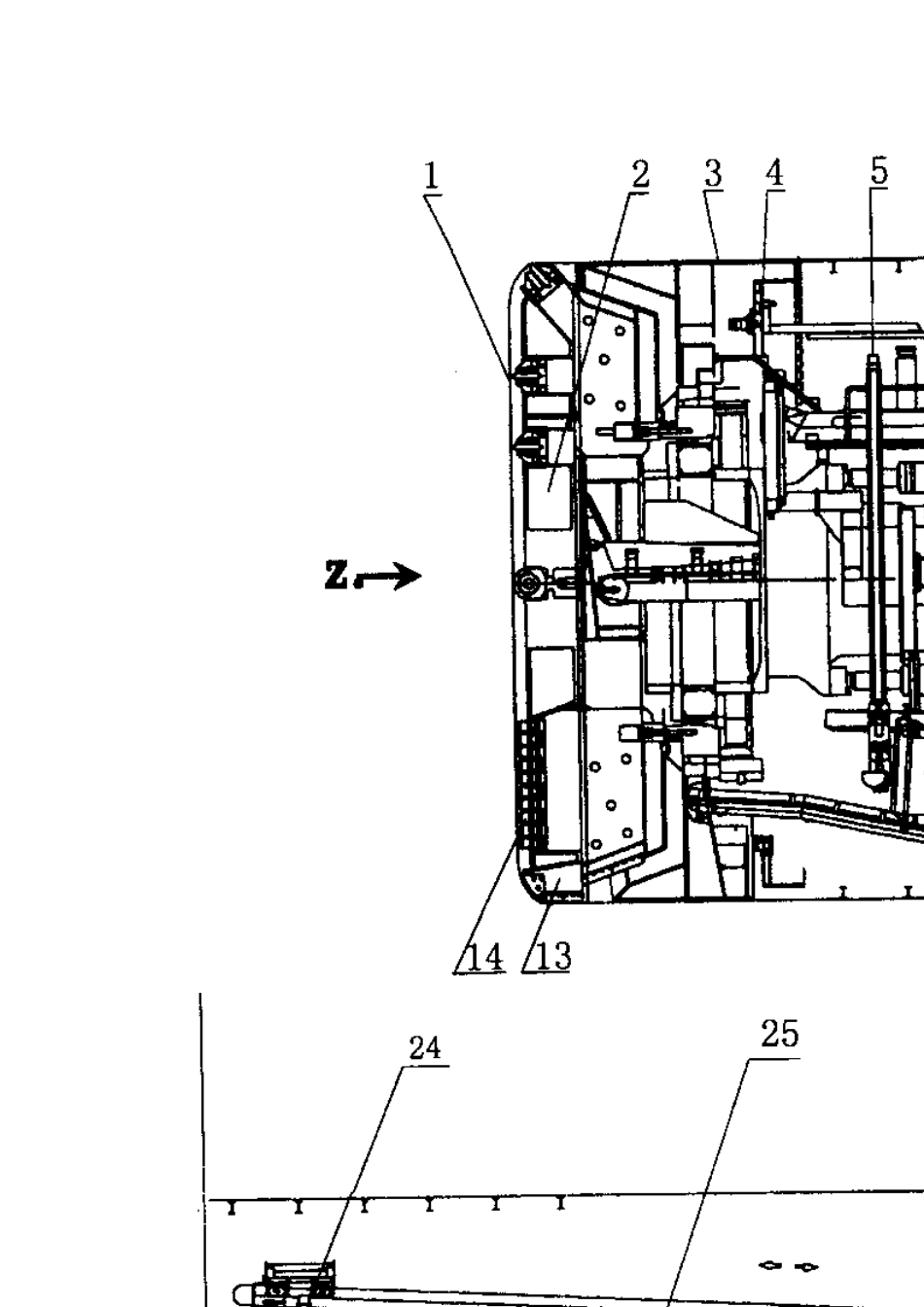
TBM 设备组装调试工艺作业指导书4.1.1 工艺概述TBM 由主机和后配套系统两大部分组成。主机用于破碎岩石、集碴转载;后配套系统用于出 碴、支护等。TBM 主机主要由刀盘、驱动系统、支撑和推进机构、机架、出碴输送机和操纵室等组成。刀 盘是破岩和集碴转载的执行机构;支撑和推进机构使掘进机迈步式向前推进,给刀盘施加推力; 机架由机头架、护盾组成;出碴输送机运出岩碴;操纵室内设有各种显示仪表、操作台等。以 TB880E 掘进机结构为例,见示意图 4.1.1-1,4.1.1-2。- 301 -图 4.1.1-1TBM 主机及后配套局部剖面图4、钢拱架安装器8、主电机—变速箱图 4.1.1-2TBM 刀盘及后支撑剖面图主要性能参数- 302 -①刀盘 ②刀具 ③刀盘护盾 ④前支撑 ⑤后支撑风除尘系统 ⑦主控室 ⑧喷浆系统 ⑨后配套系统图 4.1.1-3 秦岭隧道φ8800 敞开式 TBM 结构示意图TBM 现场组装工作分三个阶段,准备工作阶段、组装作业阶段、现场调试阶段。根据组装场 地的分类可分为洞外组装和洞内组装两种。准备工作阶段组装阶段现场调试阶段图 4.1.1-4 组装工作主要阶段根据施工现场组装场地的总体规划(TBM 在洞内组装或在洞外组装)和施工进度等条件,确 定 TBM 组装的总体相关流程。TBM 洞内组装:主机和设备桥在洞口组装完成并达到步进条件,进入步进洞室后,开始后配 套拖车的拆解运输,运输一部分,在工地组装一部分;主机再步进,再拆解运输,再组装,如此反复进行,根据洞内组装场地的大小和每节拖车的长度,确定单次拆解拖车的数量。把所有拖车 吊装完毕,再进行管线连接和调试工作。图 4.1.1-5 新乡隧道局制造公司正在4.1.1-6辽宁大伙房输水工程 TBM 的进行 TBM 的工厂组装洞内组装- 303 -图 4.1.1-7 辽宁大伙房输水工程 TBM 的洞内组装TBM 洞外组装:TBM 主机的组装按正常的组装程序进行,后配套的组装采用分节运输分节吊 装的方法(后配套拖车从组装工厂分体运输到组装现场),从最前一节开始依次吊装,依次向后。 最后一节拖车在所有工作完成不影响整个组装运输工作时再吊装到位。把所有拖车吊装完毕,再 进行管线连接和调试工作。4.1.2 作业内容主要作业工作:TBM 主机组装、设备桥的组装、后配套拖车的组装、设备调试4.1.3 质量标准及验收方法TBM 组装应满足掘进机设计安装要求,同时满足国家有关规范和标准。 一、组装技术规范和标准- 304 -TBM 各设备(系统)组装过程中,除符合设备厂家要...

1、当您付费下载文档后,您只拥有了使用权限,并不意味着购买了版权,文档只能用于自身使用,不得用于其他商业用途(如 [转卖]进行直接盈利或[编辑后售卖]进行间接盈利)。
2、本站所有内容均由合作方或网友上传,本站不对文档的完整性、权威性及其观点立场正确性做任何保证或承诺!文档内容仅供研究参考,付费前请自行鉴别。
3、如文档内容存在违规,或者侵犯商业秘密、侵犯著作权等,请点击“违规举报”。

碎片内容

TBM-设备组装调试工艺作业指导书

您可能关注的文档

确认删除?
VIP
微信客服
  • 扫码咨询
会员Q群
  • 会员专属群点击这里加入QQ群
客服邮箱
回到顶部