电脑桌面
添加小米粒文库到电脑桌面
安装后可以在桌面快捷访问

沥青砼工程监理实施细则VIP免费

沥青砼工程监理实施细则_第1页
1/24
沥青砼工程监理实施细则_第2页
2/24
沥青砼工程监理实施细则_第3页
3/24
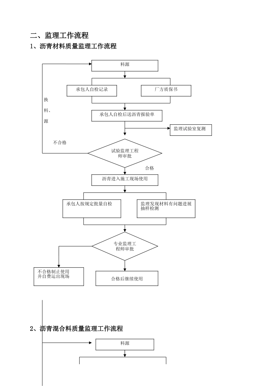
目录一、工程概况...............................................2二、监理工作流程...........................................4三、监理控制要点及目的值...................................7四、沥青混凝土质量监理措施................................10五、平安文明监理措施......................................36六、环保监理措施..........................................37一、工程概况工程名称:·····工程地点:··········建立:·····勘察设计:············监理:···············施工:··························································································工程范围包括:主线············辅道·········································主要工程数量表:1、上面层4cmAC-13C细粒式沥青砼:····。2、中面层5cm中粒式沥青砼〔AC-20C〕:·····。3、下面层7cm粗粒式沥青砼〔AC-25C〕:······。监理工作根据:1、?建立工程监理?GB50319---20002、?公路沥青路面施工技术?〔JTJF40-2004〕3、?城镇道路工程质量检验评定?〔CJJ1-2021〕4、合同和设计图纸合格二、监理工作流程1、沥青材料质量监理工作流程换料、源不合格2、沥青混合料质量监理工作流程料源承包人自检记录厂方质保书承包人自检后送沥青报验单监理试验室复测试验监理工程师审批沥青进入施工现场使用承包人按规定批量自检监理发现材料有问题进展抽样检测专业监理工程师审批合格后继续使用不合格制止使用并自费运出现场料源合格不合格不合格换料源3、沥青砼工程监理检查工作流程签认中间交工证书总监〔或总监代表〕审批根据现场情况是否复检监理工程师查验断面高程测量监理工程师检测车上混合料温度现场监理人员进展摊铺监理旁站检查进展碾压整形监理旁站弯沉、压实度检测监理旁站验收质量检查、监施双方选位、双方检查填写质量检验单监理签认验收前施工自检合格并报有关资料合格批准签证控制温度、不合格回绝卸料检查外观质量按规定频率抽测松铺厚度、宽度检测平整度、坡度、路拱检查样桩、档板监测遍数与观外按规定频率随机抽样检测弯沉、压实度检查外观与平石交接部分检查平整度、路拱按规定频率随机抽检视需要而定返工不合格承包人自检记录厂方质保书承包人自检后送材料报验单监理试验室复验试验监理工程师审批沥青混合料配合比设计试验监理工程师审核监承双方共同取样检验合格后继续使用运至现场摊铺承包人按规定频率自检监理抽样检测拌和站试拌监理工程师审核专业监理工程师审批不合格铲除重铺不合格证明合格合格4、沥青面层工程质量监理工作流程不合格施工前·审查施工工艺流程沥青混合料配合比以承包人建议的配合比做比照试验·检查承包人进场的机械、试验设备·检查放样及下承层整修、清扫情况试验路检测·沥青混合料级配合油量·随悍检查拌和摊铺、碾压各阶段温度·测定压实度厚度及各项几何指标批准试验路段施工·工艺可行拌和配合比与设计一致·拌、运、铺、压各工序机械完好可以施工·试验设备标定正确拌·控制混合料加热温度出厂温度;·控制混合料进料计量·随时检查拌和摊铺、碾压各阶段温度合·测定压实度厚度及各项几何指标批准分项工程开工运·运输车辆覆盖防止污染防止降温·控制混合料运达工地温度输·运输车辆底应无积水为便于卸料只能涂刷经工程师同意的涂料摊·正确放样〔宽度、标高、横坡度等〕·清扫外表透层符合要求保持铺筑连续尽可能减少中间停顿次数铺·随铺随拉线检查平整度、横坡度、标高、厚度监理工程师施工控制监理旁站三、监理控制要点及目的值1、热拌沥青混合料质量应符合以下要求:主控项目1)道路用沥青的品种、标应符合现行有关和?政道路工程质量检验评定?〔CJJ1-2021〕第8.1节的有关规定。检查数量:按同一消费厂家、同一品种、同一标、同一批连续进场的沥青〔石油沥青每100t为1批改性沥青每50t为1批〕每批次抽检1次。检查...

1、当您付费下载文档后,您只拥有了使用权限,并不意味着购买了版权,文档只能用于自身使用,不得用于其他商业用途(如 [转卖]进行直接盈利或[编辑后售卖]进行间接盈利)。
2、本站所有内容均由合作方或网友上传,本站不对文档的完整性、权威性及其观点立场正确性做任何保证或承诺!文档内容仅供研究参考,付费前请自行鉴别。
3、如文档内容存在违规,或者侵犯商业秘密、侵犯著作权等,请点击“违规举报”。

碎片内容

沥青砼工程监理实施细则

您可能关注的文档

确认删除?
VIP
微信客服
  • 扫码咨询
会员Q群
  • 会员专属群点击这里加入QQ群
客服邮箱
回到顶部