电脑桌面
添加小米粒文库到电脑桌面
安装后可以在桌面快捷访问

工程质量监理程序框图(61页)VIP免费

工程质量监理程序框图(61页)_第1页
1/66
工程质量监理程序框图(61页)_第2页
2/66
工程质量监理程序框图(61页)_第3页
3/66
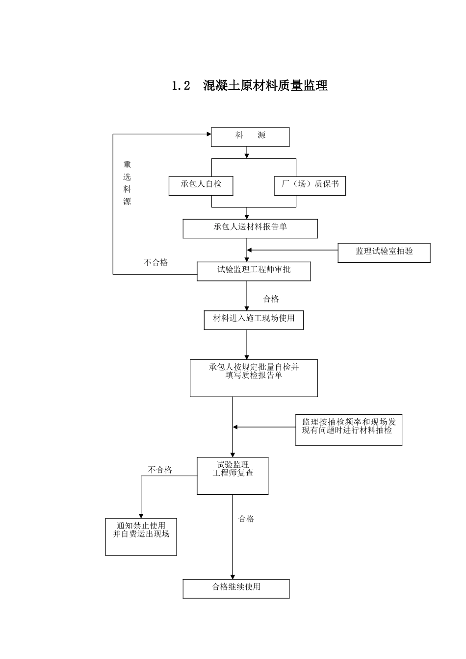
第三卷工程质量监理程序框图1主要建筑材料质量监理1.1基层原材料质量监理换料源不合格合格不合格合格原材料源承包人自检厂(场)质保书承包人自检后送材料报验单监理检测试验监理工程师审批材料进入施工现场使用承包人规定批量自检并填写报验单监理发现材料有疑问抽检试验监理工程师复查通知禁止使用并自费运出现场继续使用1.2混凝土原材料质量监理重选料源不合格合格不合格合格料源承包人自检厂(场)质保书承包人送材料报告单试验监理工程师审批材料进入施工现场使用承包人按规定批量自检并填写质检报告单监理按抽检频率和现场发现有问题时进行材料抽检试验监理工程师复查通知禁止使用并自费运出现场合格继续使用监理试验室抽验1.3钢材质量监理换厂家不合格合格不合格合格料源承包人自检厂方质保书钢材报验单监理试验室复验记录试验监理工程师审批钢材进入施工现场承包人按规定频率自检监理按抽检频率进行抽样检测试验监理工程师复查继续使用禁止进入现场1.4沥青材料质量监理换料源不合格合格不合格合格料源承包人自检厂(场)质保书送沥青报验单监理试验室复测试验监理工程师审批沥青进入施工现场使用承包人按规定批量自检监理按规定频率进行抽检报试验监理工程师复查继续使用禁止使用并自费运走1.5石料质量监理换料场不合格合格不合格合格料场承包人自检送材料报验单监理人员对材料场进行鉴定试验监理工程师审批石料进场使用监理按规定频率抽检承包人按规定频率自检填写报验单试验监理工程师审批继续使用通知禁止使用并自费运出现场1.6木材质量监理重选料不合格合格不合格合格木材料场承包人自检提交报验单监理试验室复验试验监理工程师审批进入现场使用承包人按规定频率自检监理人员按规定频率抽检试验监理工程师复查继续使用通知禁止使用并自费运出现场2路基工程质量监理2.1路基工程监理工作流程·审查承包人质量保证体系组织情况·审查承包人施工工艺流程·检查机具、人员、试验设备是否进场,能否达到开工条件召开工地会议·交换施工、监理人员名单,岗位分工·承包人汇报开工准备情况·监理介绍监理程序、技术要求,·复核土样试验·最大干密度最佳含水量·检查土源情况·机具组合·最佳施工长度·松铺厚度·压实度检查·检查路线范围内场地清理压实·检查松铺厚度,土料质量,清除土料中的有害物质·逐层逐段按规定频率检查压实度·每月定期检查(1~2次)路基几尺寸·检查承包人的恢复放样·路基整修,特别注意路槽各部位几何尺寸、平整度符合要求·组织分项工程验收检验合格由监理工程师签认资料汇总归档允许路面基层施工逐层逐段检查合格签认,并进入下道工序试验路合格批准承包人正式开工,并将试验路段作为工程一部分。符合开工条件批准承包人单项工程开工报告开工前准备试验路监理施工监理工程验收2.2路基填料监理另选料场不合格合格结论出入较大结论接近会同承包人踏勘料场取土样对比试验承包人送报验单试验监理工程师审批做标准击实试验确定干密度和最佳含水量双方试验对比试验监理工程师以中心试验室试验报告结论批准各土场各层次的标准干密度和最佳含水量双方重做试中心试验室审定2.3路堤填筑质量监理另选土场不合格重新碾选定土场,取样进行击实、液塑试验承包人监理试验实进行平行试验试验监理工程师审核批准上土监理工程师控制·控制松铺厚度·控制土质、剔除杂物等不适宜材料,控制不同土类混用·控制几何线型·控制表面大致平整进行碾压,监理旁站压实度检测监理、承包人双方选择位置,承包人检承包人送报验单监理试验工程师按规定频率抽验道路专业监理工程师审批进行下道工序压不合格2.4原地面清理及填前压实合格合格合格·检查放样·检查机具进场批准开工报告目测现场清理,检查不适宜材料的清除宜材料的清除检查洞穴、坑槽回填、压实、整平批准原地面碾压检查原地面碾压签认、验收、批准上土2.5填方路基监理检查施工前的准备工作符合填土条件批准上土监理工程师控制·控制松铺厚度·控制土质、剔除杂物等不适宜材料,控制不同土类混用·控制几何线型·控制表面大致平整监理旁站检查合格准备碾压(无计量支付)2.6填土压实监理不合格·检查已铺土含水量,...

1、当您付费下载文档后,您只拥有了使用权限,并不意味着购买了版权,文档只能用于自身使用,不得用于其他商业用途(如 [转卖]进行直接盈利或[编辑后售卖]进行间接盈利)。
2、本站所有内容均由合作方或网友上传,本站不对文档的完整性、权威性及其观点立场正确性做任何保证或承诺!文档内容仅供研究参考,付费前请自行鉴别。
3、如文档内容存在违规,或者侵犯商业秘密、侵犯著作权等,请点击“违规举报”。

碎片内容

工程质量监理程序框图(61页)

确认删除?
VIP
微信客服
  • 扫码咨询
会员Q群
  • 会员专属群点击这里加入QQ群
客服邮箱
回到顶部