电脑桌面
添加小米粒文库到电脑桌面
安装后可以在桌面快捷访问

沿江公路工程监理规划VIP免费

沿江公路工程监理规划_第1页
1/57
沿江公路工程监理规划_第2页
2/57
沿江公路工程监理规划_第3页
3/57
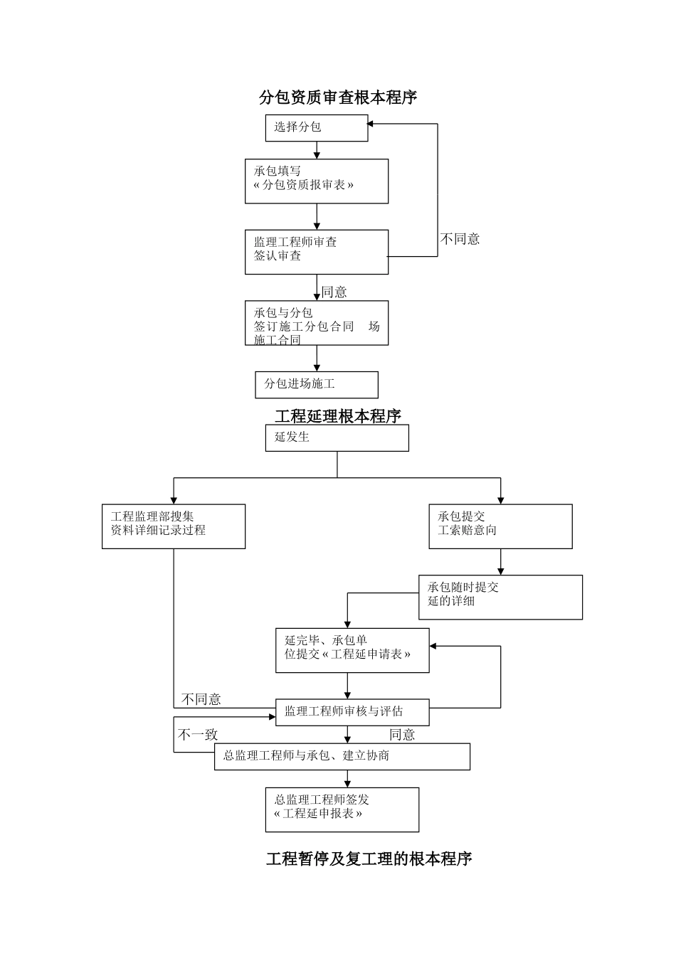
分包资质审查根本程序不同意同意工程延理根本程序不同意不一致同意工程暂停及复工理的根本程序工程监理部搜集资料详细记录过程承包提交工索赔意向承包随时提交延的详细延完毕、承包单位提交«工程延申请表»监理工程师审核与评估总监理工程师与承包、建立协商总监理工程师签发«工程延申报表»延发生选择分包承包填写«分包资质报审表»监理工程师审查签认审查承包与分包签订施工分包合同场施工合同分包进场施工非施工原因引起的暂停施工原因引起的暂停一般分包申报程序发生需暂停施工的情况总监理工程师签发?工程暂停?施工暂停局部施工消除工程暂停的因素消除工程暂停的因素具备复工条件总监理工程师应要求施工及时填写?工程复工报审表?并审核签认总监理工程师审核签认施工继续施工具备复工条件施工填写«工程复工报审表»及相关承包人选择分包人制定分包合同指定分包合同的审批程序监理工程师审查承包人分包工程的申请1、分包人的资质及证明2、分包工程工程及内容3、分包工程数量及金额4、分包工程工程所使用的施工与验收5、分包工程的工6、承包人与分包人的合同职责7、分包协议监理工程师向承包人签发分包工程批准单报业主批准承包人、分包人签订工程分包合同分包人进入工地施工不同意延审批程序业主〔或监理工程师〕制定分包工程进展对者进展资格审查评标确定承包人承包人同意否签发分包合同指定分包人进入工地监理工程师选择另外分包人修改分包合同条款按FIDIC条款规定进展变更让承包人自己承建分包工程是否索赔审批程序延发生承包人在首次发生后28天申报延申请意向书延是否连续以28天间隔的时间报延意向并提供有关资料延中止后28天内承包人报正式的申请书和最后详细资料总监理工程师或代表审批驻地监理工程师评审承包人业主签字备案否是施工质量监理流程索赔发生在发生后的28天内承包人向监理工程师申报索赔意向并抄送业主索赔是否持续发生在索赔意向书发出后的28天间隔内提交索赔临时详细索赔终止后28天内提价详细索赔申请书及帐单给监理工程师并抄送业主一份副本监理工程师审批开工准备填写〔开工申请单〕承包人审核〔开工申请单〕监理工程师审查结果开工工程完工自检承包人填报质量验收〔单〕承包人检查质量监理人员检查结果签署〔质量验收单〕监理工程师填写〔中间交工证书〕承包人单项工程、分部工程完工检查监理工程师检查结果验收、确认、签署〔中间交工证书〕监理工程师返工返工不同意同意并作不合格合格不合格合格工程进度控制监理工作程序图根据建立工程特点提出工程进度控制总目的分年度方案目的落实工程进度控制人员、机构明确任务编制建立工程准备工作进度方案审批设计提交的设计工作进度方案施行设计工作进度方案检查继续执行直到设计按完成制定工作进度方案审批承包人提交的施工总进度方案审批承包人提交的年度和分享施工进度方案施行工程进度进度方案检查继续施行直至工程开工审批承包人提交的缺陷责任进度方案施行缺陷责任进度方案直至完毕设计调整工作进度方案承包人修改调施工进度方案承包人修改总进度方案承包人修改工作进度方案设计修改工作进度方案承包人修改和调整施工进度方案不同意同意出现偏向与原方案一致不同意同意同意出现偏向与原方案一致不同意同意一般工程进度方案的编制程序图工程建立总限各阶段建立限和年度建立指标业主和监理工程师的要求确定方案限方案编制的准备工作初定进度方案方案对初定的多个方案方案进展分析、评价及有关的技术经济分析对方案方案进展评价比选确定进度方案方案交监理工程师审批审批贯彻和施行修改或调整搜集与方案编制有关的工程信息规定调查有关自然技术经济资料根据业主和监理工程师给定的总进度目的对各个方案进展比拟确定综合评价最优的方案执行方案不同意同意施工阶段进度监理工程流程图业主与承包人签订施工承包合同承包人编制施工总进度方案上报监理工程师审查批准、施行承包人编制详细工程工程和年度的施工进度方案并按月上报实际工程进度方案监理工程师审查进展计量支付进展方案进度与实际完成值的检查两者比照继续执行方案直到工程开工内容应附有主要劳动力方案主要材料进场方案主要机械设备进退场方案...

1、当您付费下载文档后,您只拥有了使用权限,并不意味着购买了版权,文档只能用于自身使用,不得用于其他商业用途(如 [转卖]进行直接盈利或[编辑后售卖]进行间接盈利)。
2、本站所有内容均由合作方或网友上传,本站不对文档的完整性、权威性及其观点立场正确性做任何保证或承诺!文档内容仅供研究参考,付费前请自行鉴别。
3、如文档内容存在违规,或者侵犯商业秘密、侵犯著作权等,请点击“违规举报”。

碎片内容

沿江公路工程监理规划

您可能关注的文档

确认删除?
VIP
微信客服
  • 扫码咨询
会员Q群
  • 会员专属群点击这里加入QQ群
客服邮箱
回到顶部