0可编辑可修改1第1页共27页中兴建设有限公司嘉道·狮子山花园工程项目部-1-一、工程概况嘉道·狮子山花园工程位于重庆市巴南区龙洲湾,本组团总建筑面积129650m2
施工场地周边区域对环境、粉尘、燥音控制等的要求较高,根据重庆市政府第164号令、《建筑工地文明施工标准》及《建筑施工安全检查标准》要求,为确保市政府的蓝天净空目标,我司针对施工现场的特点,编制本方案
二、安全文明施工及环境保护1、安全文明施工为保证本工程的顺利施工及树立良好的公司形象,制定如下的安全生产与文明施工目标和保证措施:安全生产与文明施工的整体目标提高全员安全和自保群防能力,轻伤事故频率控制在3‰以下,杜绝因工伤亡和重伤事故
加强机械设备管理,杜绝重大机械设备事故
消除火灾隐患,杜绝火灾事故
作好全体人员入场前和上岗前的培训教育,提高遵意守法的意识,不发生违法犯罪案件
采取强有力的措施,不产生严重环境污染
关心职工生活,加强卫生管理,不发生食物中毒和传染疾病
通过上述目标的管理,使这个工程施工文明、安全、有效地保证工程v1
0可编辑可修改2第2页共27页中兴建设有限公司嘉道·狮子山花园工程项目部-2-顺利进行,同时也体现了业主的社会形象
安全生产组织管理措施2
1成立由项目经理为首的、项目责任工程师和专职安全员组成的安全生产领导小组,组织领导施工现场的安全生产管理工作
2根据作业人员情况成立由专职安全员并领的“安全纠察队”每人佩戴项目经理部统一印制的“安全纠察”臂章,开始日常安全生产检查工作
3落实安全生产责任制,总部对项目,项目对作业单位,层层签订安全生产文明施工责任状,使安全生产责任层层落实到人
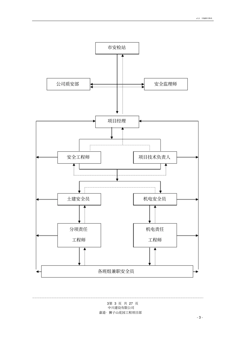
施工现场安全保证体系图详下图
0可编辑可修改3第3页共27页中兴建设有限公司嘉道·狮子山花园工程项目部-3-市安检站公司质安部安全监理师项目经理安全工程师项目技术负责人土建






