电脑桌面
添加小米粒文库到电脑桌面
安装后可以在桌面快捷访问

保安公司行政人事部权责工作流程VIP免费

保安公司行政人事部权责工作流程_第1页
1/8
保安公司行政人事部权责工作流程_第2页
2/8
保安公司行政人事部权责工作流程_第3页
3/8
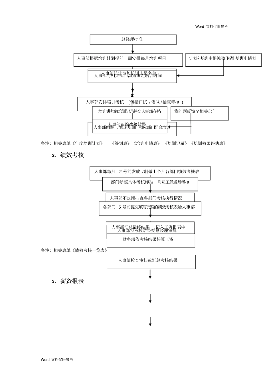
Word文档仅限参考Word文档仅限参考行政人事部权责工作流程1、招聘2、培训3、绩效考核4、薪资报表5、入职离职异动6、社保办理7、劳动合同签订备注:1、各项目点一线保安员无需用人部门复试,符合条件者可直接上岗。条件略有不符合由项目点决定是否留用。2、相关表单《人员需求表》《应聘登记表》。2、培训用人部门确定人员编制及定岗用人部门/项目点提出人员需求申请,每月最后三个工作日提交《人员需求表》给人事部人事部审核总经理批准1、招聘人事部发布招聘信息人事部筛选简历人事部安排初试/笔试用人部门复试若需总经理复试人事部通知应聘合格者报到人事部根据公司经营需要做培训需求调查人事部制定公司年度培训计划Word文档仅限参考Word文档仅限参考备注:相关表单《年度培训计划》《签到表》《培训申请表》《培训记录》《培训效果评估表》2、绩效考核备注:相关表单《绩效考核一览表》3、薪资报表总经理批准人事部根据培训计划提前一周安排每月培训项目计划外培训由相关部门提出培训申请划人事部组织/实施培训,相应部门配合培训人事部统计参加培训人员名单人事部与相关部门沟通确定培训时间人事部安排培训考核(包括口试/笔试/抽查考核)将问题反馈至相关部门培训讲师做培训记录并交人事部存档人事部追踪改善效果人事部每月2号前发放/制做上个月各部门绩效考核表人事部检查审核或汇总考核结果部门参照具体考核标准对员工做当月考核人事部不定期抽查各部门考核执行情况各部门5号前提交填写完整的绩效考核表给人事部人事部汇总最终结果,记入工资报表中人事部将考核结果交总经理审批财务部依考核结果核算工资Word文档仅限参考Word文档仅限参考备注:1、各部门交人事部的考勤报表需统计好出勤天数及加班时数,并与本部门人员核对签字。人事部再审核出勤表并录入电子版考勤统计表。2、各部门有各类报表要及时提交人事部,不允许事后补交,工资原则上不允许事后补发。2、入职离职异动A.入职人事部每月3号前提交工资报表(10类统计表)各部门每月1号前提交上月考勤报表、转正异动、奖罚单给人事部总经理审核财务部核算工资总经理批准Word文档仅限参考Word文档仅限参考备注:1、如果是办公室人员无需提供报到项目点地址等,无需发放服装建立《个人用品登记卡》2、相关表单《报到通知书》《培训记录卡》《个人用品登记卡》B.离职完整的应聘登记表(附三张一寸彩照)相关证件复印件(退伍证、学历、上岗证等)本人办理本市建设银行卡,并与身份证一起复印一份,本人确认签字,作为发放工资依据培训合格后,携带《报到通知书》《培训记录卡》到公司签订劳动合同发放服装并建立《个人用品登记卡》建立个人档案(应聘登记表、身份证复印件、相关证件复印件、《无犯罪记录证明》、劳动合同等),按队员执勤项目点分类存档录用对象提供报到项目点地址、联系人、电话、乘车路线,队员凭《报到通知书》《培训记录卡》上岗身份证复印件一张,原件留存一周以便背景调查人事部在1个月内与新员工签订劳动合同/保密协议Word文档仅限参考Word文档仅限参考备注:1、如果是办公室人员离职直接由部门负责人签字审批即可,无需项目点队长、项目经理签字同意。C.异动(晋升、降职、岗位平调)离职对象凭驻点队长、项目经理签字同意的《调离职手续表》每周五上午到行政人事部办理离职手续。无《调离职手续表》,队长未签字或签字不全不予办理手续与《个人用品登记卡》核对退还物品,如有扣费,注明在《调离职手续表》上,《调离职手续表》与《个人用品登记卡》均需交行政人事部作为核发工资依据离职人员工资按正常发薪日发放试用期内,提前一周提出离职申请。转正后,提前一个月提出离职申请。经驻点队长同意后,填写《辞职申请单》《调离职手续表》不按规定时间办理离职手续者或离职手续不全者,暂缓发放工资。离岗后超过一周未办理离职手续者不予补办,工资不予以结算离职手续办完后,将该队员档案从原驻点档案册调出归入公司档案库备存人事部做离职面谈,并将面谈结果填写在《调离职手续表》人事部意见一栏Word文档仅限参考Word文档仅限参考备注:相关表单《员工调离职手续表》《职薪异动表》2、社保办理备注:相...

1、当您付费下载文档后,您只拥有了使用权限,并不意味着购买了版权,文档只能用于自身使用,不得用于其他商业用途(如 [转卖]进行直接盈利或[编辑后售卖]进行间接盈利)。
2、本站所有内容均由合作方或网友上传,本站不对文档的完整性、权威性及其观点立场正确性做任何保证或承诺!文档内容仅供研究参考,付费前请自行鉴别。
3、如文档内容存在违规,或者侵犯商业秘密、侵犯著作权等,请点击“违规举报”。

碎片内容

保安公司行政人事部权责工作流程

确认删除?
VIP
微信客服
  • 扫码咨询
会员Q群
  • 会员专属群点击这里加入QQ群
客服邮箱
回到顶部