电脑桌面
添加小米粒文库到电脑桌面
安装后可以在桌面快捷访问

埃森哲震旦家具有限公司实施专案第二十章MM20_发票校验流程063VIP免费

埃森哲震旦家具有限公司实施专案第二十章MM20_发票校验流程063_第1页
1/6
埃森哲震旦家具有限公司实施专案第二十章MM20_发票校验流程063_第2页
2/6
埃森哲震旦家具有限公司实施专案第二十章MM20_发票校验流程063_第3页
3/6
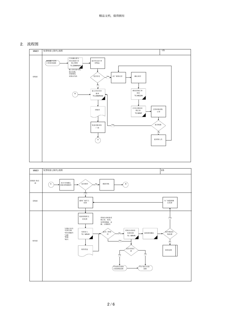
精品文档,值得拥有1/6第二十章-MM20_发票校验流程1.流程说明此流程适用和国内外供应商执行发票校验的作业。整个流程分为对帐及发票录入两大部分,分别由采购和财务执行实际业务。例一:国内供应商对帐作业采购每月25日与国内供应商执行对帐作业,纳入对帐范围的物料必须为入库合格品。采购在线确认所有标记0.01元单价的物品是否已经被维护(以query“采购订单零单价查询”进行查核作业),如果尚未确认单价,必须与厂商进行询议价作业,并将最终价格以修改订单方式维护到系统中。从系统中打印出对帐单(ZMMR009),发送至各供应商,双方完成对帐作业并签字后,请厂商依据对帐单明细开立发票。每月结帐日后的三天之内,采购部应搜集齐所有当月应付供应商的发票,填写《付款证明凭单》后,层呈至采购主管、物流主管签核。并将所有单据(付款证明凭单、发票、对帐单)送交财务部。注意:所有区域采购没有独立请款权,每月与供应商对帐完成后,转总部采购代为请款。例二:海外供应商对帐作业海外供应商付款,为casebycase作业。当采购收到海外厂商发出的形式发票后,必须确认发票明细与采购订单是否相符。如果有出入,则通知厂商调整发票或修改采购订单。确认发票无误后,请财务部开立信用状。在收到正式发票和提单后,向财务部预提部分货款用以支付增值税、关税等费用(转入FI18供应商预付款流程)。在收货完成后,执行尾款支付(FI17银行付款流程)。精品文档,值得拥有2/62.流程图发票校验(国内)流程MM21采购部MM22国内采购订单收货流程是否存在向厂商询议价确认单价修改采购订单单价TC:ME22N是否核准显示并打印对帐单TC:ZMMR009对帐单打印已修改采购订单TC:ME9F主管审核采购订单是否有0.01单价物品退采购人员YesNoNo发送对帐单给厂商ABYes输入供应商号码,相应参数,对帐期间,采购员代码月末确认需与供应商进行对帐之物料TC:ZMMR0091/5发票校验(国内)流程采购部/供应商双方共同确认对帐单明细相符是否相符重新对帐B通知厂商开立发票AYesNo采购部MM21财务部收到采购转交的发票是否三单相符系统自动冻结发票付款TC:MRHRFI17银行付款流程YesNo发票录入TC:MRHR财务凭证系统自动检验采购订单、收货、发票的数量、金额、日期相符*采购订单号*发票日期*供应商编号*金额*数量*税号是否有预付款FI19供应商预付款清帐流程NoYes2/5冻结原因确认是否要退采购处理财务处理与厂商重新确认发票NoYes精品文档,值得拥有3/6发票校验(国外)流程MM13生产性物料采购流程收到国外厂商形式发票确认是否与采购订单明细相符是否相符通知厂商调整发票采购部NoYesMM21是否为客诉补单No修改采购订单TC:ME22NYes采购订单是否核准NoYesC打印已修改采购订单TC:ME9F主管审核采购订单采购部主管C3/5发票校验(国外)流程MM21根据采购订单发货收到正式发票和提单FI18供应商预付款流程支付货到海关后之增值税,关税等费用MM23国外采购订单收货流程开立信用状CD采购部厂商财务部仓储部财务部4/5精品文档,值得拥有4/6收到采购转交的发票是否三单相符系统自动冻结发票付款TC:MRHRFI17银行付款流程YesNo发票录入TC:MRHR财务凭证系统自动检验采购订单、收货、发票的数量、金额、日期相符*采购订单号*发票日期*供应商编号*金额*数量*税号是否有预付款FI19供应商预付款清帐流程NoYesD财务部5/5发票校验(国外)流程MM21冻结原因确认是否要退采购处理财务处理NoYes退采购处理Tcode:ZMMR009精品文档,值得拥有5/6栏位名称栏位说明资料范例采购区域必输项,即指采购组织,在哪个采购组织下执行采购作业FP00采购员必输项,执行采购的采购人员104对帐日期必输项,确定对帐期间2001/07/19-2001/07/19采购订单非必输项,作为筛选器,可以自由选择需要对帐的采购订单号码,比较适用于国外订单对帐、国内寄售订单对帐供应商必输项,输入要进行对帐作业的供应商代号项目类别必输项,选择“K”(寄售),可以籍由系统辅助资料进行查询作业K:寄售参数选择可选项,作为筛选器,设定对帐单的排序方式按验收日期排序所有屏幕上的必输项都输入正确无误后,按圈中的小钟(F8),进入对帐单画面。精品文档,值得拥有6/6注意:此报表为通过ABA...

1、当您付费下载文档后,您只拥有了使用权限,并不意味着购买了版权,文档只能用于自身使用,不得用于其他商业用途(如 [转卖]进行直接盈利或[编辑后售卖]进行间接盈利)。
2、本站所有内容均由合作方或网友上传,本站不对文档的完整性、权威性及其观点立场正确性做任何保证或承诺!文档内容仅供研究参考,付费前请自行鉴别。
3、如文档内容存在违规,或者侵犯商业秘密、侵犯著作权等,请点击“违规举报”。

碎片内容

埃森哲震旦家具有限公司实施专案第二十章MM20_发票校验流程063

您可能关注的文档

确认删除?
VIP
微信客服
  • 扫码咨询
会员Q群
  • 会员专属群点击这里加入QQ群
客服邮箱
回到顶部