电脑桌面
添加小米粒文库到电脑桌面
安装后可以在桌面快捷访问

安徽省会计从业资格证书申请表-安徽省会计从业资格证VIP免费

安徽省会计从业资格证书申请表-安徽省会计从业资格证_第1页
1/4
安徽省会计从业资格证书申请表-安徽省会计从业资格证_第2页
2/4
安徽省会计从业资格证书申请表-安徽省会计从业资格证_第3页
3/4
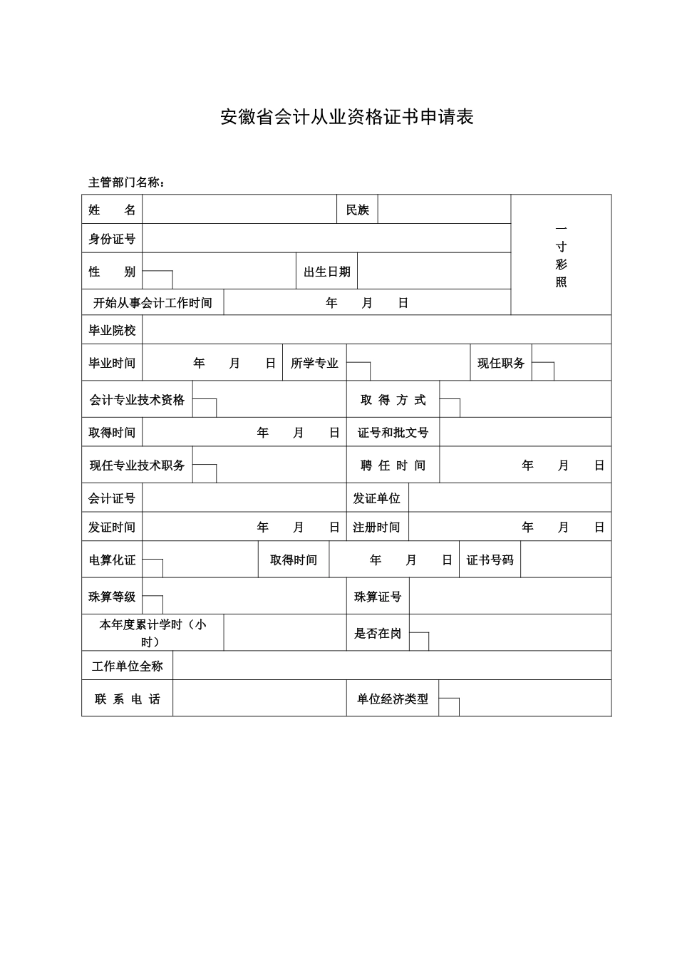
安徽省会计从业资格证书申请表主管部门名称:姓名民族一寸彩照身份证号性别出生日期开始从事会计工作时间年月日毕业院校毕业时间年月日所学专业现任职务会计专业技术资格取得方式取得时间年月日证号和批文号现任专业技术职务聘任时间年月日会计证号发证单位发证时间年月日注册时间年月日电算化证取得时间年月日证书号码珠算等级珠算证号本年度累计学时(小时)是否在岗工作单位全称联系电话单位经济类型工作单位意见:(公章)年月日主管部门意见:(公章)年月日发证机关意见:(公章)年月日★注:请仔细阅读填表说明后,再认真填写此表。填表说明一、本表信息将进行微机管理,必须由本人认真如实填写,字迹要工整。否则,责任自负。二、填表人应在各栏中填写相应汉字或数字,代码需填写在小方框内。三、涉及时间的要具体到年月日。四、代码:学历:1、初中及以下5、本科2、高中6、硕士3、中专7、博士4、大专专业:1、会计5、统计2、审计6、经济管理3、财政7、其他4、金融现任职务:1、会计主管人员2、会计机构负责人3、总会计师4、其他会计专业技术资格:1、初级2、中级3、高级4、无资格取得方式:1、评审2、考试现任专业技术职务:1、会计员4、高级会计师2、助理会计师5、其他专业职务3、会计师6、无电算化证:1、初级2、中级3、无珠算等级:1、一级以上5、普四级2、普一级6、普五级3、普二级7、普六级4、普三级是否在岗:1、是2、否单位经济类型:1、国家机关2、事业单位3、社会团体4、国有企业5、城市集体企业6、乡镇企业7、股份有限公司

1、当您付费下载文档后,您只拥有了使用权限,并不意味着购买了版权,文档只能用于自身使用,不得用于其他商业用途(如 [转卖]进行直接盈利或[编辑后售卖]进行间接盈利)。
2、本站所有内容均由合作方或网友上传,本站不对文档的完整性、权威性及其观点立场正确性做任何保证或承诺!文档内容仅供研究参考,付费前请自行鉴别。
3、如文档内容存在违规,或者侵犯商业秘密、侵犯著作权等,请点击“违规举报”。

碎片内容

安徽省会计从业资格证书申请表-安徽省会计从业资格证

确认删除?
VIP
微信客服
  • 扫码咨询
会员Q群
  • 会员专属群点击这里加入QQ群
客服邮箱
回到顶部