电脑桌面
添加小米粒文库到电脑桌面
安装后可以在桌面快捷访问

【精品】建筑设计作业流程图VIP专享VIP免费

【精品】建筑设计作业流程图_第1页
1/3
【精品】建筑设计作业流程图_第2页
2/3
【精品】建筑设计作业流程图_第3页
3/3
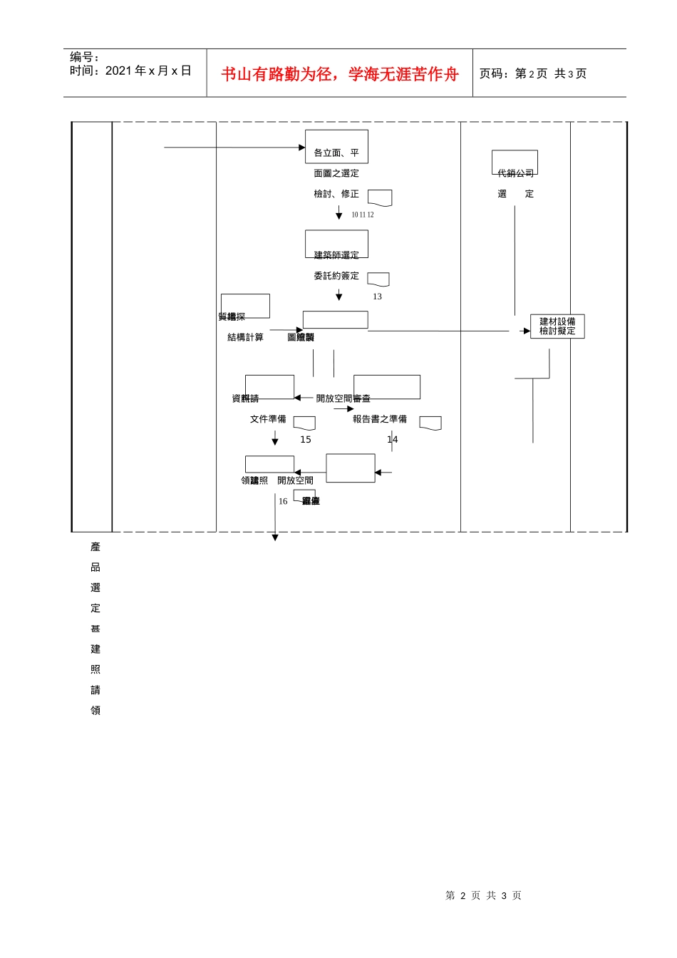
第1页共3页编号:时间:2021年x月x日书山有路勤为径,学海无涯苦作舟页码:第1页共3页■返回歐亞首頁建築設計作業流程圖部門階段開發部設計部(建築師事務所)業務部(代銷公司)工務部(營造廠)基地調查、定位規劃土地資料提供利潤初估利潤分析9土地資料取得1基地調查法規分析23鑑界複丈定建築線4各層容積分配規劃7立面、平面造型之替選草案規劃劃8產品定位56銷售單價調查提出營造成本工期提出填表日期:年月日B-2-2-1第2页共3页第1页共3页编号:时间:2021年x月x日书山有路勤为径,学海无涯苦作舟页码:第2页共3页產品選定、建照請領各立面、平面圖之選定檢討、修正101112建築師選定委託約簽定13地質鑽探結構計算請照圖繪製請照資料開放空間審查文件準備報告書之準備1514建照請領開放空間16審查跟催代銷公司選定建材設備檢討擬定B-2-2-1第3页共3页第2页共3页编号:时间:2021年x月x日书山有路勤为径,学海无涯苦作舟页码:第3页共3页繪圖審圖、造價估算工程數量銷售面積造價初估計算1718結構施工建築施工水電設備景觀施工圖之設計圖之設計圖之設計圖之設計19202122各項圖面相互核對19202124工程監造大樣詳圖繪製銷透及樣售視建品面圖築屋積、模承計墨型包算線製興審圖作建核型23262425使用表單1.土地資料取得狀況一覽表2.基地調查評分表3.建築法規調查狀況一覽表4.土地複丈申請表5.產品定位流程圖6.產品定位記錄表7.各樓層容積計算表8.立面圖及平面圖範例9.建築個案利潤分析表10.設計圖評分表11.設計圖檢核表12.產品概要彙總表13.建築設計委託契約書14.綜合設計放寬規定辦法審查表15.建照申請流程進度文件表16.建造執照申請書17.工程造價初估表18.銷售面積計算表19.建築結構圖範例20.建築施工圖範例21.水電設備圖範例22.景觀綠化平面圖範例23.透視圖範例24.平面墨線圖範例25.建築模型範例26樣品屋範例B-2-2-10

1、当您付费下载文档后,您只拥有了使用权限,并不意味着购买了版权,文档只能用于自身使用,不得用于其他商业用途(如 [转卖]进行直接盈利或[编辑后售卖]进行间接盈利)。
2、本站所有内容均由合作方或网友上传,本站不对文档的完整性、权威性及其观点立场正确性做任何保证或承诺!文档内容仅供研究参考,付费前请自行鉴别。
3、如文档内容存在违规,或者侵犯商业秘密、侵犯著作权等,请点击“违规举报”。

碎片内容

【精品】建筑设计作业流程图

确认删除?
VIP
微信客服
  • 扫码咨询
会员Q群
  • 会员专属群点击这里加入QQ群
客服邮箱
回到顶部