电脑桌面
添加小米粒文库到电脑桌面
安装后可以在桌面快捷访问

H3C成品超期处理流程VIP免费

H3C成品超期处理流程_第1页
1/6
H3C成品超期处理流程_第2页
2/6
H3C成品超期处理流程_第3页
3/6
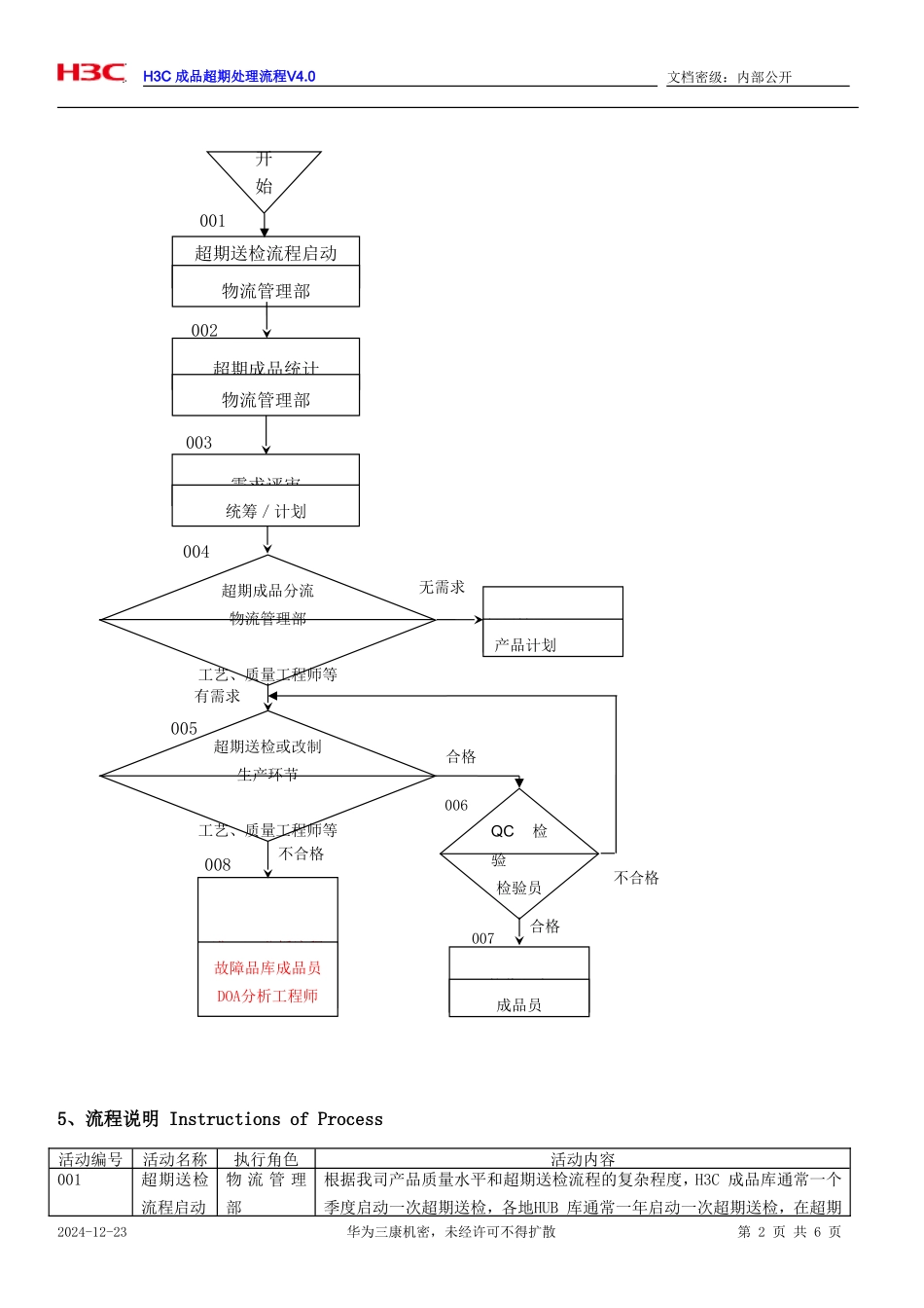
H3C成品超期处理流程V4.0文档密级:内部公开liu文件名称Document:【H3C成品超期处理流程】文件编码ReferenceNo.:【ISC/QU-01-05-03】版本Version:【V4.0】业务类别BusinessCategory:【ISC】生效日期EffectiveDate:【2009-12-01】业务模块BusinessModule:【质量】拟制责任人Preparedby:【王洪利】业务小类SubCategoryofBusiness【制造质量】文件审核人Reviewer:【程海江】流程责任人ProcessOwner:【易绍山】角色Role:【仓管员、检验员、区域物流、生产环节(含CM厂、外协厂、ODM/OEM厂)、计划员、QE】功能系统FunctionalSystem:【】0、定义Definition:超存储期成品:成品正常存储期定义为一年,存储期超过一年的成品即为超存储期成品。成品是指用于直接发货的产品,BOM编码前四位:0223****,0231****,0235****,0105****,9801****等。成品货龄:成品的货龄以产品标签上打印“DatePacked”日期开始计算。超期送检:按照要求对超存储期的成品进行检验测试,但成品编码不变。改制:按照要求对成品进行处理,成品编码改变,即处理后由A编码产品改为B编码产品。1、目的Objective:所涉及业务的使命建立成品超存储送检的跨部门流程,明确各环节应负责任。业务目标保证成品超期送检及时完成。本流程对上述目标的贡献1、及时检验超存储期成品,提高成品质量,清理冗余库存,减少市场投诉;2、规范超存储期成品送检的流程,确保超存储期成品处于受控状态。2、适用范围Scope:流程起点超期成品清单提取流程终点超期成品的合理处理结束业务范围超期成品的统计、计划的需求评审、超期送检/改制任务令的下达、生产环节(含CM厂、外协厂、ODM/OEM厂、原材料供应商)实施超期送检/改制、处理后产品的入库。适用范围用于直接发货的产品,BOM编码前四位:0223****,0231****,0235****,0105****,9801****,包括:OEMIN和ODM产品以及各地HUB库的成品。使用组织范围供应链、生产环节(含CM厂、外协厂、ODM/OEM厂、原材料供应商)、研发装备测试部3、KPI指标致KPIIndex:无4、流程图FlowChat:2024-12-23华为三康机密,未经许可不得扩散第1页共6页H3C成品超期处理流程V4.0文档密级:内部公开5、流程说明InstructionsofProcess活动编号活动名称执行角色活动内容001超期送检流程启动物流管理部根据我司产品质量水平和超期送检流程的复杂程度,H3C成品库通常一个季度启动一次超期送检,各地HUB库通常一年启动一次超期送检,在超期2024-12-23华为三康机密,未经许可不得扩散第2页共6页超期成品统计001物流管理部002超期送检流程启动物流管理部003004需求评审统筹/计划开始超期成品分流物流管理部工艺、质量工程师等准DOA分析流程故障品库成品员DOA分析工程师QC检验检验员有需求低周转处理产品计划无需求不合格005007006008超期送检或改制生产环节工艺、质量工程师等合格接收入库成品员合格不合格H3C成品超期处理流程V4.0文档密级:内部公开送检流程启动后,物流管理部负责提交《超储存期产品清单》给统筹/计划进行需求评审。002超期成品统计物流管理部H3C成品库在每个季度第二个月中旬(各地HUB库由区域物流在每年4月中旬)开始对自己负责区域的成品,对照成品货龄(公司内部可以参照外箱标签上的DatePacked日期,各地HUB库存的物料可按照库龄清理库存)进行检查,10个工作日内完成超期成品的统计。在《超储存期成品清单》上记录超期成品信息,在产品外箱或整卡板成品外箱上贴上超期标识单。在超期评审结论出来前所有的超期成品可以优先发货,但在发货的同时必须修改《超储存期成品清单》上的相关数据,以确保超期成品信息准确。如果超期产品直接发客户厂验,库房在发料时注意去除超期送检标识。对于已经连续三次超期(可以根据外箱标签上的DatePacked后面的信息来判断)送检入库,经计划评审指定了留用期限,当到了留用期限后仍未使用完毕的成品,必须填《正向待处理品处理单》给计划做需求评审,并且写明上次留用的时间。003需求评审统筹/计划统筹/计划部门在收到《超储存期成品清单》后,需要综合当前库存情况、市场需求、产品特点、成品生产周期及评审部门意见,在3个工作日内给出处理方案...

1、当您付费下载文档后,您只拥有了使用权限,并不意味着购买了版权,文档只能用于自身使用,不得用于其他商业用途(如 [转卖]进行直接盈利或[编辑后售卖]进行间接盈利)。
2、本站所有内容均由合作方或网友上传,本站不对文档的完整性、权威性及其观点立场正确性做任何保证或承诺!文档内容仅供研究参考,付费前请自行鉴别。
3、如文档内容存在违规,或者侵犯商业秘密、侵犯著作权等,请点击“违规举报”。

碎片内容

H3C成品超期处理流程

确认删除?
VIP
微信客服
  • 扫码咨询
会员Q群
  • 会员专属群点击这里加入QQ群
客服邮箱
回到顶部