电脑桌面
添加小米粒文库到电脑桌面
安装后可以在桌面快捷访问

试验室主任岗位职责VIP免费

试验室主任岗位职责_第1页
1/20
试验室主任岗位职责_第2页
2/20
试验室主任岗位职责_第3页
3/20
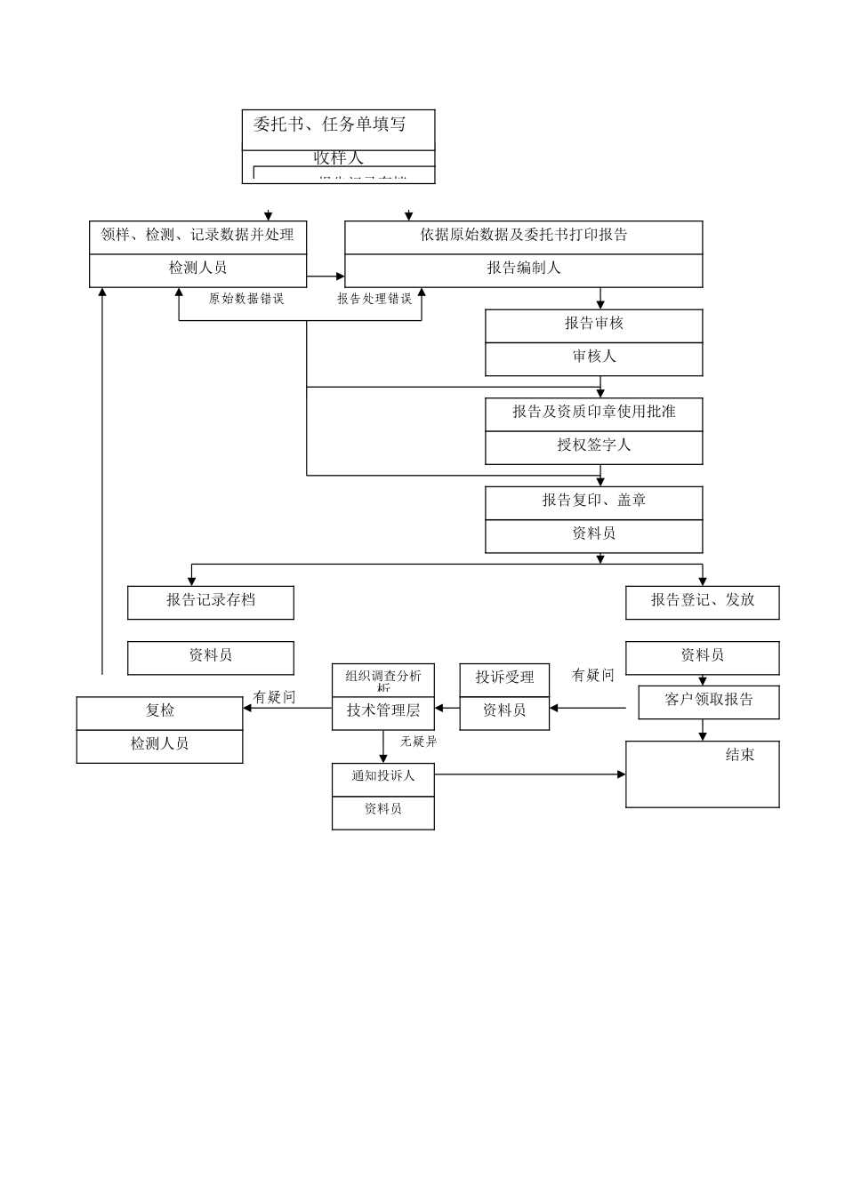
工地试验室管理制度1、工地试验室职责1·1、工地试验室在项目部的领导下和上级业务部门指导下,开展试验工作。2·2、负责做好项目部的试验检测计划并实施。3·3、负责本项目部的工程所用原材料、构件、产品等的检测、试验,参与工地砂、石料场选定与质量复检,把好原材料的质量关。4·4、对工地的主要工程材料,应协助物资部门做好质量验收,按要求保管使用。并从试验角度满足质量、环保、职业健康安全方面要求。5·5、负责确定控制路基、混凝土、砂浆、沥青及沥青混合料等施工的各种施工参数及施工过程控制中的抽检。6·6、负责试验原始资料的整理、保管,并及时提出试验报告,对混凝土、砂浆检查试件、路基密实度、沥青及沥青混合料、水泥钢筋使用情况及工程质量进行统计分析并定期向有关部门报告。7·7、负责做好本项目试验竣工资料。8·8、负责本项目仪器设备使用管理及维护保养,按规定填写仪器设备使用记录。9·9、建立本项目仪器设备档案,做好周检计划,负责送检与自校,并为公司计量室建立设备档案提供相关资料。10·10、负责提出本项目仪器设备购置、更新、改造及报废计划,设备购置满足质量、职业健康安全、环保方面要求。2、试验检测工作流程图不符合规定符合规定取样收样人验收样品委托人检测人员原始数据错误报告处理错误有疑问有疑问无疑异收样人报告记录存档委托书、任务单填写领样、检测、记录数据并处理检测人员依据原始数据及委托书打印报告报告编制人审核人报告审核授权签字人报告及资质印章使用批准资料员报告复印、盖章报告记录存档资料员资料员报告登记、发放资料员客户领取报告组织调查分析析技术管理层投诉受理复检检测人员资料员通知投诉人结束质量保证体系框图中铁十四局集团桂武高速LM32标段工地试验室检测试验过程质量保证检测质量保证控制样品收发登记人员资格保证执行技术标准保证仪器性能保证检测环境条件保证培训考核组配对员调离选定标准制定细则检定校验维护管理环境控制参数记录确定试验方法组配检测仪器维持检测环境检测试验数据处理试验复核审查签发报监理结束重新检测处理意见分析原因检测事故处理非检测事故登记归档结束检测试验过程质量保证4、试验室主任岗位职责4·1.全面负责试验室日常试验检测的组织、协调等技术管理工作,解决试验检测中的技术难题,参加地材料源调查和工程质量检查活动。4·2.负责贯彻执行国家及主管部门关于质量检测的有关方针、政策、法令、法规、条例,确保试验室各项声明的贯彻实施。4·3.负责公司《程序文件》、《质量手册》在工地试验室的实施,督促和检查各检测组试验人员岗位责任制的执行情况,审批试验检测报告。4·4.负责建立、健全试验室的质量管理体系、质量保证体系,坚持“质量第一”的方针,切实保证公正地、科学地和准确地开展检测工作。4·5.负责贯彻执行国家和行业有关技术政策法规、技术标准、施工规范和试验规程。4·6.负责组织试验记录、报告、台帐的建立,做好试验资料的整理归档工作。上级要求上报的资料及时上报并做好试验室年终工作总结。4·7.组织建立试验仪器设备台帐,做好试验设备的使用、保养和维护,并按规定周期及时送检。4·8.组织收集各类试验科技信息,努力学习新技术、新试验规程和新测试方法,做好新技术、新材料的试验和推广应用工作。4·9.负责本试验室试验人员的专业知识学习、业务技术培训和思想教育工作。4·10.负责选择和评价委外试验机构,保存评价记录。4·11.按工程竣工需要组织试验资料的整理、存档、统计、移交和上报。5、试验检测工程师职责5·1.负责试验工作质量状况总结,在试验室主任领导下,全面负责试验技术工作的组织实施,对本工程试验工作技术、健康、安全负全面责任。5·2.组织技术标准、规范学习培训,保证本工程的技术标准文件得到准确贯彻。5·3.按验标准及技术文件要求制订试验操作细则、取样方案,明确取样频率,样品数量及代表数量,保证样品的代表性,并随时对执行情况组织检查和抽查。5·4.组织试验人员按“规范”、“细则”要求进行原材料、半成品取样复检和现场施工控制检验,组织建立试验记录和仪器使用记录。5·5.检查试验人员执...

1、当您付费下载文档后,您只拥有了使用权限,并不意味着购买了版权,文档只能用于自身使用,不得用于其他商业用途(如 [转卖]进行直接盈利或[编辑后售卖]进行间接盈利)。
2、本站所有内容均由合作方或网友上传,本站不对文档的完整性、权威性及其观点立场正确性做任何保证或承诺!文档内容仅供研究参考,付费前请自行鉴别。
3、如文档内容存在违规,或者侵犯商业秘密、侵犯著作权等,请点击“违规举报”。

碎片内容

试验室主任岗位职责

确认删除?
VIP
微信客服
  • 扫码咨询
会员Q群
  • 会员专属群点击这里加入QQ群
客服邮箱
回到顶部