电脑桌面
添加小米粒文库到电脑桌面
安装后可以在桌面快捷访问

建筑节能工程监理实施细则范本VIP免费

建筑节能工程监理实施细则范本_第1页
1/16
建筑节能工程监理实施细则范本_第2页
2/16
建筑节能工程监理实施细则范本_第3页
3/16
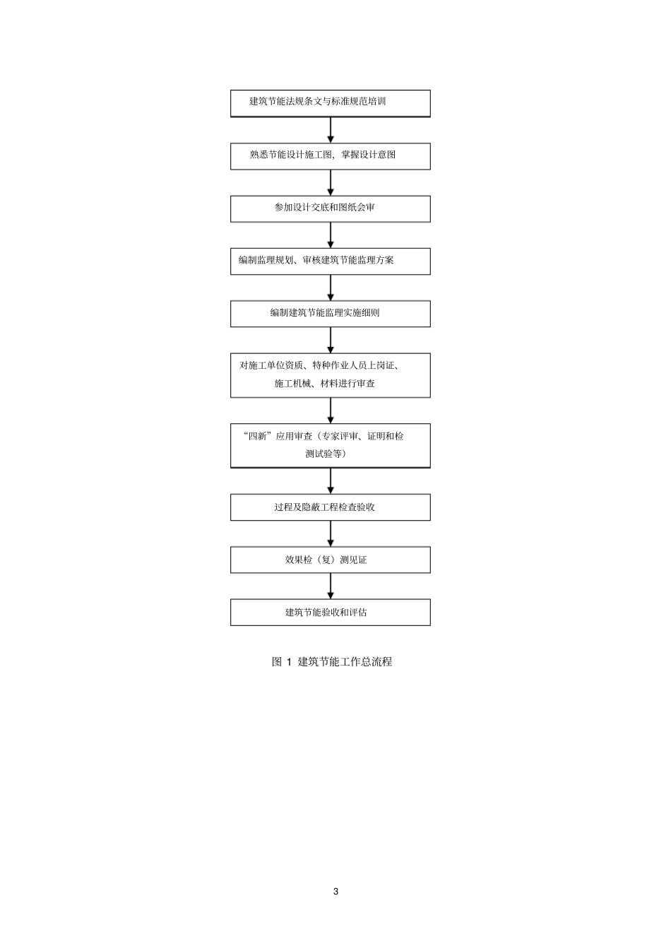
1建筑节能监理实施细则一、工程概况1.工程项目名称:2.工程类别:3.工程项目地点:4.建设工程规模:5.建设工程总投资:6.工程项目计划工期:7.工程质量等级:合格8.工程项目建设单位:9.工程项目设计单位:10.工程项目监理单位:11.工程项目施工单位:二、本工程建筑节能设计1.墙体工程外墙为原有墙体,原装饰面层剔除干净,外贴80mm厚膨胀聚苯板保温,再做铝塑板或涂料饰面。外保温面,须加强防火处理措施:1)所有窗口四周200宽范围内换用胶粉聚苯颗粒;2)每两层增设胶粉聚苯颗粒防火隔离圈,高2003)阳角部位200宽范围内换用胶粉聚苯颗粒。2.室外装修工程新增空调室外机板,冷凝水管,外墙铝塑板幕墙,由厂家设计龙骨,和细部连接构造。23.屋面工程1)原屋面做法保留。2)原外露雨水管更新,φ100UPVC管。4.门窗工程除一层外门其余外门窗用塑钢窗,玻璃用中空玻璃,传热系数限制小于2.7W/(m2·k),玻璃颜色为蓝灰色,遮阳系数0.7。一层外门用断桥铝合金框,玻璃用中空玻璃,传热系数限制小于2.7W/(m2·k),玻璃颜色为蓝灰色,门框颜色为灰色氟碳漆。窗框颜色为深灰色塑钢窗。所有玻璃,均应符合《建筑安全玻璃管理规定》和《建筑玻璃应用技术规程》安装使用安全玻璃:面积大于1.5m2的窗玻璃或玻璃底边离最终装修面小于500mm的落地窗;幕墙(全玻璃除外);倾斜装配窗、各类天棚(含天窗、采光顶),吊顶;观光电梯及其外围护;楼梯、阳台、平台走廊的栏板和中庭内拦板;公共建筑物的出入口、门厅等部位;易遭受撞击、冲击而造成人体伤害的其他部位。三、建筑节能专业工作流程图1建筑节能工作总流程图2外墙内、外保温系统监理流程图3幕墙节能监理流程图4屋面节能监理流程图5外门窗节能监理流程3图1建筑节能工作总流程建筑节能法规条文与标准规范培训熟悉节能设计施工图,掌握设计意图参加设计交底和图纸会审编制监理规划、审核建筑节能监理方案编制建筑节能监理实施细则对施工单位资质、特种作业人员上岗证、施工机械、材料进行审查建筑节能验收和评估“四新”应用审查(专家评审、证明和检测试验等)过程及隐蔽工程检查验收效果检(复)测见证4图2外墙内、外保温系统监理流程图基层墙体验收合格保温材料进场报审(业主、监理、施工)监理见证员跟踪取样、送样过程材料复试结果审核确认工程材料/构配件/设备报审表跟踪检查样板层(段或间)施工过程的质量样板层(段或间)验收确认(业主、监理、施工)对大面积施工前的准备工作验收跟踪检查外墙外保温施工过程的质量与安全保温构造各层的隐蔽工程验收保温材料进场初验验收批质量验收审核确认外墙外保温系统工程验收记录(1)材料质保书,合格证明书,型式检验报告应齐全;(2)核对产品包装的材料名称、规格、生产厂家等应与质保资质一致;(3)产品外观质量合格(4)应具有省备案证审核确认隐蔽工程验收记录审核确认检验批质量验收记录调整不合格合格5幕墙及附件选型报审评审并确认幕墙类型、材料材料封样与监理处幕墙材料进场报审合格样板工程样板验收与否认幕墙隐蔽工程验收幕墙分项工程质量验收合格合格填写分项工程验收记录出具评审项目清单(1)幕墙材料进场报审;(2)与样品核对;(3)按要求进行见证复验(1)被密封的保温材料厚度和保温材料的固定;(2)幕墙周边与墙体接缝处保温材料的填充;(3)构造缝、结构缝;(4)隔气层;(5)热桥部位、断热结点;(6)单元式幕墙板块间的接缝构造;(7)冷凝水收集和排放装置;(8)幕墙的通风换气装置填写幕墙隐蔽工程验收记录调整否是调改否整改否图3幕墙节能监理流程6图4屋面节能监理流程审查开工条件施工过程控制对隐蔽工程、检验批质量进行验收分项工程合格签署《屋面节能分项工程质量验收记录》(1)基层验收记录;(2)施工技术方案及材料产品说明及要求;(3)材料进场验收和复试记录;(4)施工人员资格证书监理旁站分仓缝的设置和透气孔的构造保护层包含隐蔽项目有保温层防水层隔热找平层不合格否7图5门窗节能监理流程门窗及附件选型报审评审并确认材料材料封样与监理处门窗及附件进场报验合格样板间施工样板间验收与确认门窗框隐蔽工程验收门...

1、当您付费下载文档后,您只拥有了使用权限,并不意味着购买了版权,文档只能用于自身使用,不得用于其他商业用途(如 [转卖]进行直接盈利或[编辑后售卖]进行间接盈利)。
2、本站所有内容均由合作方或网友上传,本站不对文档的完整性、权威性及其观点立场正确性做任何保证或承诺!文档内容仅供研究参考,付费前请自行鉴别。
3、如文档内容存在违规,或者侵犯商业秘密、侵犯著作权等,请点击“违规举报”。

碎片内容

建筑节能工程监理实施细则范本

确认删除?
VIP
微信客服
  • 扫码咨询
会员Q群
  • 会员专属群点击这里加入QQ群
客服邮箱
回到顶部