电脑桌面
添加小米粒文库到电脑桌面
安装后可以在桌面快捷访问

河北省唐山一中高一数学下学期期中试题 理-人教版高一全册数学试题VIP免费

河北省唐山一中高一数学下学期期中试题 理-人教版高一全册数学试题_第1页
1/10
河北省唐山一中高一数学下学期期中试题 理-人教版高一全册数学试题_第2页
2/10
河北省唐山一中高一数学下学期期中试题 理-人教版高一全册数学试题_第3页
3/10
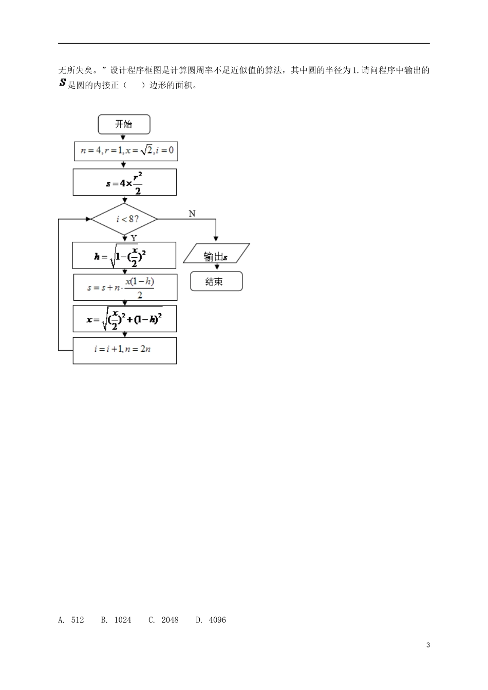
唐山一中2016—2017学年度第二学期期中考试高一年级理科数学试卷说明:考试时间120分钟,满分150分。卷Ⅰ(选择题共60分)一.选择题(共12小题,每小题5分,计60分。在每小题给出的四个选项中,只有一个选项符合题意)1.将两个数a=2017,b=2018交换使得a=2018,b=2017,下面语句正确一组是()2.已知等差数列满足,,则等于()A.17B.16C.15D.143.若则一定有()A.B.C.D.4.为了在运行下面的程序之后得到输出16,键盘输入x应该是()INPUTxIFx<0THENy=(x+1)*(x+1)ELSEy=(x-1)*(x-1)ENDIFPRINTyENDA.3或-3B.-5或3C.5或-5D.5或-35.中国古代数学著作《算法统宗》中有这样一个问题:“三百七十八里关,初行健步不为难,此日脚痛减一半,六朝才得到其关,要见此日行数里,请公仔仔细算相还”,其意思为:“有一个人走378里路,第一天健步行走,从第二天起脚痛每天走的路程为前一天的一半,走了6天后到达目的地”,请问第二天走了()A.96里B.48里C.192里D.24里6.根据下列情况,判断三角形解的情况,其中正确的是()A.,有两解B.,有一解C.,无解D.,有一解17.等差数列{an}中,首项,公差,Sn为其前n项和,则点(n,Sn)可能在下列哪条曲线上()8.用秦九韶算法求多项式在x=-4时,v2的值为()A.-4B.1C.17D.229.已知中,分别为角所对的边,且,,,则的面积为()A.B.C.D.10(A).将二进制数转化为四进制数,正确的是()A.B.C.D.10(B).计算机中常用的十六进制是逢进的计数制,采用数字和字母共个计数符号,这些符号与十进制的数字的对应关系如下表:十六进制01234567十进制01234567十六进制89ABCDEF十进制89101112131415例如,用十六进制表示,则()A.72B.C.D.11.设实数,满足约束条件已知的最大值是7,最小值是,则实数的值为()A.B.C.D.12.我国魏晋时期的数学家刘徽,他在注《九章算术》中采用正多边形面积逐渐逼近圆面积的算法计算圆周率,用刘徽自己的原话就是“割之弥细,所失弥少,割之又割,以至于不可割,则与圆合体而2无所失矣。”设计程序框图是计算圆周率不足近似值的算法,其中圆的半径为1.请问程序中输出的是圆的内接正()边形的面积。A.512B.1024C.2048D.40963卷Ⅱ(非选择题共90分)二.填空题(共4小题,每小题5分,计20分)13.用辗转相除法或更相减损术求得459与357的最大公约数是.14.满足不等式组的点组成的图形的面积是5,则实数的值为_______.15.在△中,是上的点,平分,△的面积是△面积的两倍,则________.16.已知各项都不相等的等差数列,满足,且,的前n项和是,则数列项中的最大值为_________.三.解答题(共6小题,计70分)17.(本题满分10分)在△中,角、、所对的边分别为、、,且满足,(1)求角的大小;(2)若,求角的大小.18.(满分12分)已知.4(1)若的解集为,求的值;(2)若对任意,恒成立,求实数的取值范围.19.(满分12分)已知实数x,y满足.(1)求的取值范围;(2)求最小值.20.(本题满分12分)已知等比数列满足,.(1)求数列的通项公式;(2)若等差数列的前项和为,满足,求数列的前n项和.21.(本题满分12分)为捍卫钓鱼岛及其附属岛屿的领土主权,中国派出舰船“唐山号”、“石家庄号”和“邯郸号”在钓鱼岛领海巡航。某日,正巡逻在A处的“唐山号”突然发现来自P处的疑似敌舰的某信号,发现信号时“石家庄号”和“邯郸号”正分别位于如图所示的B、C两处,其中在的正东方向相距海里处,在的北偏西30°方向相距4海里处。由于、比距更远,因此,4秒后、才同时发现这一信号(该信号的传播速度为每秒1海里),试确定疑似敌舰相对于A点“唐山号”的位置.22(A普班、实验班做).(本题满分12分)已知数列的前项和为,且满足.(1)证明数列是等比数列,并求数列的通项公式;(2)求证:.22(B英才班做).(本题满分12分)5已知数列中,,且.(1)求的值及数列的通项公式;(2)令,数列的前项和为,求证:对任意,都有.唐山一中2016—2017学年度第二学期期中考试理数答案一.选择题1.BADCA6.DADCB11.DB二.填空题13.5114.315.16.6三.解答题17.【答案】(1);(2).18.【答案】解:(1),;整理得,不等式的解集为,方...

1、当您付费下载文档后,您只拥有了使用权限,并不意味着购买了版权,文档只能用于自身使用,不得用于其他商业用途(如 [转卖]进行直接盈利或[编辑后售卖]进行间接盈利)。
2、本站所有内容均由合作方或网友上传,本站不对文档的完整性、权威性及其观点立场正确性做任何保证或承诺!文档内容仅供研究参考,付费前请自行鉴别。
3、如文档内容存在违规,或者侵犯商业秘密、侵犯著作权等,请点击“违规举报”。

碎片内容

河北省唐山一中高一数学下学期期中试题 理-人教版高一全册数学试题

您可能关注的文档

慧源书店+ 关注
实名认证
内容提供者

从事历史教学,热爱教育,高度负责。

相关文档

确认删除?
VIP
微信客服
  • 扫码咨询
会员Q群
  • 会员专属群点击这里加入QQ群
客服邮箱
回到顶部