电脑桌面
添加小米粒文库到电脑桌面
安装后可以在桌面快捷访问

树木保护方案VIP免费

树木保护方案_第1页
1/3
树木保护方案_第2页
2/3
树木保护方案_第3页
3/3
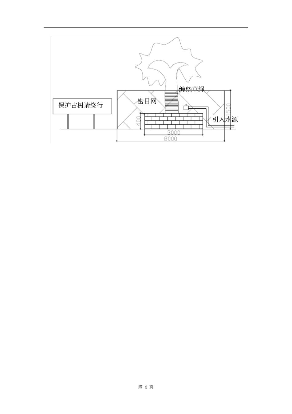
第1页和黄西安高新区9号地项目[西安高新区四区A物业发展项目总包工程]古树保护方案根据招标单位要求,我方在如中标,施工中确保现场中古树的健康生长,为此,我方将在正常施工中对所有树木采取相应的保护措施。1.保护措施根据现场条件,我方对古树和普通树木分别确定如下保护措施:2.1树木保护组织体系只要有组织、有计划地对施工现场的树木进行保护,就能保证树木在施工期间的正常生长,为此我方建立如下的树木保护组织体系:3.对于古树3.2.1建立分包领导负责制,同入住该生活区的分包领导签定古现场经理项目经理总工程师区域责任工程师专业责任工程师技术支持施工管理各施工队伍各专业配属队伍第2页树保护协议,古树一旦遭到人为损伤和破坏,追究其负责人责任;3.2.2由于施工现场有古树作好维护,在现场临建施工和工人生活过程中均要加强管理和保护,具体为在古树根部半径1.5m范围内种植草皮,并砖砌0.4m高保护坛;4m范围内设置1.5m高防护栏,外挂密目网,同时从根部向上1.5m缠绕保护草绳,如下图:3.2.3塔吊安装高度考虑高于古树,同时在塔吊使用前加强对起重工人的培训,在吊装过程中,尽量绕过古树枝叶范围吊运,吊运物资的高度也必须高于古树顶部。3.2.4引入附近水源,使用浇水软管定期对古树进行浇水养护。古树临道位置设立防护栏杆及标识牌,避免车辆行驶及转弯过程中撞到古树。3.2.5对于在生活区里的古树,要严防工人向古树周围乱倒剩饭、剩菜等污物,一旦发现,要严肃处理,视情况给予不同程度的处罚。3.2.6如在施工过程中古树出现虫害,将请专家及时进行确诊治疗。1500高密目网1500高钢管外护拦砖砌400高保护坛古树第3页保护古树请绕行引入水源密目网缠绕草绳

1、当您付费下载文档后,您只拥有了使用权限,并不意味着购买了版权,文档只能用于自身使用,不得用于其他商业用途(如 [转卖]进行直接盈利或[编辑后售卖]进行间接盈利)。
2、本站所有内容均由合作方或网友上传,本站不对文档的完整性、权威性及其观点立场正确性做任何保证或承诺!文档内容仅供研究参考,付费前请自行鉴别。
3、如文档内容存在违规,或者侵犯商业秘密、侵犯著作权等,请点击“违规举报”。

碎片内容

树木保护方案

确认删除?
VIP
微信客服
  • 扫码咨询
会员Q群
  • 会员专属群点击这里加入QQ群
客服邮箱
回到顶部