电脑桌面
添加小米粒文库到电脑桌面
安装后可以在桌面快捷访问

漏电保护器的接线方法VIP免费

漏电保护器的接线方法_第1页
1/4
漏电保护器的接线方法_第2页
2/4
漏电保护器的接线方法_第3页
3/4
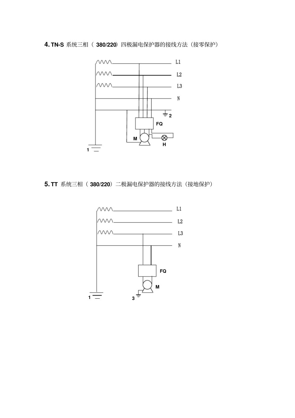
漏电保护器的接线方法1.单相漏电保护器的接线方法2.TN-S系统三相(380/220)二极漏电保护器的接线方法(接零保护)3.TN-S系统三相(380/220)三极漏电保护器的接线方法(接零保护)TFQ12MFQPEPEMFQ214.TN-S系统三相(380/220)四极漏电保护器的接线方法(接零保护)5.TT系统三相(380/220)二极漏电保护器的接线方法(接地保护)MFQ21H13FQM6.TT系统三相(380/220)三极漏电保护器的接线方法(接地保护)7.TT系统三相(380/220)四极漏电保护器的接线方法(接地保护)注:L1、L2、L3-相线;N-工作零线;PE-保护零线;1-工作接地;2-重复接地;3-保护接地;M-电动机;H-灯;FQ-漏电保护器T-隔离变压器13HMFQ13MFQ

1、当您付费下载文档后,您只拥有了使用权限,并不意味着购买了版权,文档只能用于自身使用,不得用于其他商业用途(如 [转卖]进行直接盈利或[编辑后售卖]进行间接盈利)。
2、本站所有内容均由合作方或网友上传,本站不对文档的完整性、权威性及其观点立场正确性做任何保证或承诺!文档内容仅供研究参考,付费前请自行鉴别。
3、如文档内容存在违规,或者侵犯商业秘密、侵犯著作权等,请点击“违规举报”。

碎片内容

漏电保护器的接线方法

文库响当当+ 关注
实名认证
内容提供者

该用户很懒,什么也没介绍

相关文档

确认删除?
VIP
微信客服
  • 扫码咨询
会员Q群
  • 会员专属群点击这里加入QQ群
客服邮箱
回到顶部