电脑桌面
添加小米粒文库到电脑桌面
安装后可以在桌面快捷访问

碎石桩施工方案VIP免费

碎石桩施工方案_第1页
1/13
碎石桩施工方案_第2页
2/13
碎石桩施工方案_第3页
3/13
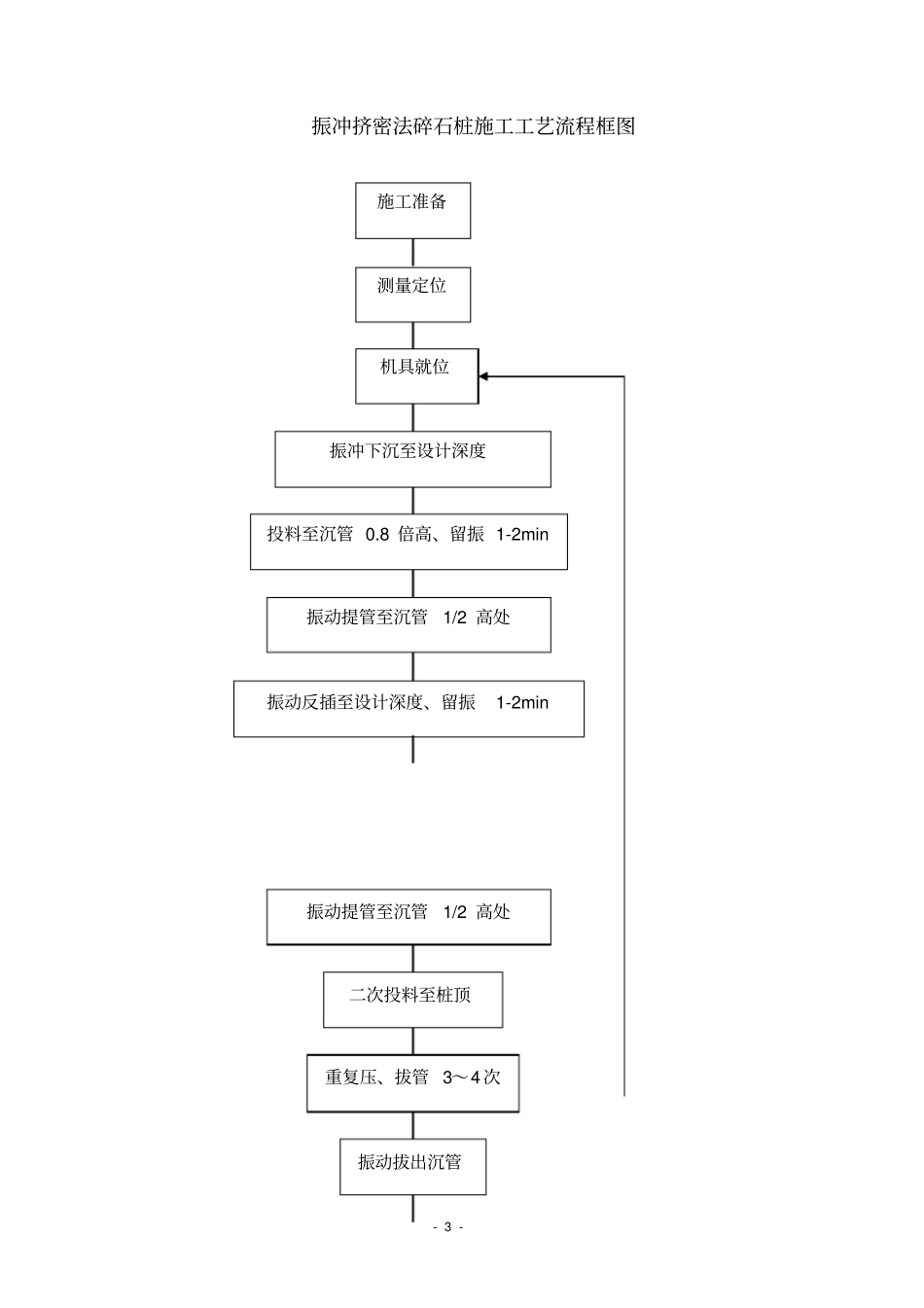
-1-施工方案一、编制依据1、规范、标准2、施工图纸3、投标文件4、合同二、工程概况1、设计图纸根据设计图纸要求,DK6+571~DK6+627、DK9+830~DK9+979、DK10+470~DK10+529、DK10+960~DK11+018四段路基基底采用碎石桩加固,桩长分别为10m、14m、12m、13.5m,等边三角形布置,间距1.5米,桩径0.5m,桩顶铺设0.5米厚的碎石垫层,垫层中间夹铺一层50KN/m双向钢塑土工格栅。2、水文、地质条件DK6+571~DK6+627段位于东汾阳磁窑河和成头村瓦窑河之间;DK9+830~DK9+979、DK10+470~DK10+529段位于成头村斜河和跨文东公路大桥之间;DK10+960~DK11+018段位于跨文东公路大桥大里程端,工点均为晋中盆地冲积平原,地形平坦、开阔,大部分为耕地。地层分布为:人工填筑土,厚0~0.4m。粉质粘土,厚0~0.3m。粉土,浅黄色,潮湿,密实,厚0~2.5m;粉砂,浅灰色,潮湿,中密,4.2~5.1m;粉土,褐黄色,浅灰色,潮湿,稍密,加薄层粉质粘土,厚2.7~5.3m。粉质黏土,浅灰色,软塑,加薄层粉土,厚2.2~2.9m。-2-粉土,黄褐色,稍湿,部分潮湿密实,厚5.8~6.1m。粗砂,黄褐色,饱和,密实,厚0.4~1.4m。粉砂,浅灰色,饱和,密实,厚3.2~3.6m。3、交通条件工点交通便利,旁有一条县级公路—交石线,宽为8m,距工点200m。三、施工方案1.总体思路1.1碎石桩施工前,各工点先做2~3根试桩,确定出成孔速度、填料方法、填料量、挤压次数和时间、留振时间和电机工作电流,确定制桩工艺,以指导施工。1.2确定好施工参数以后,计划进行24小时连续作业,以确保工程进度和工期。2.工艺流程-3-振冲挤密法碎石桩施工工艺流程框图施工准备测量定位机具就位二次投料至桩顶重复压、拔管3~4次振冲下沉至设计深度振动提管至沉管1/2高处投料至沉管0.8倍高、留振1-2min振动反插至设计深度、留振1-2min振动提管至沉管1/2高处振动拔出沉管-4-3、施工方法3.1人员配备施工人员6人/套组,其中:现场指挥1人,操作司机1人,记录1人,填料装运工3人,两套组。3.2施工测量3.2.1施工测量仪器拟选用全站仪、经纬仪、水准仪,以及塔尺和钢卷尺等。3.2.2施工前平整场地,用全站仪向施工场区内引测施工图角点控制坐标,复测场地标高,做好施工测量记录。按施工图等三角形布置桩点位置,用白灰标出,以方便桩机就位。3.2.3采用50cm长直径16mm钢筋打入地面外露20mm作为沉降观测点,按每50m一断面,每断面左、中、右3个布设。3.3工艺方法振冲器以1-3m/min的速度徐徐下降,贯入地层直至到达设计加固深度以上30-50cm,向孔内加入碎石料,高度至桩身长度0.8倍处,留振1-2min,再以1-3m/min的速度徐徐提起沉管至桩长1/2处,然后以1-3m/min的速度徐徐下降进行反插至设计加固深度,留振1-2min,再以1-3m/min的速度徐徐提起沉管至桩长1/2处,进行二次投料,投料高度至桩顶,重复压、拔管3~4次,然后将沉管以1-3m/min的速度徐徐拔出,制桩完成,进行下一点位施工。3.4施工顺序桩的施工顺序采用“以外围或两侧向中间进行”的方法,如下(图)。桩体质量与地基加固效果检验机具移位重复前述工艺-5-4、质量控制要点4.1施工前,标出碎石桩施工范围,并查明场地范围内地下构造物、管线和电线的位置和标高。清除0.3m地表种植土。施工现场采用推土机、平地机予以平整,防止积水。作业区周边开挖临时排水沟,保证施工期间排水。4.2按照设计施工图进行桩位布点,桩点中心用白灰标识,以确保施工时沉管准确位置。4.3施工前,技术人员首先要检验沉管直径及长度是否满足施工要求,确保成桩后直径和桩长达到设计要求。4.4现场严格按照合格试验取样进行碎石质量控制,粒径宜为20~50mm,含泥量≤0.5%。4.5碎石桩管理人员、技术人员及质量控制人员严格控制现场碎石桩的施工工艺,现场必须按照碎石桩施工方案、技术交底和试桩进行填料石量、提升高度和速度、挤压次数和时间、电机工作电流控制,确保碎石桩挤密均匀和桩身的连续性。4.6碎石桩施工过程中的施工记录应真实详尽,不符合设计参数要求时采取补桩措施。-6-4.7试桩结束7天后,采用重型动力触探法检验碎石桩密实度,自桩顶以下2m开始计数,要求N63.5≥7击。碎石桩加固地基28天后,进行单桩复...

1、当您付费下载文档后,您只拥有了使用权限,并不意味着购买了版权,文档只能用于自身使用,不得用于其他商业用途(如 [转卖]进行直接盈利或[编辑后售卖]进行间接盈利)。
2、本站所有内容均由合作方或网友上传,本站不对文档的完整性、权威性及其观点立场正确性做任何保证或承诺!文档内容仅供研究参考,付费前请自行鉴别。
3、如文档内容存在违规,或者侵犯商业秘密、侵犯著作权等,请点击“违规举报”。

碎片内容

碎石桩施工方案

您可能关注的文档

确认删除?
VIP
微信客服
  • 扫码咨询
会员Q群
  • 会员专属群点击这里加入QQ群
客服邮箱
回到顶部