电脑桌面
添加小米粒文库到电脑桌面
安装后可以在桌面快捷访问

混凝土公司扬尘治理方案VIP免费

混凝土公司扬尘治理方案_第1页
1/6
混凝土公司扬尘治理方案_第2页
2/6
混凝土公司扬尘治理方案_第3页
3/6
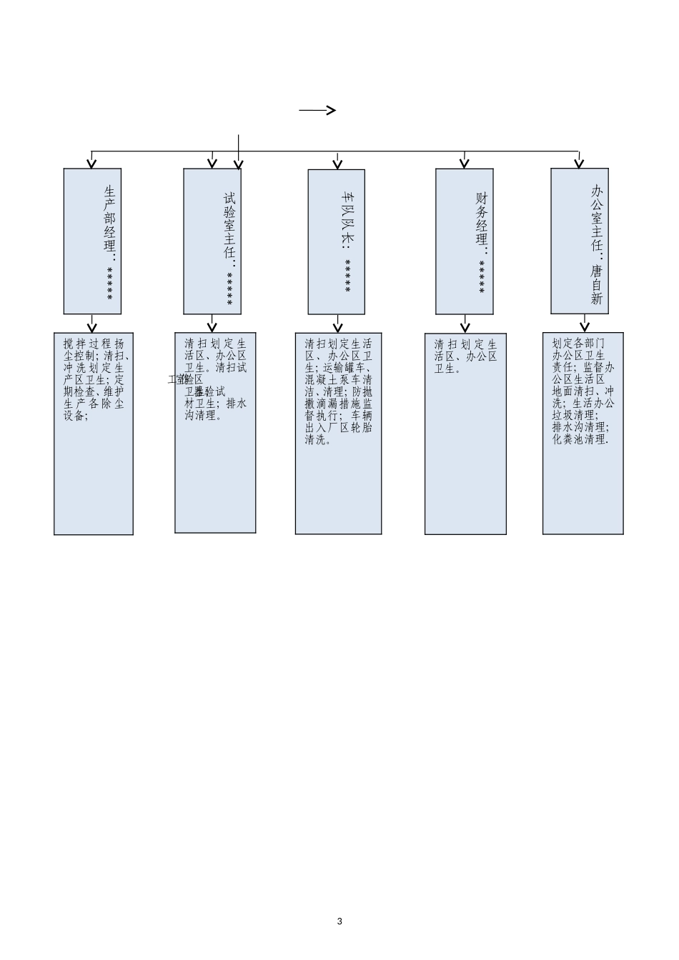
1*******************有限公司扬尘治理方案编制人:审核人:审批人:2扬尘治理方案一、总则(1)公司必须认真贯彻执行国家和地方在环境保护方面的方针、政策和法令。(2)扬尘治理工作的任务执行“预防为主,防治结合,以管促治,讲求实效”的方针,确保在生产作业过程中,合理地利用各种资源,防治扬尘污染。(3)防治扬尘污染,要做到技术上可行,经济上合理,充分挖掘内部潜力,少花钱,多办事,办实事。(4)各种生产装置及各作业环节,必须选用无污染或减少污染的工艺,技术。要先搞好综合利用,用现有设施防治扬尘污染,积极采取治理措施。(5)任何领导和个人,都有保护环境的义务,并有权对污染环境的行为进行制止、批评和检举。二、基础管理(1)公司成立专门“扬尘防治”领导小组。高度重视环保工作、切实把扬尘防治工作列入工作日程,认真学习有关环保工作的方针、政策和标准,正确指挥、协调、监督、检查有关扬尘防治工作。公司“扬尘防治”领导小组根据生产的具体特点,制定相应的制度,划分责任区,落实责任人,实行责任管理。扬尘整治管理小组一、扬尘整治管理小组机构组成根据公司管理机构分解图,制定扬尘整治管理小组人员名单如下:组长:*****副组长:**********组员:*************************扬尘治理管理小组机构图组长:*****副组长:**********组织各组员负责人学习最新的政策、方针。扬尘治理方案编制、执行、监督;定期对扬尘治理方案执行情况检查;负责督促各部门整改,执行奖罚。3生产部经理:*****办公室主任:唐自新试验室主任:*****车队队长:*****财务经理:*****搅拌过程扬尘控制;清扫、冲洗划定生产区卫生;定期检查、维护生产各除尘设备;清扫划定生活区、办公区卫生。清扫试验室工作区卫生;试验器材卫生;排水沟清理。清扫划定生活区、办公区卫生;运输罐车、混凝土泵车清洁、清理;防抛撒滴漏措施监督执行;车辆出入厂区轮胎清洗。清扫划定生活区、办公区卫生。划定各部门办公区卫生责任;监督办公区生活区地面清扫、冲洗;生活办公垃圾清理;排水沟清理;化粪池清理.4二、扬尘治理管理小组职责1、小组组长负责组织小组组员学习各级政府、部门学习最新政策、方针,各专项措施或制度要科学,符合国家规定要求,具有可操作性,积极配合政府部门开展工作;负责扬尘治理方案的编制、执行、监督,检查措施或制度在运行中存在的问题,进行修改、补充、完善;副组长负责定期组织全体组员对扬尘治理方案的执行情况检查,督促各部门进行整改,执行奖罚。2、生产部经理负责生产过程扬尘控制;清扫、冲洗划定生产现场整体卫生;定期检查、维护生产各除尘设备;3、试验室主任负责部门清扫划定生活区、办公区卫生。试验器材卫生;排水沟清理,整顿。4、车队队长负责清扫划定生活区、办公区卫生;运输罐车、混凝土泵车清洁、清理;防抛撒滴漏措施监督执行;全厂车辆出入厂区轮胎清洗。5、财务经理负责清扫划定生活区、办公区卫生。6、办公室主任负责划定各部门办公区卫生责任;监督办公区生活区地面清扫、冲洗;生活办公垃圾清理;排水沟、化粪池清理;监督清洁工生产区域内洒扫工作,保持厂区清洁。三、具体要求1)公司“扬尘防治”领导小组根据生产的具体特点,制定相应的环保制度或措施,划分责任区,落实责任人,实行责任管理,并在责任区内设立责任标识。2)生产部、车队加强生产技术管理,杜绝跑、冒、滴、漏现象,制止乱排乱放、乱丢乱弃。搞好技术革新,开展综合利用,最大限度地利用各种资源和能源,把“三废”消除或减少在规定要求以内。53)生产或生活排放的废水,分别处理,污水循环使用。各种污油和含有毒有害物质的废水,须罐装后集中处理,不得随便排放。严禁将任何未经处理的废水直接排入附近水系。4)各种垃圾或废料,须集中定点存放,按照相关法规定期统一处理,严禁乱倾乱倒。遗落地面的混凝土,须及时清理,并存至定点场地,废渣、废水(或其胶结物)亦须定点存放、统一处理。5)水泥罐体除尘设备及时维护维修,防止水泥扬尘飞散。勤检查水泥及粉煤灰输送状态,各处软链接处的密封状况,杜绝跑、冒现象。6)切实用好管好现有的环保...

1、当您付费下载文档后,您只拥有了使用权限,并不意味着购买了版权,文档只能用于自身使用,不得用于其他商业用途(如 [转卖]进行直接盈利或[编辑后售卖]进行间接盈利)。
2、本站所有内容均由合作方或网友上传,本站不对文档的完整性、权威性及其观点立场正确性做任何保证或承诺!文档内容仅供研究参考,付费前请自行鉴别。
3、如文档内容存在违规,或者侵犯商业秘密、侵犯著作权等,请点击“违规举报”。

碎片内容

混凝土公司扬尘治理方案

您可能关注的文档

确认删除?
VIP
微信客服
  • 扫码咨询
会员Q群
  • 会员专属群点击这里加入QQ群
客服邮箱
回到顶部