电脑桌面
添加小米粒文库到电脑桌面
安装后可以在桌面快捷访问

药剂科工作流程VIP专享VIP免费

药剂科工作流程_第1页
1/24
药剂科工作流程_第2页
2/24
药剂科工作流程_第3页
3/24
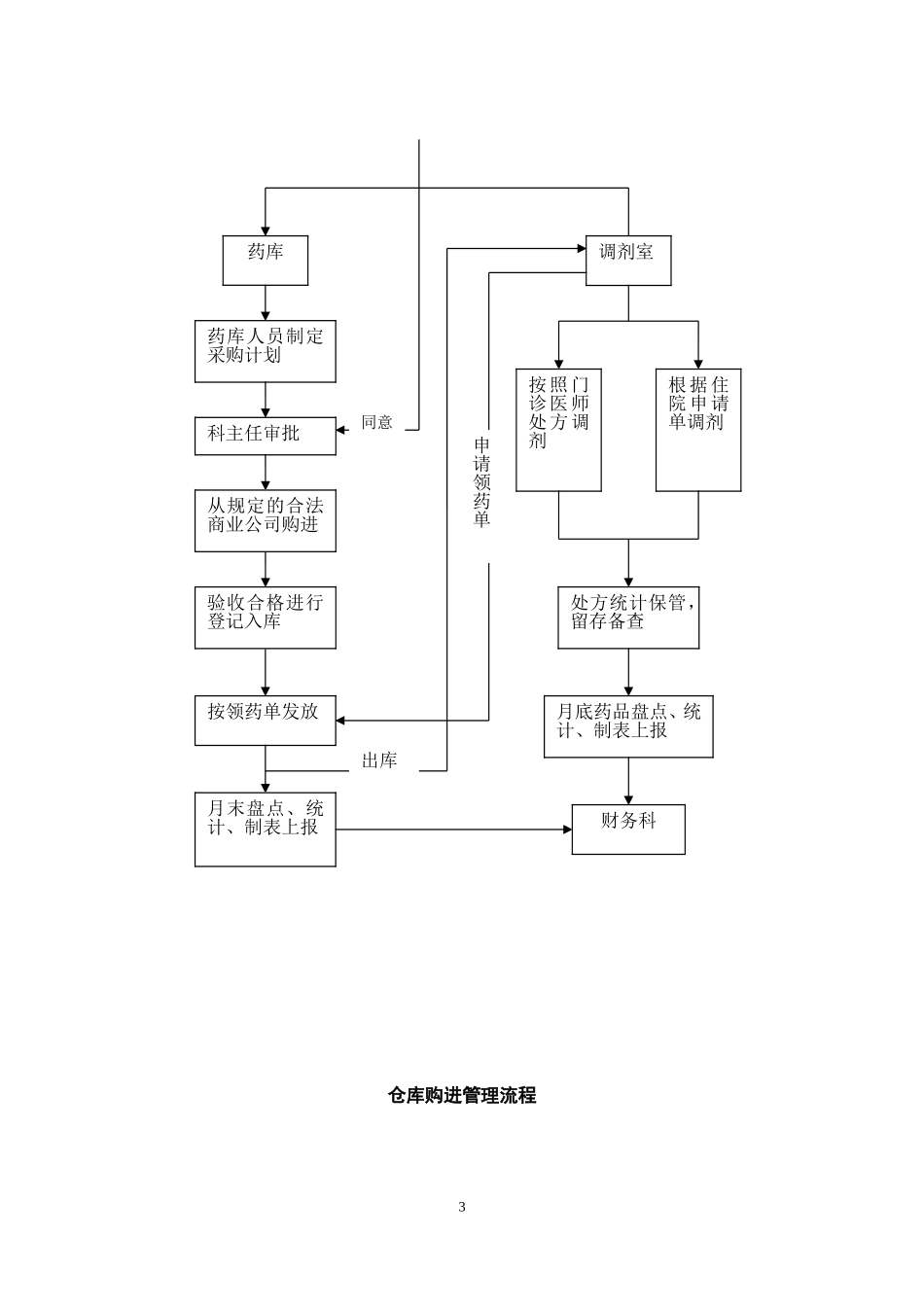
门诊药房操作流程1收方、接收发药检查处方(逐项检查处方诊断、正文和脚注书写是否清晰、完整,并确认处方的合法性)审核用药适宜性(药品与诊断是否相符、剂量用法是否准确、剂型和用药途径是否合理、是否重复给药、有无配伍禁忌、有无其他用药不适宜的情况。)合格处方不合格处方经医师修改后重新审核调配处方(根据处方内容细心、准确调配并签名)复核发药(严格执行四查十对制度,并核对处方与微机保证准确无误、进行用药交代和指导,并签字)对处方进行统计,留存备查。月底进行盘点、统计,报表上报财务科住院药房调剂工作流程审核无误药房管理流程2按照院领导部署安排制定工作计划,监督实施。登录住院药房住院医嘱发药系统调剂人员按照领药单药名、规格、数量调配发药,调配结束后在发药单上签字选择刚发药的单据,并打印汇总领药单接病区发药申请选择需要发药的单据号,点击发药选择需要退药的单据号,点击退药选择刚退药的单据,并打印汇总退药单接病区退药申请送药人员将药品连同领药单一起送至病房,并与取药护士仔细核对领药单与药品名称规格数量,核对无误后双方再领药单上签字,并将领药单带回药房留存备查接到退药的调剂人员按照退药单仔细核对所退药名、规格、数量、批号、效期,并检查药品外观,确认没有问题后给予退药,并在退药单上签字备查选择需要发药的单据号,并进行审核:注射剂不允许出院带药,出院带药一般以七日量为宜,特殊病人适当延长接出院带药发药申请发药并打印出院带药领药单仓库购进管理流程3药库同意药库人员制定采购计划科主任审批从规定的合法商业公司购进验收合格进行登记入库按领药单发放月末盘点、统计、制表上报调剂室按照门诊医师处方调剂根据住院申请单调剂处方统计保管,留存备查月底药品盘点、统计、制表上报财务科申请领药单出库药品,医疗耗材,试剂入库验收流程4供货单位首营企业收集资料,审查其经营资格、质量信誉和履行合同能力,填写《首营企业审批表》审核后质量负责人审批。建立合格供货方档案合格供货方销售人员资格审查:1、委托授权书2、身份证复印件3、上岗证书复印件首营品种1、生产批件或新药证书2、质量标准或检验方法3、包装、标签、说明书实样4、药品检验报告单5、价格批文填写《首营品种审批表》,质量负责人审批。进口药品索取加盖供方质管机构原印章的《进品药品注册证》或《医药产品注册证》和《进口药品检验报告单》或《进口药品通关单》其他合格经营品种签订合同或质量保证协议进货登记购进记录制定采购计划,主管领导审核5做好药品存储、养护出库验收5购进物品待验区合格不符合要求存放区冷库阴凉库药品医疗耗材定位存放不合格拒收退货不合格区退货区常温库药品,医疗耗材,试剂出库流程6合格区仓管员凭出库凭证发货发货区复核员依凭证对实物的数量、项目和质量进行复核数量、项目有误正确无误质量合格仓管员重发更正正确质量可疑复查合格不合格暂停发货发货员、复核员签字,做好复核记录配送入不合格区药害事件报告、处理流程患者服用假药、劣药或者调剂错误药品导致人身伤害的处置流程7药害事件立即救治药剂科科室主任医务科应急领导小组卫生局、药监局组织协调救治药学技术服务8接到患者投诉因调剂错误假劣药品有关专家认定及时汇报科主任是上报分管院长总结经验,吸取教训向患者做耐心解释,查找其他原因根据患者损害情况进行治疗赔偿采购人员存在问题组织有关人员调查分析原因视情节轻重终止合同,赔偿损失对当事人按有关制度作出处理引起中毒或其他严重损害引起不良反应或其他轻微损害及时调换并积极与临床配合进行救治调剂人员存在问题上报药监局或卫生部门医药公司的原因否药品,医疗耗材,试剂近效期效期及滞销管理流程9仓库,各科室管理人员每月对有效期统计登记,汇报后报科主任进效期及滞销药品,医疗耗材,试剂汇总情况告知药械科效期在6个月以上的药品效期在4-6个月之间的药品效期在3个月以内的药品继续使用提出预警,告知供货单位重点预警,与供货单位协商与公司协商,更换新批号与各药房联系,汇总数量各公司均无现货,医院必用的品种与公司协商是否用到效期前,剩余由公司处理公司有新...

1、当您付费下载文档后,您只拥有了使用权限,并不意味着购买了版权,文档只能用于自身使用,不得用于其他商业用途(如 [转卖]进行直接盈利或[编辑后售卖]进行间接盈利)。
2、本站所有内容均由合作方或网友上传,本站不对文档的完整性、权威性及其观点立场正确性做任何保证或承诺!文档内容仅供研究参考,付费前请自行鉴别。
3、如文档内容存在违规,或者侵犯商业秘密、侵犯著作权等,请点击“违规举报”。

碎片内容

药剂科工作流程

确认删除?
VIP
微信客服
  • 扫码咨询
会员Q群
  • 会员专属群点击这里加入QQ群
客服邮箱
回到顶部