电脑桌面
添加小米粒文库到电脑桌面
安装后可以在桌面快捷访问

卸料平台监理实施细则文档良心出品VIP免费

卸料平台监理实施细则文档良心出品_第1页
1/12
卸料平台监理实施细则文档良心出品_第2页
2/12
卸料平台监理实施细则文档良心出品_第3页
3/12
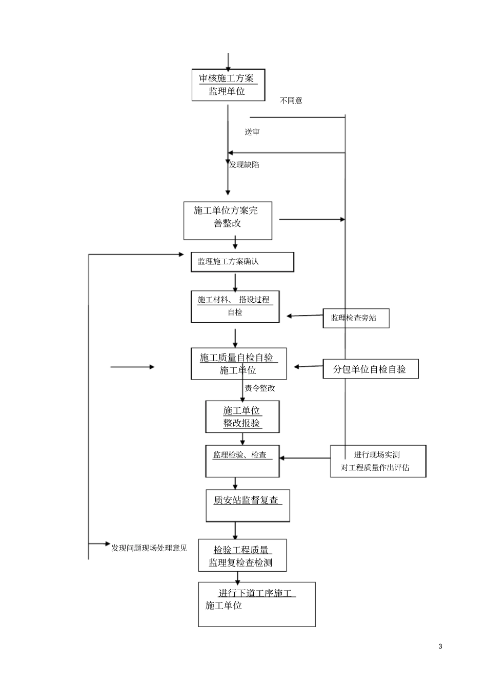
卸料平台施工安全监理实施细则目录一、编制依据二、适用范围三、监理工作流程四、监理工作的目标五、监理工作内容5.1 审核卸料平台施工方案及设备、材料检验检测5.2 、监理旁站的内容及要求5.3 、审查卸料平台支撑体系统每m2施工总苻载量 . 或集中线苻载量(支撑理论计算书)5.4 、卸料平台搭设监理控制要点5.4.1 、原材料的质量控制5.4.2 、卸料平台监理工作:5.4.3 、卸料平台搭设和使用期间的监理检查内容:5.4.4 、卸料平台拆除阶段的监理工作:5.4.5 、卸料平台搭设施工过程质量检验记录5.4.6 、卸料平台工程安全监理控制方法:5.4.7 、卸料平台的安全管理:六、监理人员现场安全、质量检查、旁站表6.1 监理旁站记录表6.2 监理单位卸料平台检查表6.3 危险性较大工程巡视检查记录2 一、编制依据1、《中华人民共和国建筑法》 ;2、《中华人民共和国安全生产法》3、《建设工程安全生产管理条例》 (国务院令第 393 号);4、中华人民共和国工程建设标准强制性条文房屋建筑(施工)部分第九篇施工安全部分;5、《建筑结构荷载规范》 GB50009 6、《建筑施工扣件式钢管脚手架安全技术规范》JGJ130 7、《建筑施工安全检查标准》JGJ59-99 8、《混凝土结构工程施工质量验收规范》 (GB50204-2002)9、《建筑工程安全管理条例》10、《建筑施工高处作业安全技术规范》JGJ80-91. 11、已批准的本工程监理规划12、已审核批准的本工程施工组织设计13、《危险性较大的分部分项工程安全管理办法》二、适用范围本细则特为金科· 中央公园城工程项目工程所编。该工程由重庆盛源建设(集团)有限公司、重庆海博建设有限公司承建。本细则适用卸料平台搭设、使用、拆除。三、监理工作流程卸料平台施工质量监理控制程序图施工专项方案送审3 不同意送审发现缺陷责令整改发现问题现场处理意见审核施工方案监理单位施工材料、 搭设过程自检施工单位整改报验施工单位方案完善整改施工质量自检自验施工单位分包单位自检自验进行现场实测对工程质量作出评估进行下道工序施工施工单位监理检验、检查监理施工方案确认监理检查旁站质安站监督复查检验工程质量监理复检查检测4 四、监理工作的目标根据“建设工程委托监理合同” (编号 : ZH10-J-005 )监理工作目标为 : 4.1 工程质量目标要求 : 全部工程的施工质量必须达到施工合同的质量要求;4.2 工程施工进度要求:工程的施工进度必须达到施工合同中的工期要求;4.3 工程投资控制...

1、当您付费下载文档后,您只拥有了使用权限,并不意味着购买了版权,文档只能用于自身使用,不得用于其他商业用途(如 [转卖]进行直接盈利或[编辑后售卖]进行间接盈利)。
2、本站所有内容均由合作方或网友上传,本站不对文档的完整性、权威性及其观点立场正确性做任何保证或承诺!文档内容仅供研究参考,付费前请自行鉴别。
3、如文档内容存在违规,或者侵犯商业秘密、侵犯著作权等,请点击“违规举报”。

碎片内容

卸料平台监理实施细则文档良心出品

您可能关注的文档

确认删除?
VIP
微信客服
  • 扫码咨询
会员Q群
  • 会员专属群点击这里加入QQ群
客服邮箱
回到顶部