电脑桌面
添加小米粒文库到电脑桌面
安装后可以在桌面快捷访问

地下室工程监理实施细则VIP免费

地下室工程监理实施细则_第1页
1/17
地下室工程监理实施细则_第2页
2/17
地下室工程监理实施细则_第3页
3/17
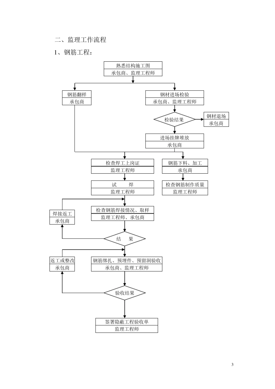
1 ±0 .0 0 0 以下地下室工程监理实施细则 一、 工程特点 1、本工程基础垫层为 200 厚块石密排,100 厚 C15 素砼垫层。 2、本工程地下室共有二层,建筑面积大,砼体量较大;周围施 工场地小,材料堆放困难。 3、本工程为支护桩围护,支护桩至地下二层底板边,有部分侧墙板外面距支护桩仅 400m m ,如 1/01 轴,今后地下二层外墙刷防水层困难。 4 、 本 工 程 底 板 厚 度 为 600m m , 承 台 、 剪 力 墙 基 础 砼 厚1600-1900m m ,属大体积砼,要相应采取大体积砼施工措施。 5、地下室砼强度等级及抗渗要求。 构件名称 部 位 砼强度等级 抗渗要求 垫层 地下二层、底板、承台 C15 桩承台 地 梁 底 板 地下二层 防水密实性砼 0.8MPa C40 水池墙板 地下二层 防水密实性砼 0.8MPa C40 外墙板 地下二层 防水密实性砼 0.8MPa C40 其余承重结构 剪力墙、内侧墙、柱子、梁、楼板、楼梯、汽车坡道 地下二层 地下一层 C40 2 6、底板厚度:地下二层 600mm 7、楼板厚度:地下一层 250mm 300mm 一层±0.000 200mm 250mm 8、本工程施工顺序: 块石密排 素砼垫层 底板定位放线 地梁、底板、 胎膜砌筑 钢筋绑扎,同时柱子、墙板插筋,安装止水钢板 承台、剪力墙、地梁、 底板、外墙板上翻300mm浇捣砼养护 外侧墙、水池侧墙上翻 300支模 地下二层结构放线 楼梯支模 绑扎柱子、剪力墙、 内侧墙楼梯钢筋 柱子、剪力墙、 内侧墙立模 柱子、剪力墙、内侧 墙、楼梯浇捣砼养护 绑扎外墙板钢筋至地下一层楼面 上 300,安装止水钢板 外墙板、地下一层 楼面板、梁支模 外墙板、梁、楼板 浇捣砼养护 楼梯支模 绑扎柱子、剪力墙 内侧墙板楼梯钢筋 柱子、剪力墙、 内侧墙板立模 柱子、剪力墙、内侧墙板、楼梯浇捣砼养护 外墙板±0.000~0.600 楼面板、梁支模 外墙板、梁、楼板 浇捣砼养护 地下一层结构放线 绑扎楼面板、梁钢筋 3 二、监理工作流程 1 、钢筋工程: 熟悉结构施工图 承包商、监理工程师 钢筋翻样 承包商 钢材进场检验 承包商、监理工程师 检验结果 钢材退场 承包商 进场挂牌堆放 承包商 检查焊工上岗证 监理工程师 钢筋下料、加工 承包商 检查钢筋制作质量 监理工程师 试 焊 监理工程师 检查钢筋焊接情况、取样 监理工程师、承包商 结 果 焊接返工 承包商 钢筋绑扎、预埋件、预留洞验收 承包商...

1、当您付费下载文档后,您只拥有了使用权限,并不意味着购买了版权,文档只能用于自身使用,不得用于其他商业用途(如 [转卖]进行直接盈利或[编辑后售卖]进行间接盈利)。
2、本站所有内容均由合作方或网友上传,本站不对文档的完整性、权威性及其观点立场正确性做任何保证或承诺!文档内容仅供研究参考,付费前请自行鉴别。
3、如文档内容存在违规,或者侵犯商业秘密、侵犯著作权等,请点击“违规举报”。

碎片内容

地下室工程监理实施细则

您可能关注的文档

确认删除?
VIP
微信客服
  • 扫码咨询
会员Q群
  • 会员专属群点击这里加入QQ群
客服邮箱
回到顶部