电脑桌面
添加小米粒文库到电脑桌面
安装后可以在桌面快捷访问

球墨铸铁管试压方案VIP免费

球墨铸铁管试压方案_第1页
1/10
球墨铸铁管试压方案_第2页
2/10
球墨铸铁管试压方案_第3页
3/10
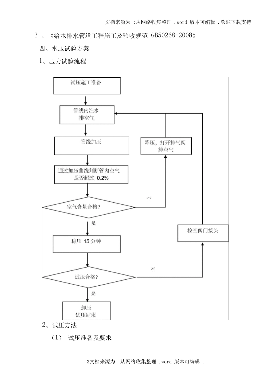
文档来源为 :从网络收集整理 .word 版本可编辑 .欢迎下载支持 1文档来源为 :从网络收集整理 .word 版本可编辑 . ******* 工程西区水源置换工程(二标段) 管道试压专项施工方案 编制: 审核: 审批: ******* 工程西区水源置换工程(二标段) 管道试压方案 一、工程概况 ******* 工程西区水源置换工程(二标段) ,管道全长 8505m; 管材为球墨铸铁管,管道直径为 DN1000mm 及 DN800m,m 承插接口。 二、各试压段试验压力划分: 桩号 长度 工作压力 试验压力 1、 A00+00~A12+00 1196m 1.5Mpa 2.0Mpa 2、 A12+00~A24+02 1198m 1.5Mpa 2.0Mpa 3、 A24+02~A34+30 1030m 1.5Mpa 2.0Mpa 4、 A34+30~A41+00 680m 1.3Mpa 1.8Mpa 5、 A41+00~A48+20 720m 1.3Mpa 1.8Mpa 6、 A48+20~新 B04+01 1221m 1.3Mpa 1.8Mpa 7、 新 B04+01~新 B12+12 812m 1.1Mpa 1.6Mpa 8、 新 B12+12~新 B20+00 878m 1.1Mpa 1.6Mpa 9、 新 B20+00~新 B27+70 770m 0.9Mpa 1.4Mpa 三、 编制依据 1、 ******* 工程西区水源置换工程( 二标段) 施工图纸 文档来源为 :从网络收集整理 .word 版本可编辑 .欢迎下载支持 2文档来源为 :从网络收集整理 .word 版本可编辑 . 2 、设计变更 文档来源为 :从网络收集整理 .word 版本可编辑 .欢迎下载支持 3文档来源为 :从网络收集整理 .word 版本可编辑 . 3 、《给水排水管道工程施工及验收规范 GB50268-2008》 四、水压试验方案 1、压力试验流程 2、试压方法 (1) 试压准备及要求 文档来源为 :从网络收集整理 .word 版本可编辑 .欢迎下载支持 4文档来源为 :从网络收集整理 .word 版本可编辑 . 1 )水压试验设备、仪表 ① 采用弹簧压力计时,精度不低于 1.5 级,最大量程宜为试验 压力的 1.3 ~1.5 倍,表壳的公称直径不宜小于 150mm,使用前经校 正并具有符合规定的检定证书。 ② 水泵、压力计应安装在试验段的两端部与管道轴线相垂直的 支管上。 2 )水压试验前准备工作 ① 试验管段所有敞口封闭,无渗漏水现象。 ② 试验管段不用闸阀做堵板,无消火栓、水锤消除器、安全阀 等附件。 ③ 水压试验前清除管道内的杂物。 ④ 水源准备从附近水田深井中抽出地下水。 ⑤ 后背采用厚度 5cm 的钢板。 3 )浸泡时间 试验管段注满水后,在不大于工作压力条件下充分浸泡后再进 ...

1、当您付费下载文档后,您只拥有了使用权限,并不意味着购买了版权,文档只能用于自身使用,不得用于其他商业用途(如 [转卖]进行直接盈利或[编辑后售卖]进行间接盈利)。
2、本站所有内容均由合作方或网友上传,本站不对文档的完整性、权威性及其观点立场正确性做任何保证或承诺!文档内容仅供研究参考,付费前请自行鉴别。
3、如文档内容存在违规,或者侵犯商业秘密、侵犯著作权等,请点击“违规举报”。

碎片内容

球墨铸铁管试压方案

确认删除?
VIP
微信客服
  • 扫码咨询
会员Q群
  • 会员专属群点击这里加入QQ群
客服邮箱
回到顶部