输液流程图护士核对药品数量、质量,无误后签字,收齐当天用药后连同治疗单一起交给配药护士配药↓配药护士严格执行核对制度及无菌技术操作...
1. 预算编审与批复流程图2.预算执行与分析流程图3.预算追加调节一上财政部门审核部门预算建议数一下经同意后向部门下达预算控制限额部门编...
生产运行流程图客户销售部生产部(管理)生产部(制造)仓库采购部 不合格合格订单评审开始物料清单成品入库生产计划订货需求销售订单销售...
新集镇卫生院医疗纠纷事件应急预案流程图
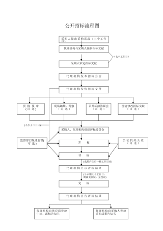
(成果产生后一种工作日内)(公示期七个工作日,期满无质疑、无投诉) 公开招标流程图代理机构与采购人编制招标文献代 理 机 构 发 布 ...
正常经营商户撤场流程图附件:撤场申请书、售后服务承诺、撤场告知单、撤场验收单、承租人身份证复印件、承租人指定退款帐号承租人提出撤场...
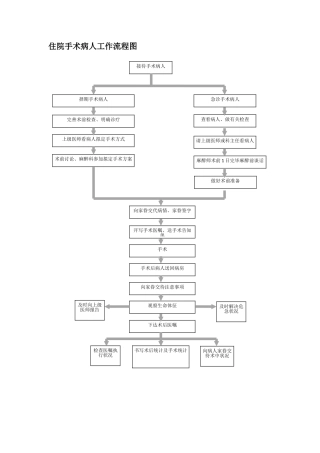
住院手术病人工作流程图术前讨论、麻醉科参加拟定手术方案上级医师看病人拟定手术方式完善术前检查、明确诊疗择期手术病人接待手术病人急诊...
施工实施阶段实验资料施工准备阶段资料水泥出厂合格证(含 28 天补强报告),砖、砌块出厂合格证,钢 筋 出 厂 合 格证,防水材料出...
Credit Control procedure chartApply for new customer’s credit term and limit Amend old customer’s credit term an...
家得乐超市蔬果采购、验收、结算流程示意图(试行)蔬果营业课巡视卖场及库房填写补货单一式两份,并将补货单送至收货信息处采购员到收货处...
项目环保流程图总体管理思路:施工前项目部明确环保责任,制订目的和方法;施工过程中加强环保宣传、教育,提高环保意识,并定时进行检查、...
电力事故抢修工作流程图
挂篮施工流程图挂篮前移进行下一循环砼养生强度至 85% 以上制作砼试块编制钢筋束挂篮前移就位预压并调节挂篮模板钢筋束吊装及绑扎立 模...
投标工作流程图 项目评定决策准备报名材料投标报名投标人投标资格审查,提供有关文献资料参加踏勘现场获取招标信息购领招标文献和有关资料...
基本建设项目审批流程图 市规划局土地出让合同、核发土地证土地储藏交易中心进行土地交易市人防办人防工程费市 财 政局 缴 纳契税规 ...
审计工作程序和流程图 (试 行) 为了进一步规范审计工作程序,控制审计工作质量,根据《审计署关于内部审计工作的规定》、《中央企业内...
建厂流程 工厂建设项目主要细分为以下阶段和步骤,需要说明的是,其中不少步骤往往是同步进行的,项目成功的关键因素之一就是项目管理和协...
- - - word.zl- 炼钢工艺流程 1 炼钢厂简介 炼钢厂主要将铁水冶炼成钢水,再经连铸机浇铸成合格铸坯。现有 5 座转炉,5台连铸机,...
目录一.急性胸痛的分诊流程二. 针对不同来院途径 STEMI 患者的救治流程图三. STEMI 先诊治后收费流程图四.急性胸痛患者就诊床位安排...
教学过程结构流程图的设计 一、教学过程结构流程图的概念 教学过程结构流程图是教学设计方案的组成部分和图示。 教学过程结构流程图是近...

