消防工程施工工艺流程根据固定灭火和报警的要求,为充分地体现消防应以“预防为主,防治结合”的原则。本工程在自动报警和自动灭火的配合上...
利安建工集团LASLAQ–2024-A01安全生产管理文件汇编(第三分册:消防安全操作规程)受控状态:受控状态: 受 控 受 控 版 本 号:版...
第三章重构一体化流程工业时代的企业通过制造、采购、库存、营销和研发等专业化分工获得竞争优势,但久而久之,最大限度的专业化分工又导致...
活动策划执行流程项目接洽项目接洽流程策划方案项目策划流程项目筹备项目执行执行总结人员分组物料准备现场台本活动策划宣传策划预算物料申...
(五)沥青面层的铺筑1、材料要求沥青:各项指标应符合重交通道路石油沥技术要求。矿料:应进行视密度、含水量、筛分、浸水性等指标测定。...
业务流程图汇总沃顿咨询——与您共建伟大公司ERP 总流程图
悬架系统开发流程---布置部分目标设定 BENCHMARK在此主要是分析竞争车型的底盘布置。底盘布置首先要确定出轮胎、悬架形式、转向系统、发动...
销售核心业务流程销售核心业务流程4.1 集客活动4.1.1 概述销售的首要环节就是集客,即经销商寻找和吸引潜在顾客的过程,没有这个步骤展厅...
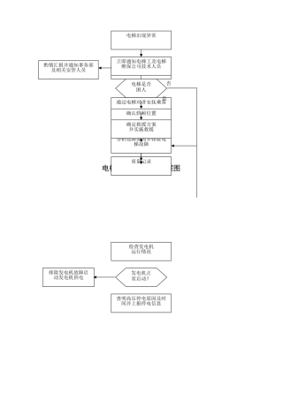
施工工艺一、电管敷设二、电管敷设的工艺流程:具体的质量要求:1.每层电线管预埋必须与土建主体结构施工密切配合,现浇砼楼板的在底层敷设...
武鸣县房地产管理所简介武鸣县房地产管理所成立于 1984 年 10 月,隶属于武鸣县规划建设局。是武鸣县政府授权管理武鸣县房地产业的政府...
日常工作流程一、客户接待在销售前应准备的物品(计算器,笔,预算单,证书,第三者见证等)厨柜的销售从展厅接待正式开始。(一)迎接客户...
测试工作流程法律规范版本记录:文件状态:[√] 初稿[ ] 正在修改[ ] 正式发布当前版本:V1.0作 者:完成日期:XXXX-XX-XX签 收 人...
楼梯大理石施工工艺流程工程名称施工部位施工单位日 期内容提要:楼梯大理石铺设工程的相关材料、机具准备、质量要求及施工工艺。一、材料...
1、目的为对检验、测量装置进行有效的控制,确保其测量精度和准确性,制定本程序。2、围本程序适用于公司所有为保证产品符合规定要求的检验...
检验科危险值报告制度、程序与流程图一、“危险值”报告制度1、“危险值”是指当这种检验结果出现时,表明患者可能正处于有生命危险的边缘...
第一部分:产品外观检验标准1.缺陷分类定义1.1 严重缺陷(Critical,代号C)对人身安全造成损害或存在有安全隐患;1.2 主要缺陷( Ma...
桩基施工方案+CAD 工艺流程图1、 工程概况:1.1 工程特点:株洲市体育中心位于株洲市天元区,北临滨江北路,隔湘江与石峰公园相望,南靠长...
一、 钻孔灌注桩施工工艺流程图施工准备验 孔埋设护筒测量定位清 孔成 孔钻 孔钻机就位护筒准备测量孔深钢筋实验制备泥浆二、 系梁(...
目 录 0.1 颁布令……………………………………………………………3 0.2 公司简介…………………………………………………………4 0....
转] 转 Protaper 根管预备操作流程 [图片] Protaper 根管预备操作流程Edited by 小二 Dentsply GZ 一、开髓和修整髓腔 二、探...

