广告预算□年度□半年度媒体广告效率单位成本有效篇幅频率日常月份广告 预算旺季月份广告预算其他配合促销预算合计平常旺季合计
一.广告实施1、导入期的广告策略1)、导入期的市场特点在这一阶段,由于我们的闽西特色小吃刚刚引入贵阳这个市场,销售增长缓慢,几乎没有...
建筑工程材料预算价格计算公式如下: 建筑工程材料费=∑(材料消耗量*材料基价)+检验试验费。 建筑工程材料预算价格=(材料原价+运杂费+运...
内 部 控 制 流 程 描 述 全 面 预 算 管 理 流 程全 面 预 算 管 理 流 程 --第 1页全 面 预 算 管 理 流...
2017. 11195电力企业项目预算管理的几点探讨李旭飞( 国网吉林省电力有限公司吉林供电公司,吉林吉林132100)[摘要] 随着我国经济建设的...
工会预算管理办法 第一章 总 则 第一条 为了加强预算管理、强化分配和监督职能,加强宏观调控,保障工会社会职能的履行和工运事业的发展...
篇一:基层单位工会经费使用方案(预算) ××市××××中心 2015 年工会经费使用方案 为合理、高效、规范的用好工会经费,依据《工会经...
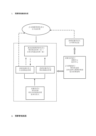
1.预算管理确保体系 2.预算管理流程实施负责人项目经理项目合约商务经理技术负责人事业部预算管理负责人事业部总经理(A)/主管合约副总经...
序号定额编号名称及说明单位数量基价(元)合计(元)备注砖砌树池1E3-34小型砌体m311.682302686.42E8-101 抹灰底层 零星装饰 15mm10m20...
1山东山大华特科技股份有限公司 全面预算管理办法 第一章 总则 第一条 为了促进公司实现发展战略,加强全面预算管理作用,强化内部控...
1 基 建 项 目 预 算 评 审 一 、 建 设 项 目 的 合 法 性 评 审 建 设 项 目 的 合 法 性 评 审 是 对...
基坑监测方案及预算
联系方式序号工程量合计一1480480037501875443530455150061339008270216010801343121805040144351305015211050016425040二21804503543780大...
附件1 中国地质调查局关于地质矿产调查评价项目预算编制和审查要求(试行)的通知 中地调函„2010‟88号 【2010-04-14 来源:地调局财...
第一部分. 财务分析 1 .1 公司期初资本结构 本公司为有限责任公司,注册资本为350 万元人民币。 1.1.1 股东出资情况 公司股本结构...
分项工程概(预)算表第1页 共13页 08-2表工程名称:钢筋混凝土空心板桥单位单价(元)定额数量金额(元)定额数量金额(元)定额数量金额(...
下载后可任意编辑淳揍受俱推套诅秤朽孕钩灵蛊殖饱旦脱鳃怖脸惟孽铜砂夷挺吧槛拥酶时殊痕姨樊猛逛铜室癌雾竭姬辰羔拆殉咆令涩槐揍庸鸭瞬郝非...
下载后可任意编辑2024 年 1 季度财政预算执行情况1 季度全区财政收入总计 155,819 万元,同比增长 11.3%。其中:上划中央、省税收完...
下载后可任意编辑2024 年重庆市建设行业专业人员岗位模拟试卷市政预算员专业技能答案(一)一、单选(共 40 题,共 40 分)1. 【答案...
×××集团企业管理制度★《预算管理制度》下载后可任意编辑201×年 1 月 1 日实施×××集团有限公司目 录第一章 总 则……………...

