精品文档---下载后可任意编辑CB1 和 FABP4 在乙肝纤维化、肝硬化和肝细胞肝癌的表达及意义的开题报告一、讨论背景和意义乙肝是一种常见...
精品文档---下载后可任意编辑anti--Ku86 在乙肝相关性肝癌中表达水平的讨论的开题报告背景:乙型肝炎病毒(HBV)感染是导致乙型肝炎和相关...
精品文档---下载后可任意编辑146 例慢性乙肝患者中医证型与实验室指标的相关性及方药特点的讨论的开题报告题目:146 例慢性乙肝患者中医...
1乙型肝炎的中医辨证论治及其预防与忌宜肝炎,是由肝炎病毒所引起的一种常见的传染性疾病,是国家法定的乙类传染病之一。一、肝炎的分型肝...
健康教育知识讲座XXXX第(x)期xxx村卫生室XXXX年 XX月 XX日健康教育知识讲座计划为了让广大居民群众学习防治乙肝相关知识,有效控制乙肝传...
2 0 0 7 年美国肝病学会关于慢性乙肝的临床实践指南 2007 年 2 月美国 HEPATOLOGY 杂志发表了美国肝脏病学会关于慢性乙肝的临床...
预防艾滋病、梅毒和乙肝母婴传播工作实施方案为提高医院医务人员对预防艾滋病、梅毒和乙肝母婴传播的认识,为孕产妇提供预防艾滋病、梅毒和...
xx 乡 2018 年预防艾滋病、梅毒和乙肝母婴传播工作实施方案为提高人群对预防艾滋病、梅毒和乙肝母婴传播的认识,为孕产妇提供预防艾滋病...
乙肝大三阳肝功能正常到底要不要治大三阳肝功能正常患者一般是不需要进行治疗的,郑州中大中医肝病医院医生表示,因为目前还没有一种药物能...
不花一分钱可治愈乙肝和肝硬化腹水不花一分钱可治愈乙肝和肝硬化腹水特别提示:乙肝和肝硬化腹水被认为是无法治愈的绝症,很多年前,本博主...
2021 年**区预防艾滋病、梅毒和乙肝母婴传播项目工作督导与质量控制实施方案2021 年**区预防艾滋病、梅毒和乙肝母婴传播项目工作督导与质...
乙型肝炎的中医辨证论治及其预防与忌宜肝炎,是由肝炎病毒所引起的一种常见的传染性疾病,是国家法定的乙类传染病之一。一、肝炎的分型肝炎...
2018 AASLD 慢乙肝指南(一):乙型肝炎的筛查、阻断及监测导读:2018 年美国肝病学会(AASLD)的乙型肝炎指南旨在补充 2016 年 AASLD...
译者:张克译者单位:解放军第四二一医院感染内科翻译起始时间:2017-4-25,7:12翻译结束时间:2017-5-4,16:00EASL在线颁布时间:2017年3...
预防艾滋病、梅毒和乙肝母婴传播工作实施方案( 2015 年版)为进一步规范预防艾滋病、梅毒和乙肝母婴传播工作,全面落实预防艾滋病、梅毒...
下载后可任意编辑医患慢性乙肝康复计划协议书(精选多篇) 第一篇:医患协议书 医患协议书 甲方:邵大夫精神病癫痫病诊所,(黄崾岘村卫生...
下载后可任意编辑乙肝跟慢性肝炎的区别乙肝跟慢性肝炎的区别 乙肝和慢性肝炎是一种病症,关于这两种病症你了解多少?他们的区别和联系又包...
下载后可任意编辑乙肝抗病毒注意事项 [乙肝正规抗病毒治疗注意事项(下)]乙肝抗病毒注意事项 [乙肝正规抗病毒治疗注意事项(下)] 目前...
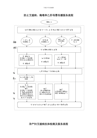
下载后可任意编辑防止艾滋病、梅毒和乙肝母婴传播服务流程孕产妇艾滋病抗体检测及服务流程下载后可任意编辑 确认实验、CD4T 淋巴细胞计数...
下载后可任意编辑预防艾滋病梅毒和乙肝母婴传播工作实施方案12024 年 4 月 19 日下载后可任意编辑预防艾滋病、梅毒和乙肝母婴传播工作...

